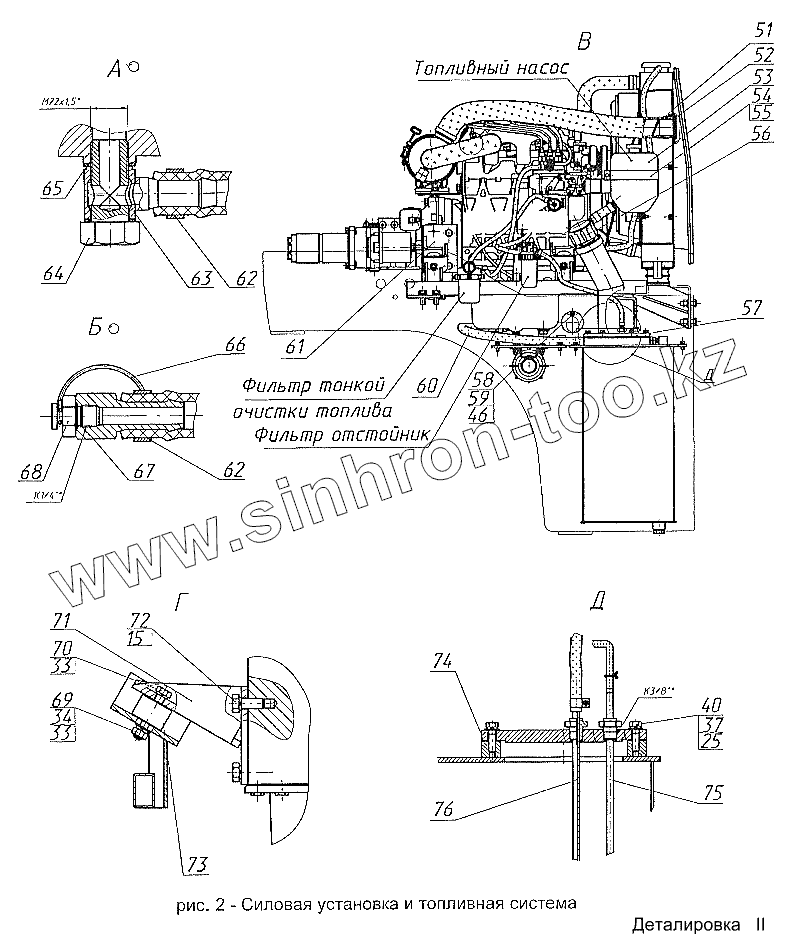
Каталог запасных частей к технике: Раскат ДУ-82. Силовая установка и топливная система
15
25
33
33
34
37
40
46
51
52
53
54
55
56
57
58
59
60
61
62
62
63
64
65
66
67
68
69
70
71
72
73
74
75
76
| Позиция на иллюстрации | Заводской номер детали | Название детали | |
|---|---|---|---|
| 15 | [Шайба 12.65Г.0121 ГОСТ6402] | Шайба 12.65Г.0121 ГОСТ6402 | |
| 25 | [Шайба 8.65Г.0121 ГОСТ6402] | Шайба 8.65Г.0121 ГОСТ6402 | |
| 33 | [Шайба 10.65Г.0121 ГОСТ6402] | Шайба 10.65Г.0121 ГОСТ6402 | |
| 34 | [Шайба А10.02 Ст3.0121 ГОСТ11371] | Шайба А10.02 Ст3.0121 ГОСТ11371 | |
| 37 | [Шайба А8.02.Ст3.0121 ГОСТ11371] | Шайба А8.02.Ст3.0121 ГОСТ11371 | |
| 40 | [Болт М8-8gх30.58.019 ГОСТ7798] | Болт М8-8gх30.58.019 ГОСТ7798 | |
| 46 | [Шайба 6.65Г.0121 ГОСТ6402] | Шайба 6.65Г.0121 ГОСТ6402 | |
| 51 | [Хомут АВА NОVА 58-75] | Хомут АВА NОVА 58-75 | |
| 52 | ДУ-82.320.635 | Втулка | |
| 53 | [Бачок расширительный 2101-1311014] | Бачок расширительный 2101-1311014 | |
| 54 | ДУ-82.320.690 | Кронштейн | |
| 55 | [Пластина 2Н-1-МБС-С-2 ГОСТ7338 (L=28х500)] | Пластина 2Н-1-МБС-С-2 ГОСТ7338 (L=28х500) | |
| 56 | [Горловина заливная ТМ178 G150] | Горловина заливная ТМ178 G150 | |
| 57 | ДУ-82.320.760 | Крышка | |
| 58 | ДУ-82.320.636 | Крышка | |
| 59 | [Болт М6-8gх16.58.019 ГОСТ7798] | Болт М6-8gх16.58.019 ГОСТ7798 | |
| 60 | [Рукав 16х25-1,6 ГОСТ10362 (L=1300мм)] | Рукав 16х25-1,6 ГОСТ10362 (L=1300мм) | |
| 61 | ДУ-82.320.710 | Опора передняя | |
| 62 | [Хомут АВА NОVА 19-28] | Хомут АВА NОVА 19-28 | |
| 63 | ДМ-56.03.070-02 | Угольник | |
| 64 | ДМ-55.05.014 | Болт | |
| 65 | ДУ-52.01.03.308 | Прокладка | |
| 66 | ДУ-58А.01.26.010 | Трос (L=270мм) | |
| 67 | ДМ-56.04.008 | Ниппель | |
| 68 | ДМ-56.12.005 | Пробка | |
| 69 | [Гайка М10-7Н.5.019 ГОСТ5927] | Гайка М10-7Н.5.019 ГОСТ5927 | |
| 70 | [Болт М10-8gх20.58.019 ГОСТ7798] | Болт М10-8gх20.58.019 ГОСТ7798 | |
| 71 | ДУ-82.320.720 | Опора задняя левая | |
| 72 | ДМ-20.01.004-05 | Болт | |
| 73 | [Подушка виброгасящая ТFGВ 40/30 М10/23] | Подушка виброгасящая ТFGВ 40/30 М10/23 | |
| 74 | ДУ-64.202.006 | Прокладка | |
| 75 | ДМ-56.13.140-04 | Трубопровод | |
| 76 | ДМ-56.13.140-01 | Трубопровод |
Содержащиеся в справочниках-каталогах запасные части и детали не предлагаются к продаже, а носят исключительно информационный характер