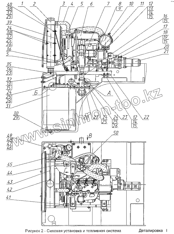
Каталог запасных частей к технике: Раскат ДУ-82. Силовая установка и топливная система
1
2
3
4
5
5
6
7
8
9
10
11
12
12
13
13
14
14
15
15
15
15
15
16
17
18
19
20
21
22
23
24
24
24
24
25
25
25
25
25
26
26
26
27
28
29
30
31
32
33
34
35
36
37
37
38
38
39
40
41
42
43
44
45
46
47
48
49
50
| Позиция на иллюстрации | Заводской номер детали | Название детали | |
|---|---|---|---|
| 1 | ДУ-82.320.632 | Диффузор | |
| 2 | [Радиатор (блок) РВ-КМ ДУ-82-1 ТУ РБ 100046135.006] | Радиатор (блок) РВ-КМ ДУ-82-1 ТУ РБ 100046135.006 | |
| 3 | ДУ-82.320.631 | Диффузор | |
| 4 | ДУ-82.320.634 | Патрубок | |
| 5 | [Хомут АВА NОVА 38-50] | Хомут АВА NОVА 38-50 | |
| 6 | [Двигатель КUВОТА 01703-Е2В-ЕU-Х3] | Двигатель КUВОТА 01703-Е2В-ЕU-Х3 | |
| 7 | ДУ-82.320.740 | Патрубок | |
| 8 | ДМ-20.01.004-05 | Болт | |
| 9 | [Шайба 12.65Г.0121 ГОСТ6402] | Шайба 12.65Г.0121 ГОСТ6402 | |
| 10 | [Фильтр воздушный сухой 17298-11003] | Фильтр воздушный сухой 17298-11003 | |
| 11 | ДУ-82.320.633 | Кронштейн | |
| 12 | [Болт М12-8gх35.58.019 ГОСТ7798] | Болт М12-8gх35.58.019 ГОСТ7798 | |
| 13 | [Гайка М12-7Н.5.019 ГОСТ5927] | Гайка М12-7Н.5.019 ГОСТ5927 | |
| 14 | [Шайба А12.02.Ст3.0121 ГОСТ11371] | Шайба А12.02.Ст3.0121 ГОСТ11371 | |
| 15 | [Шайба 12.65Г.0121 ГОСТ6402] | Шайба 12.65Г.0121 ГОСТ6402 | |
| 16 | ДМ-20.01.004-07 | Болт | |
| 17 | ДУ-82.320.710-01 | Опора передняя | |
| 18 | ДМ-20.01.004-08 | Болт | |
| 19 | [Шайба А14.02.СтЗ.0121 ГОСТ11371] | Шайба А14.02.СтЗ.0121 ГОСТ11371 | |
| 20 | [Насос М4 РV28-28К 2 35А R3 ВVY1] | Насос М4 РV28-28К 2 35А R3 ВVY1 | |
| 21 | [Насос SМLРО/В 217+208 S] | Насос SМLРО/В 217+208 S | |
| 22 | ДУ-82.320.610 | Рама подмоторная | |
| 23 | ДУ-82.320.750 | Патрубок | |
| 24 | [Болт М8-8gх20.58.019 ГОСТ7798] | Болт М8-8gх20.58.019 ГОСТ7798 | |
| 25 | [Шайба 8.65Г.0121 ГОСТ6402] | Шайба 8.65Г.0121 ГОСТ6402 | |
| 26 | [Шайба А8.02.Ст3.0121 ГОСТ6958] | Шайба А8.02.Ст3.0121 ГОСТ6958 | |
| 27 | ДУ-82.320.637 | Прокладка | |
| 28 | ДУ-82.320.640 | Установка глушителя | |
| 29 | ДМ-56.12.015 | Пробка | |
| 30 | [Кольцо 018-022-25-2-2 ГОСТ18829] | Кольцо 018-022-25-2-2 ГОСТ18829 | |
| 31 | ДУ-82.320.630 | Бак топливный | |
| 32 | [Болт М12-8gх40.58.019 ГОСТ7798] | Болт М12-8gх40.58.019 ГОСТ7798 | |
| 33 | [Шайба 10.65Г.0121 ГОСТ6402] | Шайба 10.65Г.0121 ГОСТ6402 | |
| 34 | [Шайба А10.02 Ст3.0121 ГОСТ11371] | Шайба А10.02 Ст3.0121 ГОСТ11371 | |
| 35 | ДМ-14.01.001-01 | Гайка | |
| 36 | ДУ-82.320.634-01 | Патрубок | |
| 37 | [Шайба А8.02.Ст3.0121 ГОСТ11371] | Шайба А8.02.Ст3.0121 ГОСТ11371 | |
| 38 | [Гайка М8-7Н.5.019 ГОСТ5927] | Гайка М8-7Н.5.019 ГОСТ5927 | |
| 39 | ДУ-82.320.680 | Тяга | |
| 40 | [Болт М8-8gх30.58.019 ГОСТ7798] | Болт М8-8gх30.58.019 ГОСТ7798 | |
| 41 | ДУ-82.320.730 | Опора задняя правая | |
| 42 | [Хомут АВА NОVА 11-17] | Хомут АВА NОVА 11-17 | |
| 43 | [Рукав 8х15,5-1,0 ГОСТ10362 (L=1100мм)] | Рукав 8х15,5-1,0 ГОСТ10362 (L=1100мм) | |
| 44 | ДУ-82.320.680-01 | Тяга | |
| 45 | [Рукав 50х61,55-1,0 ГОСТ10362 (L=850мм)] | Рукав 50х61,55-1,0 ГОСТ10362 (L=850мм) | |
| 46 | [Шайба 6.65Г.0121 ГОСТ6402] | Шайба 6.65Г.0121 ГОСТ6402 | |
| 47 | [Шайба А.6.02 Ст3.0121 ГОСТ11371] | Шайба А.6.02 Ст3.0121 ГОСТ11371 | |
| 48 | [Гайка М6-7Н.5.019 ГОСТ5927] | Гайка М6-7Н.5.019 ГОСТ5927 | |
| 49 | [Болт М6-8gх25.58.019 ГОСТ7798] | Болт М6-8gх25.58.019 ГОСТ7798 | |
| 50 | ДУ-52.08.00.073-06 | Пружина |
Содержащиеся в справочниках-каталогах запасные части и детали не предлагаются к продаже, а носят исключительно информационный характер