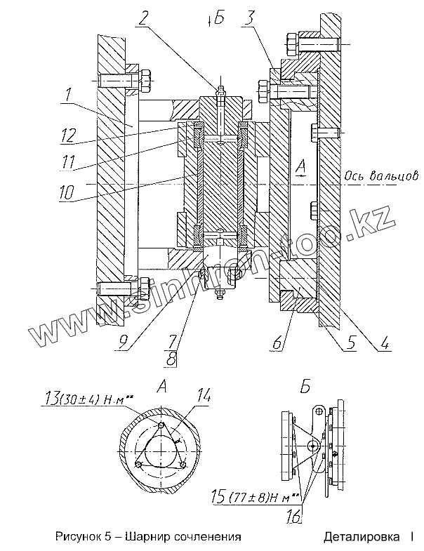
Каталог запасных частей к технике: Раскат ДУ-82. Шарнир сочленения ДУ-82.328.100
1
2
3
4
5
6
7
8
9
10
11
12
13
14
15
16
| Позиция на иллюстрации | Заводской номер детали | Название детали | |
|---|---|---|---|
| 1 | ДУ-82.328.030 | Опора | |
| 2 | [Масленка 1.2.Ц6 ГОСТ19853] | Масленка 1.2.Ц6 ГОСТ19853 | |
| 3 | ДУ-82.328.040 | Опора | |
| 4 | ДУ-96.262.034 | Диск | |
| 5 | ДУ-82.328.006 | Кольцо | |
| 6 | ДУ-82.328.005 | Кольцо | |
| 7 | ДМ-14.02.001-03 | Гайка | |
| 8 | ДМ-20.00.001 | Шайба | |
| 9 | ДУ-82.328.026 | Палец | |
| 10 | ДУ-82.328.032 | Труба | |
| 11 | [Подшипник ШС40К ГОСТ3635] | Подшипник ШС40К ГОСТ3635 | |
| 12 | ДМ-55.11.208 | Кольцо | |
| 13 | ДМ-20.01.001-06 | Болт | |
| 14 | [Проволока 2,0-0-С ГОСТ3882 (L=460мм)] | Проволока 2,0-0-С ГОСТ3882 (L=460мм) | |
| 15 | [Болт М16-8gх50.58.019 ГОСТ7798] | Болт М16-8gх50.58.019 ГОСТ7798 | |
| 16 | [Шайба 16.65Г.0121 ГОСТ6402] | Шайба 16.65Г.0121 ГОСТ6402 |
Содержащиеся в справочниках-каталогах запасные части и детали не предлагаются к продаже, а носят исключительно информационный характер