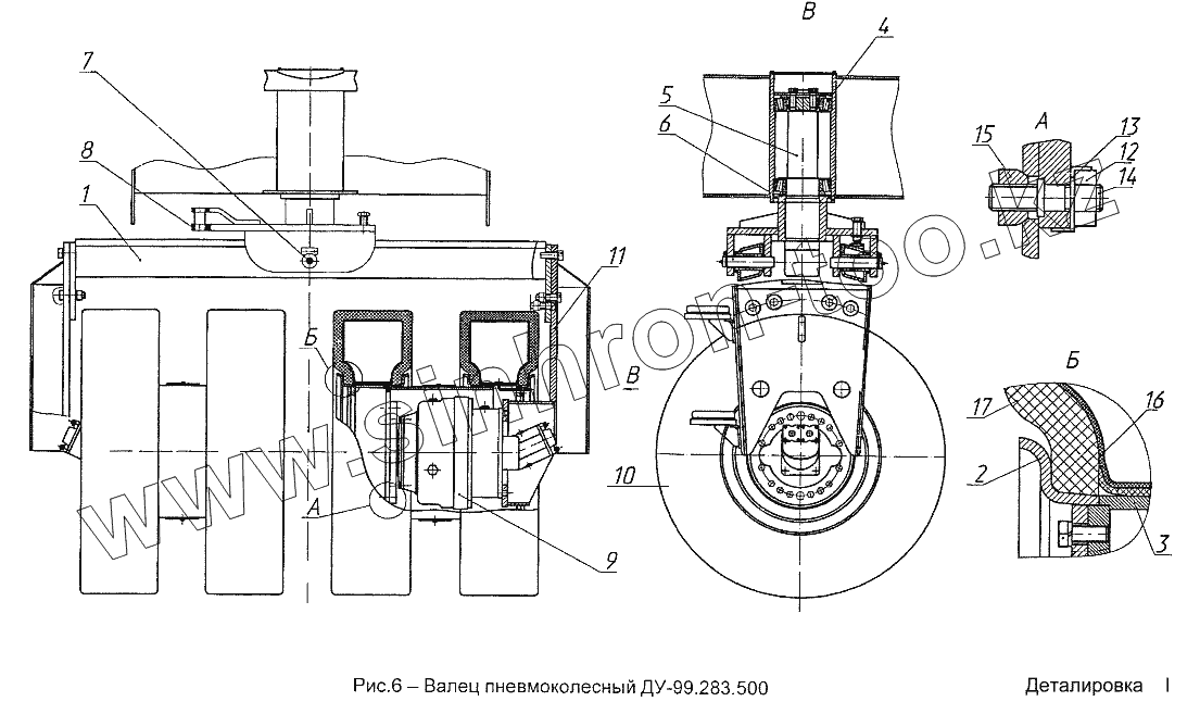
Каталог запасных частей к технике: Раскат ДУ-100. Валец пневмоколесный ДУ-99.283.500
1
2
3
4
5
6
7
8
9
10
11
12
13
14
15
16
17
| Позиция на иллюстрации | Заводской номер детали | Название детали | |
|---|---|---|---|
| 1 | ДУ-99.283.510 | Вилка | |
| 2 | ДУ-64.141.120 | Обод | |
| 3 | ДУ-99.283.550 | Обод | |
| 4 | [Подшипник 7524А ГОСТ27365] | Подшипник 7524А ГОСТ27365 | |
| 5 | ДУ-63.103.124 | Шкворень | |
| 6 | ДУ-48А-02-70 | Крышка | |
| 7 | Д-484-07-13 | Оседержатель | |
| 8 | ДУ-99.283.540 | Рычаг | |
| 9 | ДМ-31.01.000-09 | Редуктор планетарный | |
| 10 | [Шина пневмоколесная 11.00-20 мод.213 ТУ 38404-29-79-92] | Шина пневмоколесная 11.00-20 мод.213 ТУ 38404-29-79-92 | |
| 11 | ДУ-99.283.530 | Опора | |
| 12 | ДМ-14.03.001-10 | Гайка | |
| 13 | ДУ-58.03.11.202 | Шайба | |
| 14 | ДУ-52.02.01.108 | Шпилька | |
| 15 | ДУ-52.02.00.001 | Гайка | |
| 16 | [Камера 300-508 ГОСТ8430-85] | Камера 300-508 ГОСТ8430-85 | |
| 17 | [Лента ободная ГОСТ8430-85] | Лента ободная ГОСТ8430-85 |
Содержащиеся в справочниках-каталогах запасные части и детали не предлагаются к продаже, а носят исключительно информационный характер