Вернуться на главную
Поиск
Каталоги запчастей к технике
Спецтехника
Раскат
ДУ-100
Механизм обработки кромки асфальтобетона ДУ-98.294.000
Каталог запасных частей к технике: Раскат ДУ-100. Механизм обработки кромки асфальтобетона ДУ-98.294.000
zoom-in
zoom-out
enlarge
shrink
circle-right
circle-left
file-text2
info
cart
Тип техники
Не выбрано
Легковые автомобили
Грузовые автомобили и прицепы
Автобусы
Сельхозтехника
Спецтехника
Двигатели
Мототехника
Марка
Не выбрано
Ammann
BOMAG
CARMIX
CASE IH
Changlin
ChengGong
Dimex
Doosan
DYNAPAC
Foton
HAMM
Hidromek
Hitachi
Hyundai
JCB
JLG
John Deere
Komatsu
LIEBHERR
LiuGong
Lonking (LongGong)
Luneng
MANITOU
Mitsuber
New Holland
PENGPU
RM-Terex
SANY
SDLG
SEM
Shantui
Shehwa HBXG
Soosan
TIGARBO
VOGELE
Volvo
WAY
WIRTGEN
XCMG
XGMA
Xiamen
YTO
Yuchai
Zoomlion
Автокран
АЗСМ
Алтайлесмаш
Амкодор
АОМЗ
Атек
АТЗ
Балканкар Рекорд
БелАЗ
Беловеж
Борекс
Брянский Арсенал
Булат
ВЭКС
ГАЗ
Геомаш
Гидромаш
Донекс
Дормаш
Дормашина
Дорэлектромаш
ДЭЗ
ЕлАЗ
ЗЗГТ
Ижнефтемаш
Канаш-электрокар
КЗКТ
ККЗ
Клевер
Клинцовский автокрановый завод
КМЗ
КМЗ 1 Мая
Ковровец
Коммаш
Кранэкс
КЭЗ
КЭМЗ
ЛЗА
МАЗ
МЗИК
МЗКМ
МЗКТ
Михневский РМЗ
МоАЗ
Мозырский МЗ
МТЗ
ОЗП
Онежец
ПАО "ТЗА"
ППС Детва
Промтрактор
ПТЗ
Раскат
СпецАгрегат
ТВЭКС
ТТМ
УВЗ
Угличмаш
УЗТМ
ХТЗ
ЧЗКМ
ЧСДМ
ЧТЗ
ЭКСКО
ЭКСМАШ
ЮрМаш
Модель
Не выбрано
RV-1.5 (1.7/2.0/2.2/2.4)-DD-01 (2010)
ДУ-100 (2003)
ДУ-101 (2003)
ДУ-47Б
ДУ-48Б
ДУ-82 (2005)
ДУ-84 (2005)
ДУ-85 (2005)
ДУ-94 (2005)
ДУ-96 (2006)
ДУ-97 (2005)
ДУ-98 (2003)
ДУ-98, 99, 100 (доп.) (2007)
ДУ-99 (2003)
Схема
>
Не выбрано
Силовая установка катков ДУ-98 и ДУ-99 ДУ-98.124.800
Силовая установка катков ДУ-98 и ДУ-99 ДУ-98.124.800 (деталировка)
Силовая установка катка ДУ-100 ДУ-100.344.000
Силовая установка катка ДУ-100 ДУ-100.344.000 (деталировка)
Планетарный редуктор ДМ31.05.000-08
Планетарный редуктор ДМ31.05.000-08 (деталировка)
Планетарный редуктор ДМ31.05.000-08 (деталировка)
Планетарный редуктор ДМ31.05.000-08 (деталировка)
Планетарный редуктор ДМ31.05.000-08 (деталировка)
Водило ДМ30.00.050
Водило ДМ30.00.050 (деталировка)
Раздаточный редуктор ДУ-84.122.900-01
Раздаточный редуктор ДУ-84.122.900-01 (деталировка)
Раздаточный редуктор ДУ-84.122.900-01 (деталировка)
Раздаточный редуктор ДУ-84.122.900-01 (деталировка)
Муфта упругая
Муфта упругая (деталировка)
Валец пневмоколесный ДУ-99.283.500
Валец пневмоколесный ДУ-99.283.500 (деталировка)
Валец вибрационный ДУ-98.283.000-04
Валец вибрационный ДУ-98.283.000-04 (деталировка)
Валец вибрационный ДУ-98.283.000-04 (деталировка)
Вибратор ДУ-98.283.200
Вибратор ДУ-98.283.200 (деталировка)
Вибратор ДУ-98.283.200 (деталировка)
Гидроцилиндр ДМ-70.004.100
Гидроцилиндр ДМ-70.004.100 (деталировка)
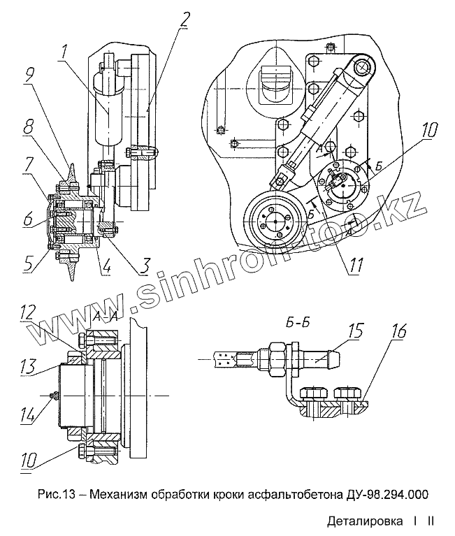
Механизм обработки кромки асфальтобетона ДУ-98.294.000
Механизм обработки кромки асфальтобетона ДУ-98.294.000 (деталировка)
Механизм обработки кромки асфальтобетона ДУ-98.294.000 (деталировка)
Скребки и смачивающая система катка
Скребки и смачивающая система катка
Скребки и смачивающая система катка
Скребки и смачивающая система катка
Скребки и смачивающая система катка (деталировка)
Скребки и смачивающая система катка (деталировка)
Скребки и смачивающая система катка (деталировка)
Каток ДУ-98
Каток ДУ-99
Каток ДУ-100
1
2
3
4
5
6
7
8
9
10
10
11
12
13
14
15
16
Позиция на иллюстрации
Заводской номер детали
Название детали
1
ДМ-70.004.000-02
Гидроцилиндр
2
ДУ-98.294.150
Опора
3
ДУ-98.294.009
Ось
4
ДУ-98.294.039
Кольцо
5
[Подшипник 60214 ГОСТ7242]
Подшипник 60214 ГОСТ7242
6
ДУ-98.294.014
Втулка
7
ДУ-98.294.001
Крышка
8
ДУ-98.294.038
Корпус
9
ДУ-98.294.044
Диск отрезной
10
ДУ-96.274.011
Стакан
11
ДУ-98.294.043
Рычаг
12
ДМ-30.00.037
Шайба
13
ДМ-30.00.094
Гайка
14
[Масленка 1.2.Ц6 ГОСТ19853]
Масленка 1.2.Ц6 ГОСТ19853
15
ДМ-56.04.001
Ниппель
16
ДУ-98.294.019
Кронштейн
Содержащиеся в справочниках-каталогах запасные части и детали не предлагаются к продаже, а носят исключительно информационный характер
Дополнительная информация
×
Название:
Номер:
Примечание: