Каталог запасных частей к технике: ПТЗ К-703МА-12 / К-703М-12. Рулевая колонка (Данфосс)
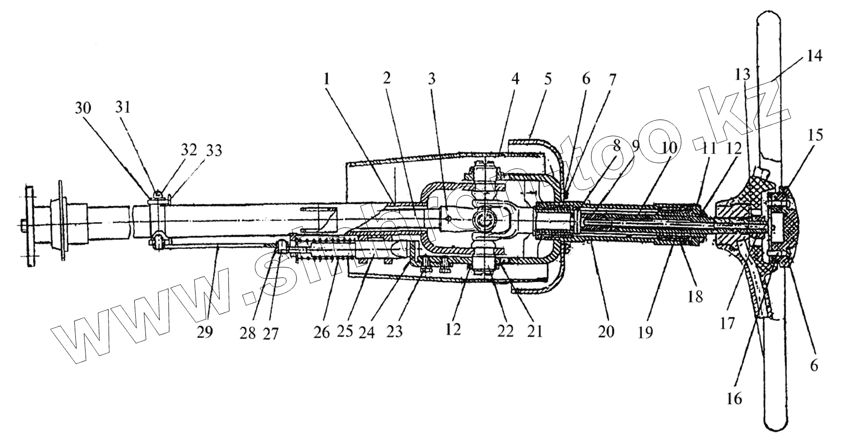
1
2
3
4
5
6
6
7
8
9
10
11
12
12
13
14
15
16
17
18
19
20
21
22
23
24
25
26
27
28
29
30
31
32
33
| Позиция на иллюстрации | Заводской номер детали | Название детали | |
|---|---|---|---|
| 1 | 2765020-3401030 | Колонка | |
| 2 | 2765020-3401001 | Вал | |
| 3 | 744Р-3401090 | Вал | |
| 4 | 2256010-3401035 | Кожух | |
| 5 | 2256010-3401027 | Колпак | |
| 6 | 6.65Г | Шайба | |
| 7 | ВинтМ6х12 | Винт | |
| 8 | 2256010-3401029 | Штифт | |
| 9 | 2256010-3401033 | Стопор | |
| 10 | 744Р-3401011 | Вал | |
| 11 | 744Р-3401012 | Гайка | |
| 12 | 700А.3401021 | Гайка | |
| 13 | 744Р-3401100 | Стержень | |
| 14 | 66-3402015-02 | Колесо рулевое ТУ 6-19-262-84 | |
| 15 | 744Р-3400007 | Маховик | |
| 16 | ВинтМ6х25 | Винт | |
| 17 | ГайкаМ16 | Гайка | |
| 18 | 2256010-3401022 | Втулка | |
| 19 | 2256010-3401021 | Амортизатор | |
| 20 | 744Р-3401080 | Вилка | |
| 21 | 700А.3401022 | Шайба стопорная | |
| 22 | 700А.3401019 | Ось | |
| 23 | М8х16 | Болт | |
| 24 | 744Р-3401060 | Сектор | |
| 25 | 700А.3401015 | Стопор | |
| 26 | 700А.3401014 | Пружина | |
| 27 | 6-8х16 | Ось | |
| 28 | 2х14 | Шплинт | |
| 29 | 744Р-3401002 | Тяга | |
| 30 | 10.01 | Шайба | |
| 31 | 2,5х16 | Шплинт | |
| 32 | 6-10х65 | Ось | |
| 33 | 700А.3401070 | Педаль |
Содержащиеся в справочниках-каталогах запасные части и детали не предлагаются к продаже, а носят исключительно информационный характер