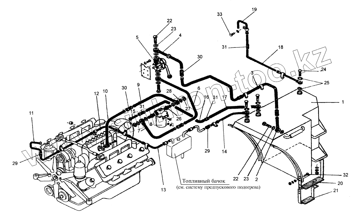
Каталог запасных частей к технике: ПТЗ К-702МВА-УДМ2. Система питания
1
2
3
4
5
6
7
8
9
10
11
12
13
14
15
16
17
18
19
20
21
22
22
23
23
24
25
26
27
28
29
29
30
30
31
31
31
32
33
| Позиция на иллюстрации | Заводской номер детали | Название детали | |
|---|---|---|---|
| 1 | 2765010-1101000 | Бак топливный | |
| 2 | 700А.1104090-12 | Труба | |
| 3 | 2765010-1100011-07 | Труба | |
| 4 | 2256010-1100010 | Труба | |
| 5 | РНМ-01ТУ | Насос РНМ-1К | |
| 6 | 2765010-1100090 | Труба | |
| 7 | 2765010-1100080 | Труба | |
| 8 | Фильтр | Фильтр грубой очистки | |
| 9 | 2765010-1100070 | Труба | |
| 10 | 700А.1104090-09 | Труба | |
| 11 | 700А.1104130 | Труба | |
| 12 | 700А.1104029-08 | Труба | |
| 13 | 2765015-1100014 | Труба | |
| 14 | 2765015-1100040 | Труба | |
| 15 | 2765010-1100060 | Труба | |
| 16 | 2765010-1100013-02 | Труба | |
| 17 | 2765015-1100050 | Труба | |
| 18 | 2765010-1100030-01 | Труба | |
| 19 | 2765015-1100015-01 | Труба | |
| 20 | 700А.1100140 | Ступенька | |
| 21 | 700А.11.00.150 | Подножка нижняя | |
| 22 | 700.1100038 | Болт зажимной | |
| 23 | 20А5М-1,5 | Прокладка | |
| 24 | 700А.1100039 | Болт зажимной | |
| 25 | 12А5М-1,5 | Прокладка | |
| 26 | 700.1100044 | Штуцер | |
| 27 | 700.1100045 | Гайка глухая | |
| 28 | 16А5М-1,5 | Прокладка | |
| 29 | 10х17,5-1,5 | Рукав | |
| 30 | 12х20-1,6 | Рукав | |
| 31 | 8х16,5-1,6 | Рукав | |
| 32 | М10х30 | Болт | |
| 33 | М8х20 | Болт |
Содержащиеся в справочниках-каталогах запасные части и детали не предлагаются к продаже, а носят исключительно информационный характер