Каталог запасных частей к технике: ПТЗ К-702МВА-УДМ2. Система охлаждения двигателя
1
2
3
3
3
3
3
3
4
4
4
4
4
5
5
5
6
6
6
7
8
9
10
11
12
13
14
15
16
17
18
19
20
21
22
23
24
25
26
27
27
28
29
30
31
32
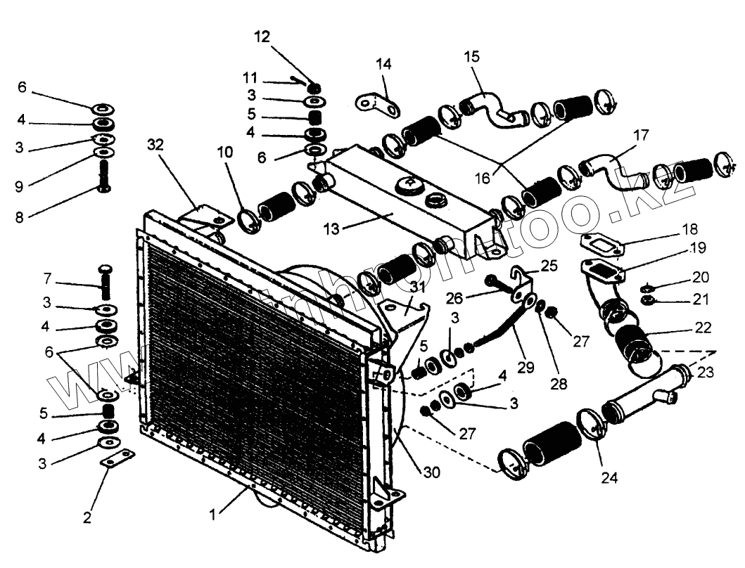
| Позиция на иллюстрации | Заводской номер детали | Название детали | |
|---|---|---|---|
| 1 | 700.1301000-3 | Радиатор | |
| 2 | 700.1300016 | Планка | |
| 3 | 700.1300027 | Шайба | |
| 4 | 700.1300028 | Кольцо | |
| 5 | 700.1300029-1 | Втулка | |
| 6 | 700.1300027-1 | Шайба | |
| 7 | 3М12х55 | Болт | |
| 8 | 2М12х45 | Болт | |
| 9 | 700.1300031-2 | Шайба | |
| 10 | NormaTorro40-60/9DIN3017 | Хомут | |
| 11 | Шплинт3,2х32-019 | Шплинт | |
| 12 | ГайкаМ12 | Гайка | |
| 13 | 700А.1300010-1 | Бак расширительный | |
| 14 | 700.1300058 | Угольник | |
| 15 | 700.1303060 | Труба | |
| 16 | 700.1300011 | Шланг | |
| 17 | 700.1303024 | Труба | |
| 18 | 744Р1-1300016 | Прокладка | |
| 19 | 744Р1-1300130 | Патрубок | |
| 20 | 10.65Г | Шайба | |
| 21 | 700.6804054 | Гайка | |
| 22 | 701.1303047 | Трубка | |
| 23 | 2765020-1500140 | Труба | |
| 24 | NormaTorro70-90/9DIN3017 | Хомут | |
| 25 | 700А.1300046 | Угольник | |
| 26 | М12х30 | Болт | |
| 27 | М12 | Гайка | |
| 28 | 12.65Г.05 | Шайба | |
| 29 | 700.1300180 | Стяжка | |
| 30 | 700.1309000-2 | Кожух вентилятора | |
| 31 | 700.1300051 | Кронштейн | |
| 32 | 700.1300049 | Кронштейн |
Содержащиеся в справочниках-каталогах запасные части и детали не предлагаются к продаже, а носят исключительно информационный характер