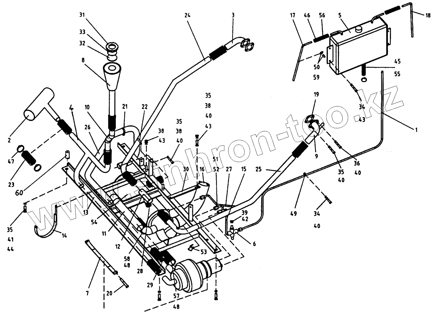
Каталог запасных частей к технике: ПТЗ К-702МВА-УДМ2. Система обогрева двигателя
1
2
3
4
5
6
7
8
9
10
11
12
13
14
15
16
17
18
19
20
21
22
23
24
25
26
27
28
29
30
31
32
33
34
34
35
35
35
35
36
38
38
38
39
40
40
40
40
40
41
42
43
43
43
44
45
46
47
48
48
49
50
51
52
53
54
55
56
57
58
59
60
| Позиция на иллюстрации | Заводской номер детали | Название детали | |
|---|---|---|---|
| 1 | 2765020-1500030 | Труба | |
| 2 | 702МВ-1500230 | Труба | |
| 3 | 2765020-1500210 | Патрубок | |
| 4 | 2765020-1500220 | Труба | |
| 5 | 2765020-1124000-5 | Бачок топливный | |
| 6 | 700.1500070-2 | Кран | |
| 7 | 700.1500110 | Лента | |
| 8 | 700.1504210-3 | Горловина заливная | |
| 9 | 700.1504310 | Труба | |
| 10 | 700А.1504030-1 | Труба | |
| 11 | 744Р1-1500110 | Труба | |
| 12 | 744Р1-1500120 | Труба | |
| 13 | 702МВ-1500250 | Рама | |
| 14 | 744Р1-1500160-1 | Лента | |
| 15 | 744Р1-1500180 | Труба | |
| 16 | 744Р1-1500200-1 | Насадок | |
| 17 | 2765020-1500014 | Труба | |
| 18 | 2765020-1500014-01 | Труба | |
| 19 | 700.1500034 | Прокладка | |
| 20 | 700.1500047 | Винт | |
| 21 | 700А.3700018-02 | Скоба | |
| 22 | 700А.3805104-02 | Скоба | |
| 23 | 701.1504065-2 | Шланг | |
| 24 | 744Р1-1500051 | Труба | |
| 25 | 744Р1-1500051-01 | Труба | |
| 26 | 744Р1-1500052 | Труба | |
| 27 | 744Р1-1500071 | Труба | |
| 28 | 744Р1-1500073 | Шланг | |
| 29 | 744Р1-1500073-01 | Шланг | |
| 30 | 744Р1-1500078 | Уголок | |
| 31 | 2256010-1300028-5 | Крышка | |
| 32 | 2256010-1301034 | Прокладка | |
| 33 | 2256010-1301035 | Заглушка | |
| 34 | БолтМ8х16 | Болт | |
| 35 | М8х20 | Болт | |
| 36 | М8х30 | Болт | |
| 37 | М10х30 | Болт | |
| 38 | ГайкаМ8 | Гайка | |
| 39 | М12х1,25 | Гайка | |
| 40 | 8.65Г.05 | Шайба | |
| 41 | 10.65Г.05 | Шайба | |
| 42 | 12.65Г.05 | Шайба | |
| 43 | 8.01.019 | Шайба | |
| 44 | 10.01.019 | Шайба | |
| 45 | 14-17-3 | Хомут | |
| 46 | 17-21-3 | Хомут | |
| 47 | 38-44-3 | Хомут | |
| 48 | 62-68-3 | Хомут | |
| 49 | 8.16.9,0 | Скоба | |
| 50 | 14.28.9,0 | Скоба | |
| 51 | Гайка8 | Гайка | |
| 52 | Муфта8 | Муфта | |
| 53 | 353-1305010-А | Краник сливной | |
| 54 | ПЖД30Г-1015006-10 | Подогреватель | |
| 55 | 8х16,5-1,6 | Рукав | |
| 56 | 10х17,5-1,5 | Рукав | |
| 57 | 42х56,5-1,47 | Рукав | |
| 58 | 50х61,5-1,57 | Рукав | |
| 59 | 1-4С10,0х2,0 | Трубка | |
| 60 | 702МВ-1500255 | Проставка |
Содержащиеся в справочниках-каталогах запасные части и детали не предлагаются к продаже, а носят исключительно информационный характер