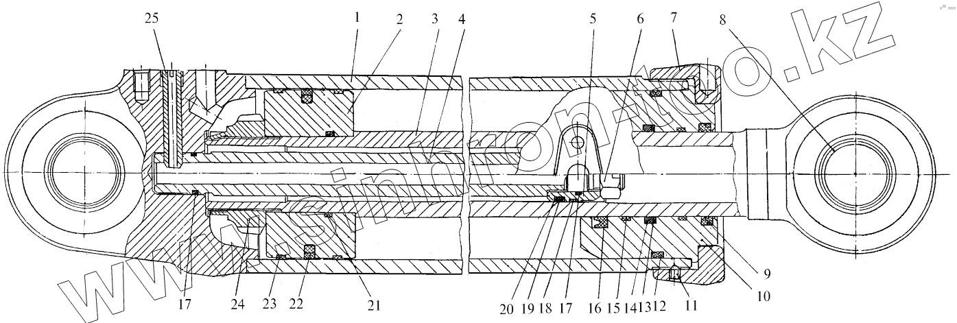
Каталог запасных частей к технике: ПТЗ К-702МВА-УДМ2. Гидроцилиндр поворота
1
2
3
4
5
6
7
8
9
10
11
12
13
14
15
16
17
18
19
20
21
22
23
24
25
| Позиция на иллюстрации | Заводской номер детали | Название детали | |
|---|---|---|---|
| 1 | 2256010-3429010-3 | Корпус | |
| 2 | 2256010-3429039-2 | Поршень | |
| 3 | 2256010-3429020-5 | Шток | |
| 4 | 2256010-3429029-2 | Шток | |
| 5 | 2256010-3429031-2 | Поршень | |
| 6 | 2256010-3429000-019 | Гайка | |
| 7 | Н-4618004 | Крышка | |
| 8 | ШС-50 | Подшипник ШС-50 | |
| 9 | WE5100630-Z51 | Грязесъемник Excluder 5 | |
| 10 | 2256010-3429038-3 | Втулка | |
| 11 | HLЦ50.25.200.003 | Винт | |
| 12 | DRZS000272-WUAR3 | Кольцо Dualseal DRZS 000272-WUAR3 | |
| 13 | BU3100630-PT00 | Защитное кольцо | |
| 14 | 4006300-N7003 | Кольцо | |
| 15 | GR6500630-C380 | Направляющая Wear Ring | |
| 16 | RL26N0630-Z04 | Уплотнение L-Сuр | |
| 17 | 3002500-N7002 | Кольцо | |
| 18 | GP6500400-C380 | Направляющая Slidring | |
| 19 | 3003400-N7003 | Кольцо | |
| 20 | BH2300400-PT00 | Защитное кольцо BU | |
| 21 | Кольцо | Кольцо | |
| 22 | PW4301250-Z04N | Уплотнение Wynseal PW 4301250-Z04 N | |
| 23 | GP6501250-Z61 | Направляющая Wear Ring | |
| 24 | 2256010-3429013-3 | Гайка | |
| 25 | 2256010-3429015 | Стопор |
Содержащиеся в справочниках-каталогах запасные части и детали не предлагаются к продаже, а носят исключительно информационный характер