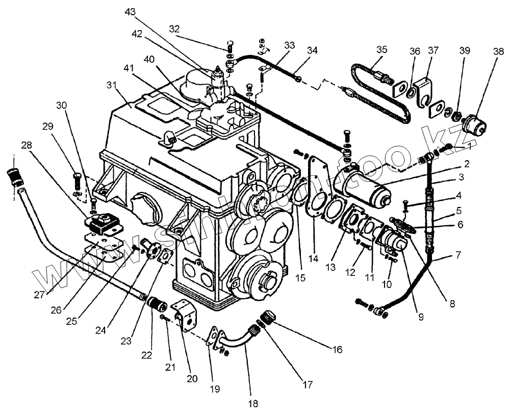
Каталог запасных частей к технике: ПТЗ К-702МБА. Установка коробки передач
1
2
3
4
5
6
7
8
9
10
11
12
13
14
15
16
17
18
19
20
21
22
23
24
25
26
27
28
29
30
31
32
33
34
35
36
37
38
39
40
41
42
43
| Позиция на иллюстрации | Заводской номер детали | Название детали | |
|---|---|---|---|
| 1 | 700.1724023-2 | Болт зажимной | |
| 2 | 2256010-1716000 | Фильтр | |
| 3 | 2256010-1700120-01 | Труба | |
| 4 | М8х35 | Болт | |
| 5 | 700А.3400070 | Рукав | |
| 6 | 2256010-3420000 | Клапан предохранительный | |
| 7 | 700А.1724160-3 | Труба | |
| 8 | 018-022-25-1-3 | Кольцо | |
| 9 | НШ 10-3-А | Насос | |
| 10 | М8х30 | Болт | |
| 11 | 2256010-1700019 | Прокладка | |
| 12 | 2М10х40 | Шпилька | |
| 13 | 2256010-1700022 | Крышка | |
| 14 | 2256010-1700018 | Кронштейн | |
| 15 | 2256010-1700021 | Прокладка | |
| 16 | 700А.0017106 | Колпачок | |
| 17 | 700А.0017105 | Прокладка | |
| 18 | 700А.0017170 | Патрубок | |
| 19 | 700.1701275 | Прокладка | |
| 20 | 2256010-0017120 | Кронштейн | |
| 21 | М10х25 | Болт | |
| 22 | 42х55-1,5 | Рукав | |
| 23 | 700.1701251-1 | Прокладка | |
| 24 | 700А.1700120 | Труба | |
| 25 | М10х20 | Болт | |
| 26 | 700А.0017098-01 | Прокладка | |
| 27 | 700А.0017098-02 | Прокладка | |
| 28 | АКСС-220М | Амортизатор | |
| 29 | М22х65.88.45Х | Болт | |
| 30 | М14х45.88.45Х | Болт | |
| 31 | 2765015-1700000 | Коробка передач в сборе | |
| 32 | 700.1724045 | Болт зажимной | |
| 33 | М10х55 | Болт | |
| 34 | 2256010-1700140 | Труба | |
| 35 | 2256010-3800090 | Рукав | |
| 36 | 20 | Шайба | |
| 37 | 700А.3800011-2 | Кронштейн | |
| 38 | 18.3829010 | Датчик давления | |
| 39 | М20х1,5 | Гайка | |
| 40 | 2256010-1700016-1 | Прокладка | |
| 41 | 700.1701133-1 | Прокладка | |
| 42 | 700.1716107-2 | Клапан | |
| 43 | 2765010-1746000-2 | Клапан |
Содержащиеся в справочниках-каталогах запасные части и детали не предлагаются к продаже, а носят исключительно информационный характер