Каталог запасных частей к технике: ПТЗ К-702МБА. Гидросистема бульдозерного оборудования
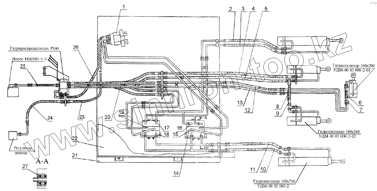
1
2
3
4
5
6
7
8
9
10
11
12
13
14
15
16
17
18
19
20
21
22
23
24
25
26
27
| Позиция на иллюстрации | Заводской номер детали | Название детали | |
|---|---|---|---|
| 1 | Гидроблок ВЕХ 1664.Г24 НМЕТ.П45-ППСЗ, Ркл.=7МПа | Гидроблок ВЕХ 1664.Г24 НМЕТ.П45-ППСЗ, Ркл.=7МПа | |
| 2 | 2256010-4650250 | Рукав | |
| 3 | 2256010-4650250 | Рукав | |
| 4 | 2256010-3400190-03 | Рукав | |
| 5 | 2256010-3400190-03 | Рукав | |
| 6 | 700А.34.00.090 | Рукав | |
| 7 | 700А.34.00.090 | Рукав | |
| 8 | 700А.34.00.070 | Рукав | |
| 9 | 700А.34.00.070 | Рукав | |
| 10 | 2256010-4650250 | Рукав | |
| 11 | 2256010-4650250 | Рукав | |
| 12 | 2256010-4650250-02 | Рукав | |
| 13 | 2256010-4650250-02 | Рукав | |
| 14 | БКУ-ЭК4146040-1 | Коллектор | |
| 15 | 700А.34.22.020 | Коробка клапанная в сборе | |
| 16 | 700А.34.22.020 | Коробка клапанная в сборе | |
| 17 | 700А.34.22.020 | Коробка клапанная в сборе | |
| 18 | 700А.34.22.020 | Коробка клапанная в сборе | |
| 19 | БКУ-ЭК4146040 | Коллектор | |
| 20 | 2256010-3400190-01 | Рукав | |
| 21 | БКУ-ЭК4146010-3 | Плита | |
| 22 | БКУ-ЭК4146020-1 | Кожух | |
| 23 | 700А.34.00.070-01 | Рукав | |
| 24 | 700А.34.00.070-02 | Рукав | |
| 25 | 700А.34.00.070-02 | Рукав | |
| 26 | 700А.34.00.070-01 | Рукав | |
| 27 | 022-028-36-1-3 | Кольцо |
Содержащиеся в справочниках-каталогах запасные части и детали не предлагаются к продаже, а носят исключительно информационный характер