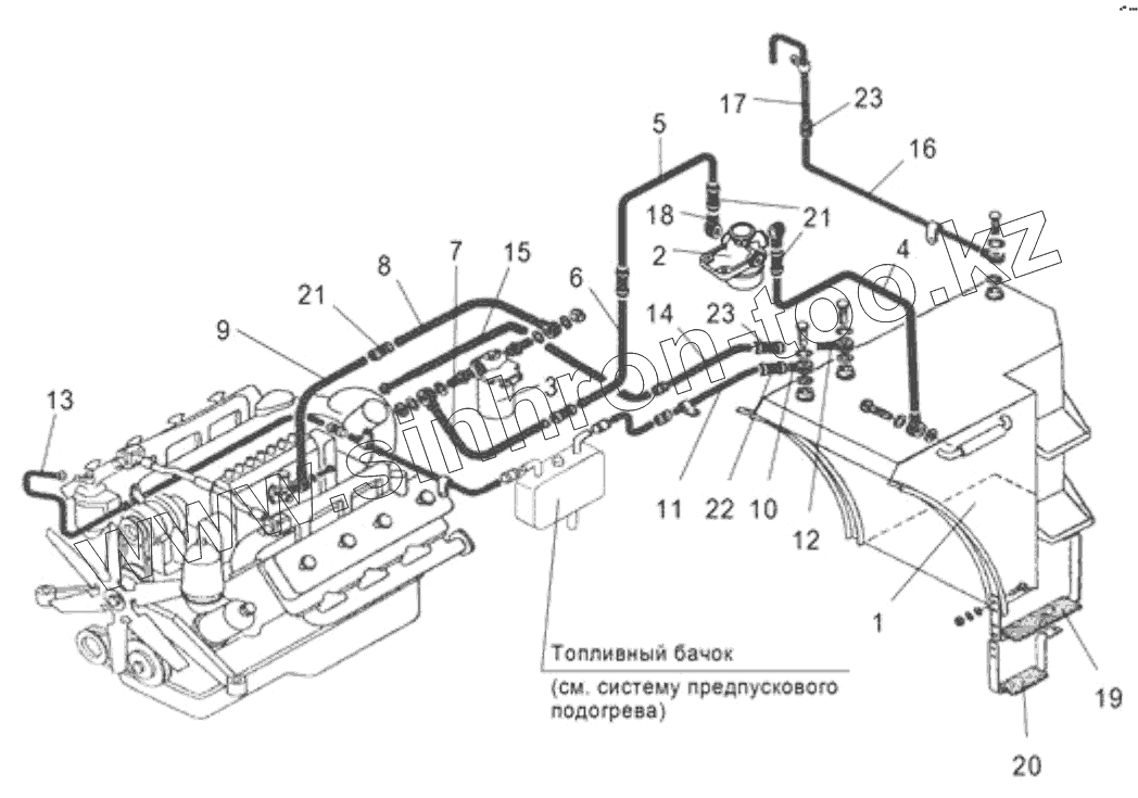
Каталог запасных частей к технике: ПТЗ К-702МБА-01-БКУ. Система питания топливом
1
2
3
4
5
6
7
8
9
10
11
12
13
14
15
16
17
18
19
20
21
21
22
23
23
| Позиция на иллюстрации | Заводской номер детали | Название детали | |
|---|---|---|---|
| 1 | 2765010-1101000 | Бак топливный | |
| 2 | Hengst H11K09 | Топливоподкачивающий насос | |
| 3 | Фильтр | Фильтр грубой очистки | |
| 4 | 703M-1100020 | Труба | |
| 5 | 703M-1100011-01 | Труба | |
| 6 | 703M-1100011-02 | Труба | |
| 7 | 703M-1100030 | Труба | |
| 8 | Э2765010-1100080 | Труба | |
| 9 | 700A. 1104090-19 | Труба | |
| 10 | 2765015-1100040 | Труба | |
| 11 | 2765015-1100014 | Труба | |
| 12 | 2765015-1100050 | Труба | |
| 13 | 700A. 1104130-2 | Труба | |
| 14 | 2765015-1100015 | Труба | |
| 15 | 2765010-1100030-1 | Труба | |
| 16 | 2765010-1100030-01 | Труба | |
| 17 | 2765015-1100015-01 | Труба | |
| 18 | 744P2-1100200 | Труба | |
| 19 | 700A.1100140 | Ступенька | |
| 20 | 700A.11.00.150 | Подножка | |
| 21 | 12x20-1,6 | Рукав | |
| 22 | 10x17,5-1,6 | Рукав | |
| 23 | 8x16,5-1,6 | Рукав |
Содержащиеся в справочниках-каталогах запасные части и детали не предлагаются к продаже, а носят исключительно информационный характер