Вернуться на главную
Поиск
Каталоги запчастей к технике
Спецтехника
ПТЗ
К-702МБА-01-БКУ
Гидросистема управления поворотом
Каталог запасных частей к технике: ПТЗ К-702МБА-01-БКУ. Гидросистема управления поворотом
zoom-in
zoom-out
enlarge
shrink
circle-right
circle-left
file-text2
info
cart
Тип техники
Не выбрано
Легковые автомобили
Грузовые автомобили и прицепы
Автобусы
Сельхозтехника
Спецтехника
Двигатели
Мототехника
Марка
Не выбрано
Ammann
BOMAG
CARMIX
CASE IH
Changlin
ChengGong
Dimex
Doosan
DYNAPAC
Foton
HAMM
Hidromek
Hitachi
Hyundai
JCB
JLG
John Deere
Komatsu
LIEBHERR
LiuGong
Lonking (LongGong)
Luneng
MANITOU
Mitsuber
New Holland
PENGPU
RM-Terex
SANY
SDLG
SEM
Shantui
Shehwa HBXG
Soosan
TIGARBO
VOGELE
Volvo
WAY
WIRTGEN
XCMG
XGMA
Xiamen
YTO
Yuchai
Zoomlion
Автокран
АЗСМ
Алтайлесмаш
Амкодор
АОМЗ
Атек
АТЗ
Балканкар Рекорд
БелАЗ
Беловеж
Борекс
Брянский Арсенал
Булат
ВЭКС
ГАЗ
Геомаш
Гидромаш
Донекс
Дормаш
Дормашина
Дорэлектромаш
ДЭЗ
ЕлАЗ
ЗЗГТ
Ижнефтемаш
Канаш-электрокар
КЗКТ
ККЗ
Клевер
Клинцовский автокрановый завод
КМЗ
КМЗ 1 Мая
Ковровец
Коммаш
Кранэкс
КЭЗ
КЭМЗ
ЛЗА
МАЗ
МЗИК
МЗКМ
МЗКТ
Михневский РМЗ
МоАЗ
Мозырский МЗ
МТЗ
ОЗП
Онежец
ПАО "ТЗА"
ППС Детва
Промтрактор
ПТЗ
Раскат
СпецАгрегат
ТВЭКС
ТТМ
УВЗ
Угличмаш
УЗТМ
ХТЗ
ЧЗКМ
ЧСДМ
ЧТЗ
ЭКСКО
ЭКСМАШ
ЮрМаш
Модель
Не выбрано
К-702МА-ПК-6 (2013)
К-702МБА (1998)
К-702МБА-01-БКУ (2014)
К-702МВ
К-702МВА
К-702МВА-УДМ2 (2008)
К-703МА-12 / К-703М-12 (2008)
Схема
>
Не выбрано
Установка двигателя
Система выпуска отработавших газов
Система питания топливом
Управление подачей топлива
Система охлаждения двигателя
Система смазки двигателя
Система обогрева двигателя
Система очистки воздуха
Воздухоочиститель
Муфта полужёсткая
Гидротрансформатор
Установка коробки передач
Управление переключением передач
Селектор
Привод управления коробкой передач
Картер коробки передач
Вал привода насоса КП
Вал ведущий, фрикцион II передачи заднего хода
Вал ведущий, фрикционы II передачи переднего хода и I передачи заднего хода
Вал ведущий, фрикцион I передачи переднего хода
Вал промежуточный
Вал грузовой
Вал раздаточный
Привод управления муфтами раздаточного вала
Ось заднего хода
Механизм переключения передач
Насос коробки передач
Фильтр коробки передач
Передача карданная
Вал карданный коробки передач
Вал карданный переднего моста
Вал карданный насоса КП
Вал карданный шарнира рамы
Опора промежуточная
Вал карданный заднего моста
Мост ведущий
Главная передача с дифференциалом
Рама в сборе
Подвеска подмоторного моста
Подвеска грузового моста
Установка груза балластного (противовеса) на подмоторную полураму
Установка груза балластного на грузовую полураму
Колесо с шиной
Оборудование бульдозерное
Гидросистема управления поворотом
Гидросистема управления рабочим оборудованием
Колонка рулевая
Гидробак
Гидроцилиндр поворота
Тормозная система
Тормоз стояночный
Кабина
Дверь левая
Дверь правая
Система вентиляции и отопления кабины
Принадлежности кабины
Сиденье
Сиденье дополнительное
Облицовка
Электрооборудование двигателя
Электрооборудование подмоторной полурамы
Электрооборудование кабины
Щиток приборов
Инструмент и принадлежности
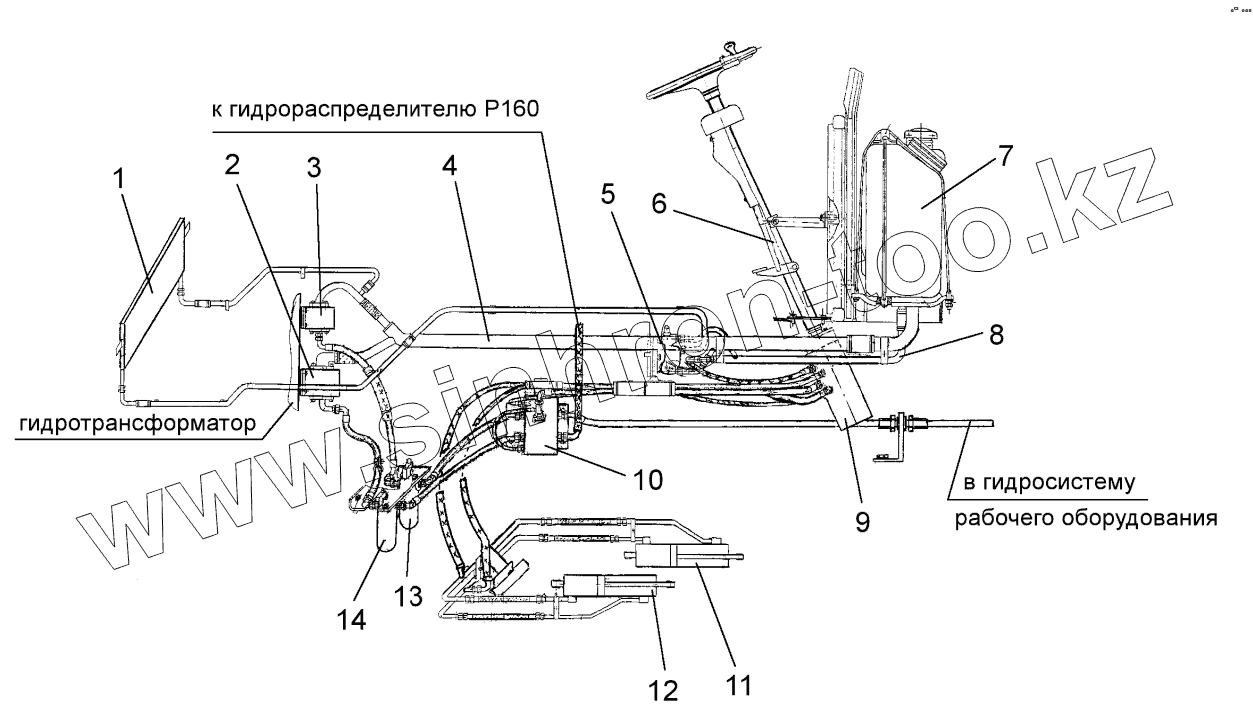
2765020-3400000-6-01
1
2
3
4
5
6
7
8
9
10
11
12
13
14
Позиция на иллюстрации
Заводской номер детали
Название детали
2765020-3400000-6-01
2765020-3400000-6-01
Гидросистема управления поворотом
1
744Р1-1301000
Блок радиаторов
2
НШ-100А-3-Л
Насос рулевого управления
3
НШ-50А-3Л
Насос
4
2765020-3400010-5
Труба маслозаборная
5
НШ-10Е-3Л
Насос
6
2765020-3401000-2
Колонка рулевая
7
2765020-4614000
Гидробак
8
2765020-3400250-5
Труба слива масла в гидробак
9
ОКР/200-У1
Гидроруль
10
ОКП1
Клапан приоритетный
11
ЦГ1 25.50х400
Гидроцилиндр рулевого управления
12
ЦГ1 25.50х400
Гидроцилиндр рулевого управления
13
HMM422C25XNR
Фильтр
14
HMM422C25XNR
Фильтр
Содержащиеся в справочниках-каталогах запасные части и детали не предлагаются к продаже, а носят исключительно информационный характер
Дополнительная информация
×
Название:
Номер:
Примечание: