Вернуться на главную
Поиск
Каталоги запчастей к технике
Спецтехника
ПТЗ
К-702МА-ПК-6
Селектор 702МВ-1715020
Каталог запасных частей к технике: ПТЗ К-702МА-ПК-6. Селектор 702МВ-1715020
zoom-in
zoom-out
enlarge
shrink
circle-right
circle-left
file-text2
info
cart
Тип техники
Не выбрано
Легковые автомобили
Грузовые автомобили и прицепы
Автобусы
Сельхозтехника
Спецтехника
Двигатели
Мототехника
Марка
Не выбрано
Ammann
BOMAG
CARMIX
CASE IH
Changlin
ChengGong
Dimex
Doosan
DYNAPAC
Foton
HAMM
Hidromek
Hitachi
Hyundai
JCB
JLG
John Deere
Komatsu
LIEBHERR
LiuGong
Lonking (LongGong)
Luneng
MANITOU
Mitsuber
New Holland
PENGPU
RM-Terex
SANY
SDLG
SEM
Shantui
Shehwa HBXG
Soosan
TIGARBO
VOGELE
Volvo
WAY
WIRTGEN
XCMG
XGMA
Xiamen
YTO
Yuchai
Zoomlion
Автокран
АЗСМ
Алтайлесмаш
Амкодор
АОМЗ
Атек
АТЗ
Балканкар Рекорд
БелАЗ
Беловеж
Борекс
Брянский Арсенал
Булат
ВЭКС
ГАЗ
Геомаш
Гидромаш
Донекс
Дормаш
Дормашина
Дорэлектромаш
ДЭЗ
ЕлАЗ
ЗЗГТ
Ижнефтемаш
Канаш-электрокар
КЗКТ
ККЗ
Клевер
Клинцовский автокрановый завод
КМЗ
КМЗ 1 Мая
Ковровец
Коммаш
Кранэкс
КЭЗ
КЭМЗ
ЛЗА
МАЗ
МЗИК
МЗКМ
МЗКТ
Михневский РМЗ
МоАЗ
Мозырский МЗ
МТЗ
ОЗП
Онежец
ПАО "ТЗА"
ППС Детва
Промтрактор
ПТЗ
Раскат
СпецАгрегат
ТВЭКС
ТТМ
УВЗ
Угличмаш
УЗТМ
ХТЗ
ЧЗКМ
ЧСДМ
ЧТЗ
ЭКСКО
ЭКСМАШ
ЮрМаш
Модель
Не выбрано
К-702МА-ПК-6 (2013)
К-702МБА (1998)
К-702МБА-01-БКУ (2014)
К-702МВ
К-702МВА
К-702МВА-УДМ2 (2008)
К-703МА-12 / К-703М-12 (2008)
Схема
>
Не выбрано
Установка двигателя 2765010-1000000
Система выпуска отработавших газов 2765010-1200000-1
Система питания 2765010-1100000
Управление подачей топлива 702МВ-1108000
Система охлаждения двигателя 700А.1300000
Радиатор водяной 700.1301000-3
Бак расширительный 700А.1300010-5
Система охлаждения масла двигателя 702.1400000-01
Система обогрева двигателя 702МВ-1500000-2
Система очистки воздуха 2765010-1900000-1
Воздухоочиститель
Муфта полужесткая 2765015-1600010 - муфта упругая, 2765020-1600010 - муфта
Гидротрансформатор 2765020-1603000-08
Установка коробки передач 2765015-1715000, 702МВ-1700000
Управление переключением передач 2765015-1715000, 2765015-1700000
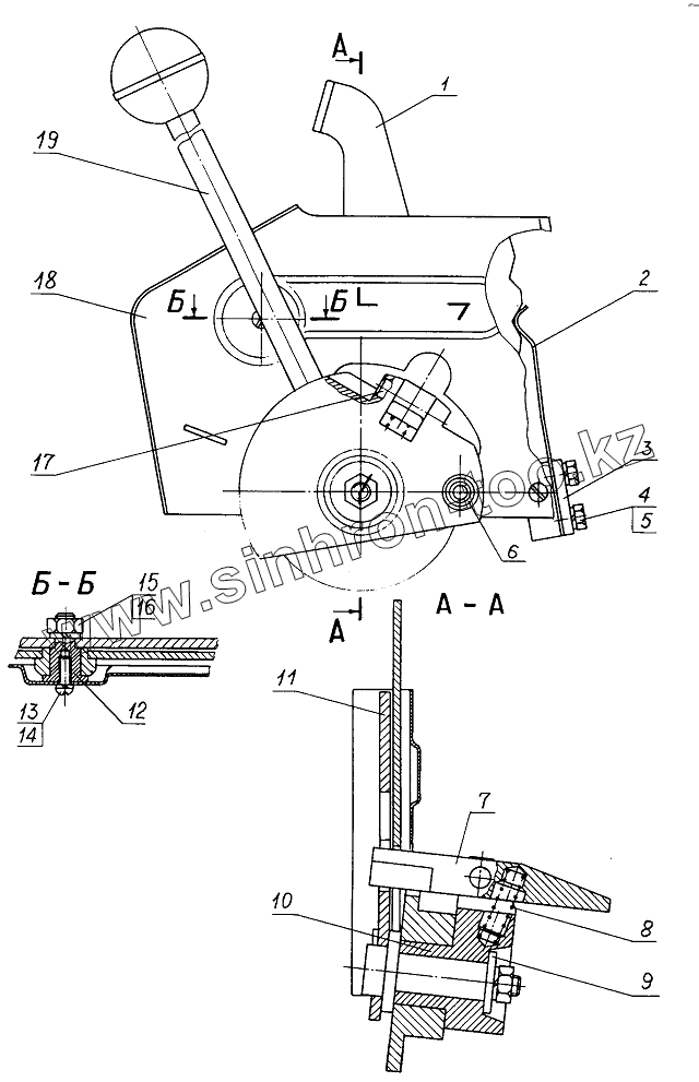
Селектор 702МВ-1715020
Привод управления коробкой передач 702МВ-1726000
Картер коробки передач (входит в 2765015-1700000, 2765010-1701000)
Вал привода насоса КП (входит в 2765010-1701000)
Вал ведущий, фрикцион II передачи заднего хода 2765020-1701000
Вал ведущий, фрикционы II передачи переднего хода и I передачи заднего хода 2765020-1701000
Вал ведущий, фрикцион I передачи переднего хода. 2765020-1701000
Вал промежуточный
Вал грузовой
Вал раздаточный 2765010-1701000
Привод управления муфтами раздаточного вала 2765010-1700000, 2765010-1701000
Ось заднего хода 2765010-1701000
Механизм переключения передач 2765015-1702000-1
Насос коробки передач 700А.1704000
Фильтр коробки передач 2256010-1716000
Передача карданная 2765015-2200000
Вал карданный коробки передач 702.2208000-2
Вал карданный переднего моста 2256010-2203000-1
Вал карданный насоса КП 2765015-2209000
Вал карданный шарнира рамы 2256010-2204000
Опора промежуточная 2256010-2220000-01
Вал карданный заднего моста 2256010-2201000-1
Подвеска переднего моста 2765020-2300000
Мост ведущий 2765020-2300000-01/-03
Главная передача с дифференциалом 2765020-2302000
Подвеска заднего моста 2765015-2900000
Гидросистема управления поворотом 702МВ-3400000
Рулевая колонка 702МВ-3401000
Гидробак 2765020-4614000
Регулятор потока 2765020-3406000
Гидроцилиндр поворота 2256010-3429000-3
Гидрораспределитель 2765020-3416000-1
Колесо с шиной 2765020-3100000
Тормозная система 702МВ-3500000
Тормоз стояночный 2256010-3507000
Рама 702МВ-2800000-1
Оборудование бульдозерное УДМ.07.00.000-1
Оборудование погрузочное
Кабина 2765020-6700000-1
Дверь левая 2256010-6709000-1
Дверь правая 2256010-6708000-1
Принадлежности кабины 2256010-8200000
Сиденье 20-6800000
Облицовка 702МВ-8400000
Вентиляция и отопление кабины 750-8100000-01
Электрооборудование (703МА-3798000 (К-703МА-12), 2256010-3798000 (К-703М-12), 703МА-3700000 (К-703МА-12), 703М-3700000 (К-703М-12), 744Р-3761000-1, 744-3748000-2-01)
Электрооборудование кабины 702МВ-3799000
Электрооборудование двигателя 702МВ-3800000
Щиток приборов 702МВ-3805000-01
Гидросистема погрузочного оборудования ПК-6-4600005-10, Э702МВ-4600000-1
Уплотнения и подшипники гидроцилиндров производства SIA "Hidrolats"
Уплотнения и подшипники гидроцилиндров производства ОАО "Елецгидроагрегат"
Гидросистема бульдозерного оборудования УДМ05.00000-3
Уплотнения "Элконт" и подшипники
Инструмент и принадлежности
Реверсивный пост управления
1
2
3
4
5
6
7
8
9
10
11
12
13
14
15
16
17
18
19
Позиция на иллюстрации
Заводской номер детали
Название детали
1
702МВ-1715040
Рычаг
2
702МВ-1715021
Пружина
3
702МВ-1715022
Пластина
4
БолтМ6
Болт
5
6.65Г.05
Шайба
6
Ш6
Подшипник
7
702МВ-1715018
Рычаг
8
700А.1701197-1
Пружина
9
2765015-1715033
Шайба
10
702МВ-1715017
Поводок
11
702МВ-1715030
Основание
12
702МВ-1715019
Ось
13
М5х12
Винт
14
5.65Г.05
Шайба
15
ГайкаМ8
Гайка
16
8.65Г.05
Шайба
17
Штифт8u8х40
Штифт
18
702МВ-1715024
Кожух
19
702МВ-1715050
Рычаг
Содержащиеся в справочниках-каталогах запасные части и детали не предлагаются к продаже, а носят исключительно информационный характер
Дополнительная информация
×
Название:
Номер:
Примечание: