Вернуться на главную
Поиск
Каталоги запчастей к технике
Спецтехника
Промтрактор
ТГ-511
3501-96-101СП Водило
Каталог запасных частей к технике: Промтрактор ТГ-511. 3501-96-101СП Водило
zoom-in
zoom-out
enlarge
shrink
circle-right
circle-left
file-text2
info
cart
Тип техники
Не выбрано
Легковые автомобили
Грузовые автомобили и прицепы
Автобусы
Сельхозтехника
Спецтехника
Двигатели
Мототехника
Марка
Не выбрано
Ammann
BOMAG
CARMIX
CASE IH
Changlin
ChengGong
Dimex
Doosan
DYNAPAC
Foton
HAMM
Hidromek
Hitachi
Hyundai
JCB
JLG
John Deere
Komatsu
LIEBHERR
LiuGong
Lonking (LongGong)
Luneng
MANITOU
Mitsuber
New Holland
PENGPU
RM-Terex
SANY
SDLG
SEM
Shantui
Shehwa HBXG
Soosan
TIGARBO
VOGELE
Volvo
WAY
WIRTGEN
XCMG
XGMA
Xiamen
YTO
Yuchai
Zoomlion
Автокран
АЗСМ
Алтайлесмаш
Амкодор
АОМЗ
Атек
АТЗ
Балканкар Рекорд
БелАЗ
Беловеж
Борекс
Брянский Арсенал
Булат
ВЭКС
ГАЗ
Геомаш
Гидромаш
Донекс
Дормаш
Дормашина
Дорэлектромаш
ДЭЗ
ЕлАЗ
ЗЗГТ
Ижнефтемаш
Канаш-электрокар
КЗКТ
ККЗ
Клевер
Клинцовский автокрановый завод
КМЗ
КМЗ 1 Мая
Ковровец
Коммаш
Кранэкс
КЭЗ
КЭМЗ
ЛЗА
МАЗ
МЗИК
МЗКМ
МЗКТ
Михневский РМЗ
МоАЗ
Мозырский МЗ
МТЗ
ОЗП
Онежец
ПАО "ТЗА"
ППС Детва
Промтрактор
ПТЗ
Раскат
СпецАгрегат
ТВЭКС
ТТМ
УВЗ
Угличмаш
УЗТМ
ХТЗ
ЧЗКМ
ЧСДМ
ЧТЗ
ЭКСКО
ЭКСМАШ
ЮрМаш
Модель
Не выбрано
ПК-12.02 (2007)
ПК-12.02К (2007)
ПК-60.01 (2007)
Т-11.01К (2008)
Т-11.01Я
Т-11.02К (2008)
Т-11.02Я (2008)
Т-15.01К (2007)
Т-15.01Я (2000)
Т-15.02K (2009)
Т-15.02Я (2009)
Т-20.01К
Т-20.01Я (2000)
Т-20.01Я (2005) (2005)
Т-20.02К (Четра) (2009)
Т-20.02Я (Четра) (2009)
Т-25.01К1 (2008)
Т-25.01Я (2006)
Т-330 (2006)
Т-35.01К (2007)
Т-35.01Я
Т-40.01К (2008)
Т-50.01 (1998)
Т-500 (1999)
Т-9.01Я (2007)
ТГ-121Я (2004)
ТГ-221КМ (2006)
ТГ-221Я (2004)
ТГ-301К (2006)
ТГ-301Я (2004)
ТГ-302Я (2010)
ТГ-503К (2006)
ТГ-503Я (2006)
ТГ-511 (2008)
Шасси ТП-20.02 (2008)
Схема
>
Не выбрано
313512-111/-01СП Кабина
312001-59-1СП Кабина
312001-59-1СП Кабина
312001-59-1СП Кабина
312001-59-1СП Кабина
313512-24-1СП Пол
313512-13-1СП Управление трактором
2501-23-1СП Установка сиденья
1101-47-1СП Установка отопителя кабины
312001-53-52-01СП Установка независимого отопителя кабины
312001-53-1-04СП Установка системы вентиляции и отопления
313516-55-1СП Облицовка
313516-55-1СП Облицовка
313516-01-1СП Установка двигателя QSX15-C500
313516-01-1СП Установка двигателя QSX15-C500
313516-43-1СП Установка системы подогрева
313516-43-1СП Установка системы подогрева
313516-43-1СП Установка системы подогрева
313516-05-1СП Установка систем воздухоочистки и выпуска
313516-05-1СП Установка систем воздухоочистки и выпуска
2504-05-15-03СП Воздухоочиститель
313516-25-1СП Установка топливного бака
313516-25-1СП Установка топливного бака
313516-25-1СП Установка топливного бака
313512-25-10СП Бак топливный
313516-60-2СП Система охлаждения
313516-60-2СП Система охлаждения
313516-60-2СП Система охлаждения
2506-60-122СП Блок радиаторов
2506-60-145-01СП Блок радиаторов
2506-60-146-01СП Установка радиаторная
313512-21-1/-01СП Система ходовая
313512-21-12СП/-13СП Тележка
313512-21-12СП/-13СП Тележка
3501-22-1-06СП/-07СП/-08СП Гусеница
313512-21-140-04СП/-05СП Каток опорный
313512-21-141-01СП Колесо натяжное
4001-21-118СП/-01СП Механизм натяжения
4001-21-136СП Механизм сдавания
403-21-15СП Каток поддерживающий
403-21-140СП Каток поддерживающий
313512-11-1СП Рама
313512-11-18СП Балка
313512-64-1СП Установка кожухов
313512-16-1СП Установка трансмиссии
313512-16-1СП Установка трансмиссии
313512-12-14СП Блок трансмиссии
313512-12-11СП Коробка передач
313512-12-12СП Передача главная
313512-12-12СП Передача главная
313512-12-10СП Коробка передач планетарная
313512-15-6СП Клапан
313512-15-11СП/-01СП Клапан-модулятор
4001-15-5СП Клапан
2501-12-120СП Бустер
2501-12-121CП Водило
2501-12-123СП Водило
2501-12-153-01СП Водило
313512-15-1СП Блок управления
313512-15-2СП Клапан
313512-15-4СП Клапан
313512-15-5СП Клапан предохранительный
1101-16-112СП Клапан
2501-18-16СП Фрикцион бортовой и тормоз остановочный
2501-18-106-01СП Пакет дисков
3501-19-12СП Передача бортовая
ТТ3501-19-12СП Передача бортовая
4001-14-1-02СП Гидротрансформатор
4001-14-1-02СП Гидротрансформатор
4001-15-8СП Клапан
4001-15-9СП/-01СП Клапан
4001-15-10CП Фильтр
4001-15-12CП Клапан
81-4250010-80 Вал карданный
313516-10-1СП Электрооборудование
313516-10-11CП Электрооборудование
313516-10-12СП Электрооборудование пола кабины
313516-10-12СП Электрооборудование пола кабины
313516-10-13СП Установка электрооборудования на раме
313516-10-14СП Электрооборудование крыши кабины
313516-10-14СП Электрооборудование крыши кабины
313516-10-15СП Электрооборудование топливного бака
313516-10-16СП Контейнер АКБ
313516-10-17СП Электрооборудование трансмиссии
313516-10-18СП Электрооборудование передней облицовки
313516-10-19СП Электрооборудование стрелы грузовой
313516-10-21СП Электрооборудование обоймы подвесной
313516-10-22СП Электрооборудование двигателя
313516-10-23СП Электрооборудование навесного оборудования
404-10-270СП Установка фары
313516-10-105СП Щиток выключателей
313516-10-108СП Блок выключателей
313516-10-108СП Блок выключателей
313516-10-111СП Щиток приборов
313516-10-123СП Подключение блока отображения информации
313512-26-1СП Установка гидросистемы
313512-26-1СП Установка гидросистемы
313512-26-1СП Установка гидросистемы
313512-26-1СП Установка гидросистемы
313512-26-15СП Клапан
313512-26-16СП Клапан
313512-26-30СП Бак
313512-26-506СП Гидроцилиндр d.100
510502-93-537-02СПК Гидрозамок
3501-96-300СП Клапан
1101-16-112СП Клапан
313512-90-1СП Установка лебедок
313512-90-1СП Установка лебедок
313512-90-1СП Установка лебедок
313512-90-10СП/-01СП Лебедка
313512-90-10СП/-01СП Лебедка
313512-90-15СП Редуктор
313512-90-100СП Тормоз
313512-90-101СП Водило
313512-90-102СП Водило
313512-90-290СП Муфта обгонная
313512-92-1СП Установка стрелы и полиспастов
313512-92-1СП Установка стрелы и полиспастов
313512-92-1-01СП Установка стрелы и полиспастов
313512-92-1-01СП Установка стрелы и полиспастов
313502-92-390СП Подвеска крюка
313502-92-430-01СП Обойма подвесная
313502-92-580СП Обойма стреловая
313512-92-20СП Устройство прицепное
313512-93-1СП Установка противовеса
313512-93-1СП Установка противовеса
313512-95-1СП Портал
313512-95-1СП Портал
3501-51-1СП Установка прицепного устройства
313516-10-11-01CП Электрооборудование
313512-26-1СП Установка гидросистемы
313512-26-1СП Установка гидросистемы
313512-26-1СП Установка гидросистемы
313512-26-1СП Установка гидросистемы
313512-26-1СП Установка гидросистемы
313512-26-1-02СП Установка гидросистемы
313512-26-1-02СП Установка гидросистемы
313512-26-1-02СП Установка гидросистемы
313512-26-1-02СП Установка гидросистемы
313512-26-1-02СП Установка гидросистемы
313512-96-1СП Установка агрегата тягового
313512-96-1СП Установка агрегата тягового
313512-96-10СП Агрегат тяговый
3501-96-10-01СП Лебедка
3501-96-100СП Бустер
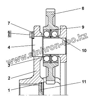
3501-96-101СП Водило
3501-96-102СП Механизм планетарный
3501-96-103СП Бустер
313512-26-16СП Клапан
313512-92-520СП Установка гидропривода
313512-92-544СП/-01СП Гидроцилиндр d.100
1
2
3
4
5
6
7
8
9
10
11
Позиция на иллюстрации
Заводской номер детали
Название детали
3501-96-101СП(SP)
3501-96-101СП(SP)
Водило
1
700-58-2088
Кольцо С60
2
3501-96-121
Водило
3
3501-96-140
Кольцо распорное
4
3501-96-124
Ось
5
Проволока 1,6-0-С
Проволока 1,6-0-С
6
285120
Болт (476715722810)
7
3501-96-137
Планка
8
3501-96-114
Сателлит
9
580676
Кольцо С80 ГОСТ 13941-86
10
208А
Подшипник 208А
11
3501-96-139
Упор
Содержащиеся в справочниках-каталогах запасные части и детали не предлагаются к продаже, а носят исключительно информационный характер
Дополнительная информация
×
Название:
Номер:
Примечание: