Каталог запасных частей к технике: Промтрактор ТГ-511. 3501-19-12СП Передача бортовая
1
2
3
4
5
6
7
7
8
9
9
9
10
10
10
11
12
13
14
15
16
17
18
19
20
21
22
23
23
24
24
25
26
27
28
29
30
30
31
32
33
34
35
35
36
36
37
37
38
38
39
40
41
41
42
43
43
44
45
46
47
47
47
48
48
49
49
50
51
52
53
54
55
55
56
56
57
57
58
59
60
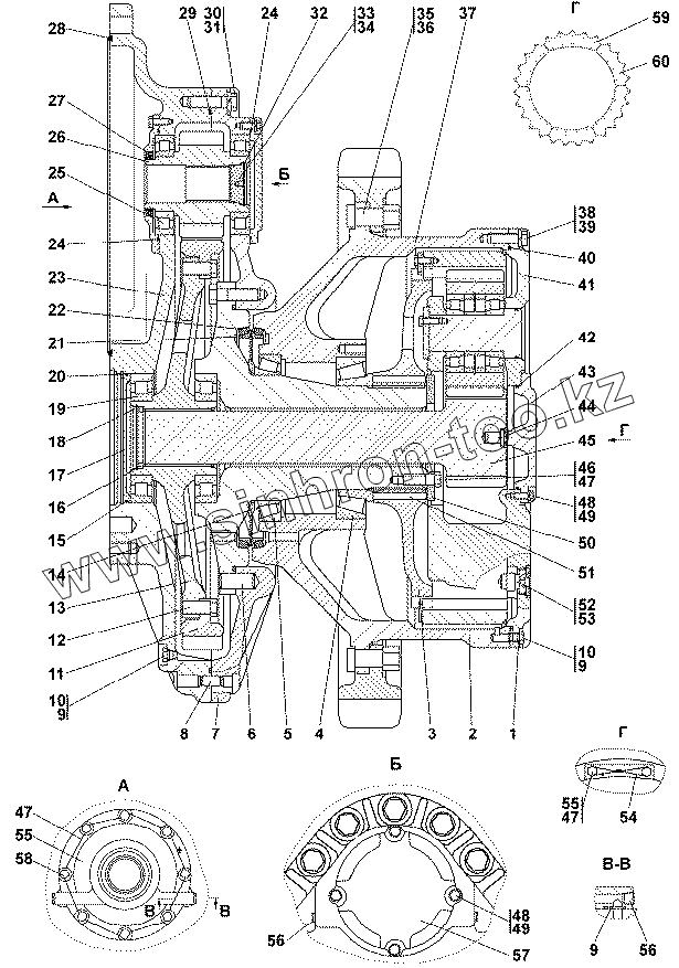
| Позиция на иллюстрации | Заводской номер детали | Название детали | |
|---|---|---|---|
| 3501-19-12-20СП(SP) | 3501-19-12-20СП(SP) | Передача бортовая | |
| 3501-19-12СП(SP) | 3501-19-12СП(SP) | Передача бортовая | |
| 1 | 018-022-25-2-51-1668 | Кольцо ГОСТ 9833-73/ТУ 38.005.204-84 | |
| 2 | 3501-19-11 | Шестерня | |
| 3 | 3501-19-12 | Муфта | |
| 4 | 2007140М | Подшипник 2007140М | |
| 5 | 2007948А | Подшипник 2007948А | |
| 6 | 700-32-2180-01 | Штифт | |
| 7 | 3501-19-103СП(SP) | Корпус | |
| 7 | 3501-19-103-20СП(SP) | Корпус | |
| 8 | 700-32-2158 | Штифт | |
| 9 | 012-016-25-2-51-1668 | Кольцо 012-016-25-2-51-1668 | |
| 10 | 37 5516 | Пробка | |
| 10 | 37 5516-20 | Пробка | |
| 11 | 3501-19-25 | Шестерня | |
| 12 | 28 0819 | Болт М24х2-6gх55.109.40Х 019 ГОСТ 7796-70 | |
| 13 | 3501-19-26 | Ступица | |
| 14 | 3501-19-22 | Кольцо упорное | |
| 15 | 240-250-58-2-3 | Кольцо ГОСТ 9833-73 | |
| 16 | 2501-19-64 | Втулка | |
| 17 | ТТ2501-19-6 | Крышка | |
| 18 | 700-58-2092 | Кольцо С120 ГОСТ 13941-86 | |
| 19 | 12228М | Подшипник 12228М | |
| 20 | 58 0930 | Кольцо С250 ГОСТ 13941-86 | |
| 21 | 2501-19-12 | Кольцо | |
| 22 | 2501-19-40 | Кольцо упорное | |
| 23 | 3501-19-37 | Корпус | |
| 23 | 3501-19-37-20 | Корпус | |
| 24 | 205-215-46-2-3 | Кольцо ГОСТ 9833-73 | |
| 25 | 42221Л | Подшипник 42221Л | |
| 26 | 3501-19-27 | Шестерня | |
| 27 | 95-120-12 BASBL AS DIN 3761 | Манжета 95-120-12 BASBL AS DIN 3761 | |
| 28 | 40 0468-22 | Кольцо | |
| 29 | 40 0468-38 | Кольцо | |
| 30 | 28 0835 | Болт М24х2-6gх75 ГОСТ 7796-70 | |
| 30 | 28 0835-20 | Болт М24х2-6gх75 ГОСТ 7796-70 | |
| 31 | Шайба 24Т | Шайба 24Т | |
| 32 | 58 0676 | Кольцо С80 ГОСТ 13940-86 | |
| 33 | 2501-19-63 | Крышка | |
| 34 | 069-075-36-2-51-1668 | Кольцо 069-075-36-2-51-1668 | |
| 35 | 2501-19-80-04 | Болт | |
| 35 | 2501-19-80-04-20 | Болт | |
| 36 | 30 0420 | Гайка М30х2-6Н ГОСТ 15524-70 | |
| 36 | 30 0420-20 | Гайка М30х2-6Н ГОСТ 15 524-70 | |
| 37 | 3501-19-33 | Ступица | |
| 37 | 3501-19-33-20 | Ступица | |
| 38 | 28 0730-20 | Болт М20х1,5-6gх60 ГОСТ 7796-70 | |
| 38 | 28 0730 | Болт М20х1,5-6gх60 ГОСТ 7796-70 | |
| 39 | Шайба 20 ОТ | Шайба 20 ОТ | |
| 40 | 40 0468-30 | Кольцо | |
| 41 | 3501-19-104СП(SP) | Водило | |
| 41 | 3501-19-104-20СП(SP) | Водило | |
| 42 | 190-195-36-2-51-1668 | Кольцо | |
| 43 | 3501-19-29 | Крышка | |
| 43 | 3501-19-29-20 | Крышка | |
| 44 | 2501-19-28 | Пята | |
| 45 | 3501-19-28 | Шестерня | |
| 46 | 28 0731 | Болт ЗМ20х1,5gх60 ГОСТ 7796-70 | |
| 47 | Проволока 1,6-0-С | Проволока 1,6-0-С | |
| 48 | Болт М12-6gx30 | Болт М12-6gx30 | |
| 49 | Шайба 12 ОТ | Шайба 12 ОТ | |
| 50 | 3501-19-23 | Шайба | |
| 51 | 3501-19-21 | Палец | |
| 52 | 2501-19-113СП(SP) | Пробка магнитная | |
| 53 | 045-050-30-2-51-1668 | Кольцо ГОСТ 9833-73/ГОСТ 18829-73 | |
| 54 | 2501-19-67 | Планка | |
| 55 | 28 5330 | Болт | |
| 56 | 37 0150-08 | Пробка 4-КГ 1/8"45 ТУ 23.1.506-91 | |
| 57 | 2501-19-62 | Крышка | |
| 57 | 2501-19-62-20 | Крышка | |
| 58 | 2501-19-61 | Крышка | |
| 59 | 3501-19-41 | Сектор зубчатый | |
| 60 | 3501-19-41-01 | Сектор зубчатый |
Содержащиеся в справочниках-каталогах запасные части и детали не предлагаются к продаже, а носят исключительно информационный характер