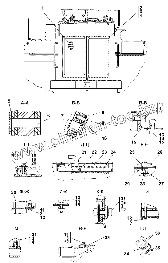
Каталог запасных частей к технике: Промтрактор ТГ-511. 313516-55-1СП Облицовка
1
1
2
2
3
3
3
3
3
3
3
4
4
4
4
5
6
6
7
7
8
8
9
9
10
10
11
11
11
12
12
12
12
12
13
13
13
14
14
15
15
15
16
16
17
17
18
19
20
20
21
22
23
23
24
25
26
26
27
27
28
29
29
30
30
31
31
31
32
32
33
33
34
34
35
35
36
| Позиция на иллюстрации | Заводской номер детали | Название детали | |
|---|---|---|---|
| 1 | 313516-55-20-20СП -20SP | Решетка | |
| 1 | 313516-55-20СП(SP) | Решетка | |
| 2 | 28 1379-20 | Болт М12х1,25-6gх65 ГОСТ 795-70 | |
| 2 | 28 1379 | Болт М12х1,25-6gх65 ГОСТ 7795-70 | |
| 3 | ГОСТ 6402-70 | Шайба 12 ОТ | |
| 4 | 31 0210 | Шайба 12х2.01.08кп.019 ГОСТ 11371-78 | |
| 4 | 31 0210-20 | Шайба 12х2 ГОСТ 11371-78 | |
| 5 | 2501-55-297 | Накладка | |
| 6 | 313516-55-127 | Палец | |
| 6 | 313516-55-127-20 | Палец | |
| 7 | 313516-55-153 | Палец | |
| 7 | 313516-55-153 | Палец | |
| 8 | 313516-55-154 | Упор | |
| 8 | 313516-55-154-20 | Упор | |
| 9 | 28 0819 | Болт М24х2-6gх55.109.40Х 019 ГОСТ 7796-70 | |
| 9 | 28 0819-20 | Болт 24x2-6gx55 | |
| 10 | 313516-55-155 | Пластина | |
| 10 | 313516-55-155-20 | Пластина | |
| 11 | Болт М12x1,25-6gx25 | Болт М12x1,25-6gx25 | |
| 12 | 31 0230 | Шайба 12.01.10.019 ГОСТ 6958-78 | |
| 12 | 31 0230-20 | Шайба 12.01.10.0221 ГОСТ 6958-78 | |
| 13 | 31 5211 | Шайба | |
| 13 | 31 5211-20 | Шайба | |
| 14 | Болт М12x1,25-6gx35 | Болт М12x1,25-6gx35 | |
| 15 | Гайка М12x1,25 | Гайка М12x1,25 | |
| 16 | 313516-55-18СП(SP) | Уголок | |
| 16 | 313516-55-18-20СП -20SP | Уголок | |
| 17 | 313516-55-57 | Прокладка | |
| 17 | 313516-55-57-20 | Прокладка | |
| 18 | Болт М8-6gx20 | Болт М8-6gx20 | |
| 19 | Шайба 8Т | Шайба 8Т | |
| 20 | 31 0140 | Шайба 8.01.10.019 ГОСТ 6958-78 | |
| 20 | 31 0140-20 | Шайба 8 ГОСТ 6958-78 | |
| 21 | 2001-55-30СП(SP) | Ручка | |
| 22 | Шплинт 4x25 | Шплинт 4x25 | |
| 23 | 700-38-2563 | Пружина | |
| 23 | 700-38-2563-20 | Пружина | |
| 24 | 2501-55-215 | Стержень | |
| 25 | 401-55-383 | Ось | |
| 26 | 46-43-105-01 | Кольцо | |
| 26 | 46-43-105-01-10 | Кольцо | |
| 27 | 30 0160 | Гайка | |
| 27 | 30 0160-20 | Гайка | |
| 28 | Шплинт 2x14 | Шплинт 2x14 | |
| 29 | 401-55-384 | Защелка | |
| 29 | 401-55-384-20 | Защелка | |
| 30 | 313516-55-65 | Накладка | |
| 30 | 313516-55-65-20 | Накладка | |
| 31 | 28 0361 | Болт М12х1,25-6gх45 | |
| 31 | 28 0361-20 | Болт М12х1,25-6gх45 | |
| 32 | 28 0385 | Болт М12х1,25-6gх80 ГОСТ 7795-70 | |
| 32 | 28 0385-20 | Болт М12х1,25-6х80.109.40Х.029 ГОСТ 7795-70 | |
| 33 | 31 0320 | Шайба 20.04.20.019 ГОСТ 6958-78 | |
| 33 | 31 0320-20 | Шайба 20.04.20.0221 ГОСТ 6958-78 | |
| 34 | 31 0270 | Шайба 16 ГОСТ 11371-78 | |
| 34 | 31 0270-20 | Шайба 16.0Т.10.0221 ГОСТ 11371-78 | |
| 35 | 28 0845 | Болт М24x2-6gx100 | |
| 35 | 28 0845-20 | Болт М24x2-6gx100 | |
| 36 | Гайка М16x1,5 | Гайка М16x1,5 |
Содержащиеся в справочниках-каталогах запасные части и детали не предлагаются к продаже, а носят исключительно информационный характер