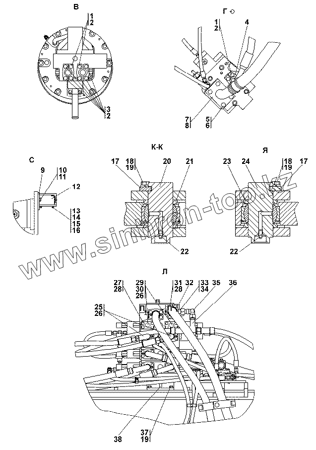
Каталог запасных частей к технике: Промтрактор ТГ-511. 313512-26-1СП Установка гидросистемы
1
1
1
2
2
2
3
3
4
4
5
5
6
7
7
8
9
9
10
11
12
12
13
13
14
15
16
16
17
17
17
18
18
19
19
19
20
20
21
22
22
22
23
24
24
25
25
26
26
27
27
28
28
29
29
30
30
31
31
32
32
33
33
34
35
35
36
36
37
38
38
| Позиция на иллюстрации | Заводской номер детали | Название детали | |
|---|---|---|---|
| 1 | 28 0501-20 | Болт М14-6gх50 | |
| 1 | 28 0501 | Болт М14-6gх50 | |
| 2 | Шайба 14.ОТ | Шайба 14.ОТ | |
| 3 | 28 0518-01 | Болт М14-6gx135 | |
| 3 | 28 0518-01-20 | Болт М14-6gx135 | |
| 4 | 313512-26-535 | Фланец | |
| 4 | 313512-26-535-20 | Фланец | |
| 5 | 28 0543 | Болт 3M16-6gx45 | |
| 5 | 28 0543-20 | Болт 3M16-6gx45 | |
| 6 | Шайба 16.ОТ | Шайба 16.ОТ | |
| 7 | 313512-26-17СП(SP) | Трубопровод | |
| 7 | 313512-26-17-20СП -20SP | Трубопровод | |
| 8 | 088-095-46-2-51-1668 | Кольцо | |
| 9 | 313512-26-36СП(SP) | Кронштейн | |
| 9 | 313512-26-36-20СП -20SP | Кронштейн | |
| 10 | Болт М8-6gx20 | Болт М8-6gx20 | |
| 11 | Шайба 8Т | Шайба 8Т | |
| 12 | ВПК2110 БУХЛ2 | Выключатель ВПК2110 БУХЛ2 | |
| 12 | ВПК2110 БТ2 | Выключатель ВПК2110 БТ2 | |
| 13 | 28 0010 | Болт М5-6gx65 | |
| 13 | 28 0010-20 | Болт М5-6gx65 | |
| 14 | Гайка М5 | Гайка М5 | |
| 15 | Шайба 5 | Шайба 5 | |
| 16 | 31 0080 | Шайба 5.01.10.019 ГОСТ 11371-78 | |
| 16 | 31 0080-20 | Шайба 5.01.10.0221 ГОСТ 11371-78 | |
| 17 | 312501-94-103 | Пластина | |
| 17 | 312501-94-103-20 | Пластина | |
| 18 | Болт М12x1,25-6gx30 | Болт М12x1,25-6gx30 | |
| 19 | Шайба 12.ОТ | Шайба 12.ОТ | |
| 20 | 311102-93-39-20 | Ось | |
| 20 | 311102-93-39 | Ось | |
| 21 | 311102-93-42 | Кольцо | |
| 22 | Масленка 1.2 Ц6хр | Масленка 1.2 Ц6хр | |
| 22 | Масленка 1.2 Кд.6хр | Масленка 1.2 Кд.6хр | |
| 23 | 311102-93-42-02 | Кольцо | |
| 24 | 311102-93-39-04 | Ось | |
| 24 | 311102-93-39-04-20 | Ось | |
| 25 | 313512-26-20СП(SP) | Трубопровод | |
| 25 | 313512-26-20-20СП -20SP | Трубопровод | |
| 26 | 030-035-30-2-ИРП-1314-1 | Кольцо 030-035-30-2-ИРП-1314-1 | |
| 27 | 28 0250 | Болт М10-6gх40 ГОСТ 7796-70 | |
| 27 | 28 0250-20 | Болт М10-6gх40 ГОСТ 7796-70 | |
| 28 | Шайба 10.ОТ | Шайба 10.ОТ | |
| 29 | 313512-26-31 | Заглушка | |
| 29 | 313512-26-31-20 | Заглушка | |
| 30 | 313512-26-537 | Фланец | |
| 30 | 313512-26-537-20 | Фланец | |
| 31 | 28 0250 | Болт М10-6gх40 ГОСТ 7796-70 | |
| 31 | 28 0250-20 | Болт М10-6gх40 ГОСТ 7796-70 | |
| 32 | 313512-26-538 | Фланец | |
| 32 | 313512-26-538-20 | Фланец | |
| 33 | 313512-26-18СП(SP) | Фланец | |
| 33 | 313512-26-18-20СП -20SP | Фланец | |
| 34 | 038-046-46-2-51-1668 | Кольцо 038-046-46-2-51-1668 | |
| 35 | 46-26-314СП(SP) | Угольник | |
| 35 | 46-26-314-20СП(SP) | Угольник | |
| 36 | 313512-26-22СП(SP) | Тройник | |
| 36 | 313512-26-22-20СП -20SP | Тройник | |
| 37 | Болт М12-6gx30 | Болт М12-6gx30 | |
| 38 | 313512-26-23СП(SP) | Кронштейн | |
| 38 | 313512-26-23-20СП -20SP | Кронштейн |
Содержащиеся в справочниках-каталогах запасные части и детали не предлагаются к продаже, а носят исключительно информационный характер