Каталог запасных частей к технике: Промтрактор ТГ-503Я. 313502-10-107СП Щиток выключателей
1
2
2
3
3
4
4
4
5
5
6
6
7
7
8
9
10
11
11
12
12
13
13
14
14
14
15
15
16
16
17
17
18
18
19
20
20
21
21
22
23
25
25
26
26
26
27
27
28
28
29
29
29
30
30
31
31
32
32
33
34
34
35
35
36
36
37
38
38
38
39
40
40
41
41
42
42
43
43
44
44
45
46
47
48
48
48
49
50
50
51
52
53
54
54
55
56
56
56
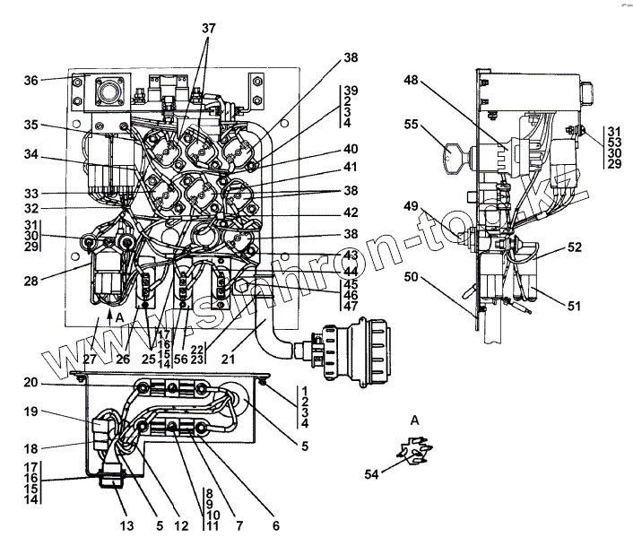
| Позиция на иллюстрации | Заводской номер детали | Название детали | |
|---|---|---|---|
| 313502-10-107-20СП -20(SP) | 313502-10-107-20СП -20(SP) | Щиток выключателей | |
| ТУ16.526.016-73 | ТУ16.526.016-73 | Переключатели ТУ16.526.016-73 | |
| 31 0150-20 | 31 0150-20 | Шайба 8.01.08кп.0221 ГОСТ 11371-78 | |
| 313502-10-107СП(SP) | 313502-10-107СП(SP) | Щиток выключателей | |
| 1 | Винт В.М5-6gx12 | Винт В.М5-6gx12 | |
| 2 | Гайка М5 | Гайка М5 | |
| 3 | Шайба 5 | Шайба 5 | |
| 4 | 31 0080-20 | Шайба 5.01.10.0221 ГОСТ 11371-78 | |
| 4 | 31 0080 | Шайба 5.01.10.019 ГОСТ 11371-78 | |
| 5 | 700-40-6682 | Кольцо | |
| 6 | Б3-30, УХЛЗ,ЗОВ, | Блок защиты Б3-30, УХЛЗ,ЗОВ | |
| 6 | Б3-30, УХЛЗ,ЗОВ | Блок защиты Б3-30, УХЛЗ,ЗОВ | |
| 7 | ПВ-00АС,УХЛ,ЗОВ | Предохранитель ПВ-00АС,УХЛ,ЗОВ | |
| 7 | ПВ-100АС,УХЛЗ, ЗОВ | Предохранитель ПВ-100АС,УХЛЗ, ЗОВ | |
| 8 | Винт В.М4-6gx16 | Винт В.М4-6gx16 | |
| 9 | Гайка М4 | Гайка М4 | |
| 10 | Шайба 4 | Шайба 4 | |
| 11 | 31 0050 | Шайба 4.01.08кп.019 ГОСТ 11371-78 | |
| 11 | 31 0050-20 | Шайба 4.01.08кп.0221 ГОСТ 11371-78 | |
| 12 | 2501-10-129-18-20СП -20(SP) | Провод | |
| 12 | 2501-10-129-18СП(SP) | Провод | |
| 13 | 405-10-172СП(SP) | Жгут | |
| 13 | 405-10-172-20СП(SP) | Жгут | |
| 14 | 31 0020-20 | Шайба 3.01.08кп.0221 ГОСТ 11371-78 | |
| 14 | 31 0020 | Шайба 3.01.08кп.019 ГОСТ 11 371-78 | |
| 15 | Шайба 3 | Шайба 3 | |
| 16 | Гайка М3 | Гайка М3 | |
| 17 | Винт В.М3-6gx10 | Винт В.М3-6gx10 | |
| 18 | 312502-10-114-24СП (SP) | Провод | |
| 18 | 312502-10-114-24-20СП(SP) | Провод | |
| 19 | 602602 | Колодка гнездовая ОСТ 37.003.032-88 | |
| 20 | ПВ-0АС,УХЛЗ,ЗОВ | Предохранитель ПВ-0АС,УХЛЗ,ЗОВ | |
| 20 | ПВ-0АС,УХЛЗ,ЗОВ | Предохранитель ПВ-0АС,УХЛЗ,ЗОВ | |
| 21 | 313502-10-104СП(SP) | Жгут | |
| 21 | 313502-10-104-20СП -20(SP) | Жгут | |
| 22 | 700-40-6684-03 | Прокладка | |
| 23 | 700-41-3307 | Хомутик | |
| 24 | Винт В.М4-6gx12 | Винт В.М4-6gx12 | |
| 25 | 405-10-149-17-20СП(SP) | Провод | |
| 25 | 405-10-149-17СП(SP) | Провод | |
| 26 | ППН-45, Т | Переключатель ППН-45, Т | |
| 26 | ППН-45 | Переключатель ППН-45 ТУ 16-526.016-73 | |
| 26 | ППН-45 | Переключатель ППН-45 ТУ 16-526.016-73 | |
| 27 | 405-10-173-20СП(SP) | Щиток | |
| 27 | 405-10-173СП(SP) | Щиток | |
| 28 | 404-10-180-78СП(SP) | Провод | |
| 28 | 404-10-180-78-20СП -20(SP) | Провод | |
| 29 | 31 0110-20 | Шайба 6.01.08кп.0221 ГОСТ 11371-78 | |
| 29 | 31 0110 | Шайба 6.01.08кп.019 ГОСТ 11371-78 | |
| 30 | Шайба 6Т | Шайба 6Т | |
| 31 | Винт В.М6-6gx16 | Винт В.М6-6gx16 | |
| 32 | 313502-10-127-20СП -20(SP) | Жгут | |
| 32 | 313502-10-127СП(SP) | Жгут | |
| 33 | 29.3722 | Предохранитель термобиметаллический 29.3722 | |
| 34 | 312502-10-114-27-20СП(SP) | Провод | |
| 34 | 312502-10-114-27СП (SP) | Провод | |
| 35 | 313502-10-114-26-20СП(SP) | Провод | |
| 35 | 313502-10-114-26СП (SP) | Провод | |
| 36 | 405-10-27-20 | Кронштейн | |
| 36 | 405-10-27 | Кронштейн | |
| 37 | 291.3722 | Предохранитель термобиметаллический 291.3722 | |
| 38 | 292.3722 | Предохранитель термобиметаллический 292.3722 | |
| 39 | Винт В.М5-6gx12 | Винт В.М5-6gx12 | |
| 40 | 313502-10-111-20СП -20(SP) | Провод 90 | |
| 40 | 313502-10-111СП(SP) | Провод 90 | |
| 41 | 405-10-149-16-20СП -20(SP) | Провод | |
| 41 | 405-10-149-16СП(SP) | Провод | |
| 42 | 404-10-180-52-20СП -20(SP) | Провод | |
| 42 | 404-10-180-52СП(SP) | Провод | |
| 43 | 313502-10-105-20СП -20(SP) | Провод | |
| 43 | 313502-10-105СП(SP) | Провод | |
| 44 | 404-10-180-47СП(SP) | Провод | |
| 44 | 404-10-180-47-20СП -20(SP) | Провод | |
| 45 | Болт М8-6gx16 | Болт М8-6gx16 | |
| 46 | Шайба 8Т | Шайба 8Т | |
| 47 | 31 0150 | Шайба 8 ГОСТ 11371-78 | |
| 48 | ВК 353-Э | Выключатель стартера и приборов ВК 353-Э | |
| 48 | ВК 353-Т | Выключатель стартера и приборов ВК 353-Т | |
| 48 | ВК 353 | Выключатель стартера и приборов ВК 353 | |
| 49 | 11.3704 000 | Выключатель кнопочный 11.3704 000 | |
| 50 | 405-10-37-01-20 | Панель | |
| 50 | 405-10-37-01 | Панель | |
| 51 | 607605 | Колодка гнездовая | |
| 52 | 901.3747 | Реле ТУ 37.003.1418-94 | |
| 53 | Гайка М6 | Гайка М6 | |
| 54 | 405-10-149-19-10СП(SP) | Провод | |
| 54 | 405-10-149-19СП(SP) | Провод | |
| 55 | Ключ | Ключ | |
| 56 | В-45М, Т | Переключатель В-45М, Т | |
| 56 | В-45М | Переключатель В-45М ТУ 16-526.016-73 | |
| 56 | В-45М | Переключатель В-45М ТУ 16-526.016-73 |
Содержащиеся в справочниках-каталогах запасные части и детали не предлагаются к продаже, а носят исключительно информационный характер