Каталог запасных частей к технике: Промтрактор ТГ-302Я. Установка гидросистемы
1
2
3
3
3
3
3
3
3
3
3
3
3
3
3
3
3
3
3
4
4
4
4
4
5
5
6
6
7
7
7
7
7
7
7
7
8
8
8
8
8
8
8
9
9
9
9
10
10
10
11
11
11
12
12
13
13
14
14
15
15
16
16
17
18
18
19
19
20
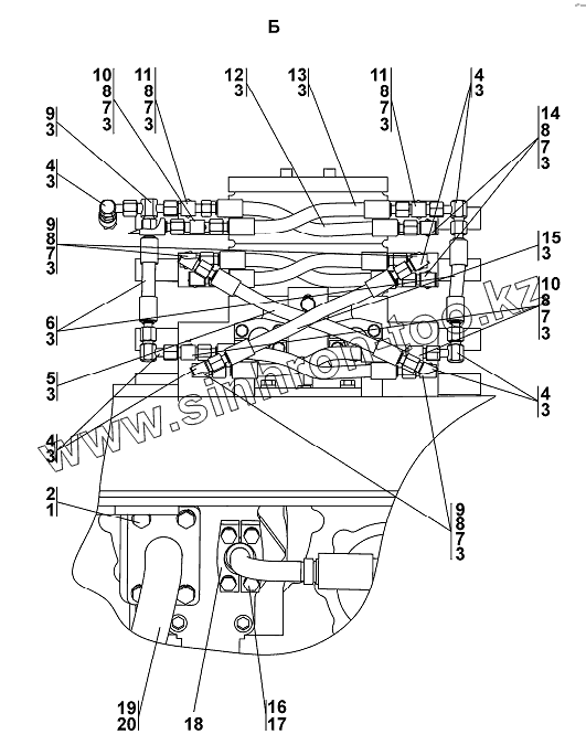
| Позиция на иллюстрации | Заводской номер детали | Название детали | |
|---|---|---|---|
| 1 | Шайба16ОТ | Шайба 16 ОТ | |
| 2 | БолтМ16х1,5-6gх35 | Болт М16х1,5-6gх35 | |
| 3 | Кольцо 008-010-14-2-51-1668 | Кольцо 008-010-14-2-51-1668 | |
| 4 | 311102-26-514-02СП(SP) | Угольник | |
| 4 | 311102-26-514-02-20СП(SP) | Угольник | |
| 5 | 311102-26-517-52СП(SP) | Рукав диаметр 8 | |
| 5 | 311102-26-517-52-20СП(SP) | Рукав диаметр 8 | |
| 6 | 311102-26-517-42СП(SP) | Рукав d.8 | |
| 6 | 311102-26-517-42-20СП(SP) | Рукав d.8 | |
| 7 | 313512-26-26 | Штуцер ввертной | |
| 7 | 313512-26-26-20 | Штуцер ввертной | |
| 8 | 0602-28-136К | Шайба специальная | |
| 9 | 311102-26-523СП(SP) | Тройник | |
| 9 | 311102-26-523-20СП | Тройник | |
| 10 | 311102-26-528-01СП(SP) | Тройник | |
| 10 | 311102-26-528-01-20СП(SP) | Тройник | |
| 11 | 311102-26-528-20СП | Тройник | |
| 11 | 311102-26-528СП(SP) | Тройник | |
| 12 | 311102-26-517-36СП(SP) | Рукав диам. 8 | |
| 12 | 311102-26-517-36-20СП(SP) | Рукав диам. 8 | |
| 13 | 311102-26-517-47СП(SP) | Рукав d.8 | |
| 13 | 311102-26-517-47-20СП(SP) | Рукав d.8 | |
| 14 | 311102-26-514-03СП(SP) | Угольник | |
| 14 | 311102-26-514-03-20СП(SP) | Угольник | |
| 15 | 311102-26-517-51-20СП(SP) | Рукав диаметр 8 | |
| 15 | 311102-26-517-51СП(SP) | Рукав диаметр 8 | |
| 16 | 280501 | Болт М14-6gх50 | |
| 16 | 280501-20 | Болт М14-6gх50 | |
| 17 | Шайба14ОТ | Шайба 14 ОТ | |
| 18 | 313512-26-535 | Фланец | |
| 18 | 313512-26-535-20 | Фланец | |
| 19 | 311516-26-6СП(SP) | Трубопровод | |
| 19 | 311516-26-6-20СП(SP) | Трубопровод | |
| 20 | Кольцо088-095-46-2-51-1668 | Кольцо 088-095-46-2-51-1668 |
Содержащиеся в справочниках-каталогах запасные части и детали не предлагаются к продаже, а носят исключительно информационный характер