Каталог запасных частей к технике: Промтрактор ТГ-302Я. Редуктор
1
1
2
2
3
4
5
6
7
8
8
9
9
10
10
10
11
12
12
13
14
15
16
17
18
19
19
20
21
21
22
22
23
24
25
26
26
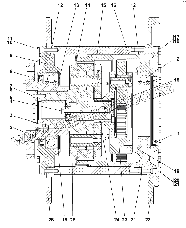
| Позиция на иллюстрации | Заводской номер детали | Название детали | |
|---|---|---|---|
| 1 | 180-220-15BASL(NBR)DIN3761 | Манжета | |
| 2 | 132 | Подшипник 132 | |
| 3 | 313512-90-26 | Кольцо | |
| 4 | 281393 | Болт М12-6gх140.109.40Х.019 ГОСТ 7796-70 | |
| 5 | 315211 | Шайба | |
| 6 | 280231 | Болт 3М10х25 | |
| 7 | Проволока1,0-0-С | Проволока 1,0-0-С | |
| 8 | 313512-90-25 | Фланец | |
| 8 | 313512-90-25-20 | Фланец | |
| 9 | 311516-90-4 | Крышка | |
| 9 | 311516-90-4-20 | Крышка | |
| 10 | 280361-01 | Болт М12-6gx45 | |
| 10 | 280361-01-20 | Болт М12-6gx45 | |
| 11 | Шайба12ОТ | Шайба12ОТ | |
| 12 | Кольцо345-355-58-2-3 | Кольцо 345-355-58-2-3 | |
| 13 | КольцоС160 | Кольцо С160 | |
| 14 | 313512-90-20 | Кольцо | |
| 15 | 313512-90-16 | Шестерня | |
| 16 | 311516-90-12 | Проставка | |
| 17 | БолтМ12-6gх35 | Болт М12-6gх35 | |
| 18 | 313512-90-13 | Фиксатор | |
| 19 | КольцоС240 | Кольцо С240 | |
| 20 | 375516 | Пробка | |
| 21 | Кольцо012-016-25-2-51-1668 | Кольцо | |
| 22 | 311516-90-2 | Реборда | |
| 22 | 311516-90-2-20 | Реборда | |
| 23 | 313512-90-101СП(SP) | Водило | |
| 24 | 313512-90-29 | Втулка | |
| 25 | 313512-90-102СП(SP) | Водило | |
| 26 | 311516-90-3 | Барабан | |
| 26 | 311516-90-3-20 | Барабан |
Содержащиеся в справочниках-каталогах запасные части и детали не предлагаются к продаже, а носят исключительно информационный характер