Вернуться на главную
Поиск
Каталоги запчастей к технике
Спецтехника
Промтрактор
ТГ-302Я
Каток опорный
Каталог запасных частей к технике: Промтрактор ТГ-302Я. Каток опорный
zoom-in
zoom-out
enlarge
shrink
circle-right
circle-left
file-text2
info
cart
Тип техники
Не выбрано
Легковые автомобили
Грузовые автомобили и прицепы
Автобусы
Сельхозтехника
Спецтехника
Двигатели
Мототехника
Марка
Не выбрано
Ammann
BOMAG
CARMIX
CASE IH
Changlin
ChengGong
Dimex
Doosan
DYNAPAC
Foton
HAMM
Hidromek
Hitachi
Hyundai
JCB
JLG
John Deere
Komatsu
LIEBHERR
LiuGong
Lonking (LongGong)
Luneng
MANITOU
Mitsuber
New Holland
PENGPU
RM-Terex
SANY
SDLG
SEM
Shantui
Shehwa HBXG
Soosan
TIGARBO
VOGELE
Volvo
WAY
WIRTGEN
XCMG
XGMA
Xiamen
YTO
Yuchai
Zoomlion
Автокран
АЗСМ
Алтайлесмаш
Амкодор
АОМЗ
Атек
АТЗ
Балканкар Рекорд
БелАЗ
Беловеж
Борекс
Брянский Арсенал
Булат
ВЭКС
ГАЗ
Геомаш
Гидромаш
Донекс
Дормаш
Дормашина
Дорэлектромаш
ДЭЗ
ЕлАЗ
ЗЗГТ
Ижнефтемаш
Канаш-электрокар
КЗКТ
ККЗ
Клевер
Клинцовский автокрановый завод
КМЗ
КМЗ 1 Мая
Ковровец
Коммаш
Кранэкс
КЭЗ
КЭМЗ
ЛЗА
МАЗ
МЗИК
МЗКМ
МЗКТ
Михневский РМЗ
МоАЗ
Мозырский МЗ
МТЗ
ОЗП
Онежец
ПАО "ТЗА"
ППС Детва
Промтрактор
ПТЗ
Раскат
СпецАгрегат
ТВЭКС
ТТМ
УВЗ
Угличмаш
УЗТМ
ХТЗ
ЧЗКМ
ЧСДМ
ЧТЗ
ЭКСКО
ЭКСМАШ
ЮрМаш
Модель
Не выбрано
ПК-12.02 (2007)
ПК-12.02К (2007)
ПК-60.01 (2007)
Т-11.01К (2008)
Т-11.01Я
Т-11.02К (2008)
Т-11.02Я (2008)
Т-15.01К (2007)
Т-15.01Я (2000)
Т-15.02K (2009)
Т-15.02Я (2009)
Т-20.01К
Т-20.01Я (2000)
Т-20.01Я (2005) (2005)
Т-20.02К (Четра) (2009)
Т-20.02Я (Четра) (2009)
Т-25.01К1 (2008)
Т-25.01Я (2006)
Т-330 (2006)
Т-35.01К (2007)
Т-35.01Я
Т-40.01К (2008)
Т-50.01 (1998)
Т-500 (1999)
Т-9.01Я (2007)
ТГ-121Я (2004)
ТГ-221КМ (2006)
ТГ-221Я (2004)
ТГ-301К (2006)
ТГ-301Я (2004)
ТГ-302Я (2010)
ТГ-503К (2006)
ТГ-503Я (2006)
ТГ-511 (2008)
Шасси ТП-20.02 (2008)
Схема
>
Не выбрано
Установка двигателя ЯМЗ-238
Установка двигателя ЯМЗ-238
Установка систем воздухоочистки и выпуска
Установка систем воздухоочистки и выпуска
Воздухоочиститель
Установка топливного бака
Установка топливного бака
Бак топливный
Бак топливный
Установка системы подогрева
Установка системы подогрева
Установка системы подогрева
Система охлаждения
Система охлаждения
Система охлаждения
Установка радиаторная
Электрооборудование
Электрооборудование
Электрооборудование пола кабины
Электрооборудование пола кабины
Установка электрооборудования на раме
Электрооборудования крыши кабины
Электрооборудование крыши кабины
Контейнер АКБ
Блок выключателей
Блок выключателей
Подключение блока отображения информации
Щиток приборов
Щиток выключателей
Электрооборудование передней облицовки
Электрооборудование стрелы грузовой
Электрооборудование трансмиссии
Электрооборудование топливного бака
Электрооборудование топливного бака
Электрооборудование двигателя
Установка фары
Рама
Балка
Система ходовая
Тележка
Колесо натяжное
Каток поддерживающий
Механизм сдавания
Каток опорный
Механизм натяжения
Гусеница
Установка кожухов
Установка трансмиссии
Установка трансмиссии
Блок трансмиссии
Передача главная
Коробка передач с системой гидроуправления
Коробка передач планетарная
Водило
Водило
Водило
Бустер
Гидротрансформатор с редуктором привода насосов
Гидротрансформатор с редуктором привода насосов
Гидротрансформатор с редуктором привода насосов
Клапан
Фильтр
Блок управления
Клапан
Клапан
Клапан
Клапан
Клапан
Клапан
Клапан
Фрикцион бортовой и тормоз остановочный
Водило
Передача бортовая, фрикцион и тормоз
Передача бортовая
Установка гидросистемы
Установка гидросистемы
Установка гидросистемы
Установка гидросистемы
Клапан
Клапан
Бак
Гидроцилиндр диаметр 160
Гидрозамок
Клапан
Клапан
Кабина
Управление трактором
Установка сиденья
Пол
Установка отопителя кабины
Облицовка
Облицовка
Установка независимого отопителя кабины
Установка кондиционера
Установка системы вентиляции и отопления кабины
Кабина
Кабина
Кабина
Кабина
Установка лебедок
Установка лебедок
Лебедка
Лебедка
Редуктор
Тормоз
Водило
Водило
Муфта обгонная
Установка стрелы и полиспастов
Установка стрелы и полиспастов
Установка стрелы и полиспастов
Установка стрелы и полиспастов
Подвеска крюка
Обойма подвесная
Обойма стреловая
Установка противовеса
Установка противовеса
Портал
Установка прицепного устройства
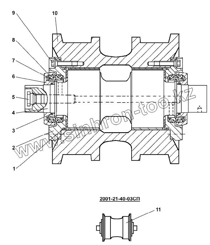
2001-21-40-03СП
1
2
3
4
5
5
6
7
8
9
9
10
10
11
11
Позиция на иллюстрации
Заводской номер детали
Название детали
2001-21-40-03СП
2001-21-40-03СП
Каток опорный
1
Кольцо122-130-46-2-51-1668
Кольцо 122-130-46-2-51-1668
2
2001-21-75СП(SP)
Фланец
3
Кольцо066-071-30-2-51-1668
Кольцо 066-071-30-2-51-1668
4
2001-21-252
Ось
5
375509
Пробка
5
375509-20
Пробка
6
2001-21-107
Крышка
7
2501-21-142
Кольцо уплотнительное
8
400212
Кольцо упругое
9
2501-21-411
Болт
9
2501-21-411-20
Болт
10
2001-21-55СП(SP)
Каток
10
2001-21-55-20СП(SP)
Каток
11
2001-21-55-01СП(SP)
Каток
11
2001-21-55-01-20СП
Каток
Содержащиеся в справочниках-каталогах запасные части и детали не предлагаются к продаже, а носят исключительно информационный характер
Дополнительная информация
×
Название:
Номер:
Примечание: