Каталог запасных частей к технике: Промтрактор ТГ-302Я. Кабина
1
1
2
2
3
3
4
4
5
5
6
6
7
7
8
9
10
10
11
12
13
14
15
15
16
17
17
18
18
19
19
20
21
22
22
23
24
25
26
26
27
28
29
30
31
31
31
31
32
32
32
33
34
35
36
36
36
37
38
38
39
39
40
41
42
43
44
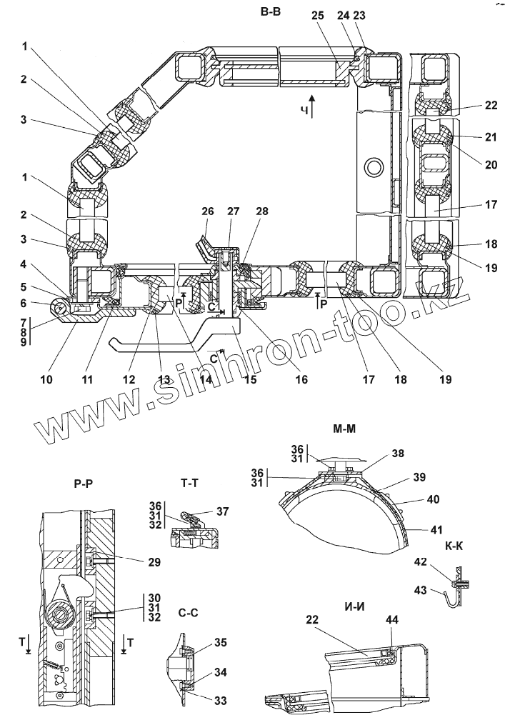
| Позиция на иллюстрации | Заводской номер детали | Название детали | |
|---|---|---|---|
| 1 | ТТ2501-59-110СП(SP) | Стеклопакет СПТК | |
| 2 | 312001-59-77-02 | Окантовка | |
| 3 | 46-59-419-02 | Кант №23 | |
| 4 | 401-59-422 | Планка | |
| 4 | 401-59-422-20 | Планка | |
| 5 | 46-59-245СП(SP) | Створка | |
| 5 | 46-59-245-20СП(SP) | Створка | |
| 6 | 2501-59-105 | Стержень | |
| 6 | 2501-59-105-20 | Стержень | |
| 7 | 280535 | Болт М16х1,5-6gх38.109.40Х.019 ГОСТ 7796-70 | |
| 7 | 280535-20 | Болт М16х1,5-6gх38.109.40Х.029 ГОСТ 7796-70 | |
| 8 | Шайба16ОТ | Шайба 16 ОТ | |
| 9 | Шайба16 | Шайба 16 | |
| 10 | ТТ2501-59-140-01СП(SP) | Дверь | |
| 10 | ТТ2501-59-140-01-20СП(SP) | Дверь | |
| 11 | 400-460 | Уплотнитель двери | |
| 12 | 2501-59-73-01 | Окантовка | |
| 13 | 46-59-419-01 | Кант №23 | |
| 14 | 2501-59-118СП(SP) | Стеклопакет СПКТ ТУ21-0287200-005-91 | |
| 15 | 2501-59-134СП(SP) | Ручка | |
| 15 | 2501-59-134-20СП(SP) | Ручка | |
| 16 | ТУ4980-001-05786040-2005 | Замок правый А1.2501-59-25 | |
| 17 | ТТ2501-59-111СП(SP) | Стеклопакет СПТК | |
| 18 | 46-59-419-04 | Кант №23 | |
| 19 | 312001-59-77-01 | Окантовка | |
| 20 | 312001-59-77 | Окантовка | |
| 21 | 46-59-419 | Кант №23 | |
| 22 | ТТ2501-59-112СП(SP) | Стеклопакет СПТК | |
| 23 | 2501-59-234 | Окантовка | |
| 24 | 46-59-419-06 | Кант №23 | |
| 25 | 3205-6403010СБ | Рамка окна двери водителя 3205-6403010СБ | |
| 26 | 2501-59-135СП(SP) | Ручка | |
| 26 | 2501-59-135-20СП(SP) | Ручка | |
| 27 | А1.2501-59-102 | Винт А1.2501-59-102 | |
| 28 | ТУ381051884-89 | Уплотнитель 2107-6107018 | |
| 29 | А1.2501-59-103 | Планка А1.2501-59-103 | |
| 30 | БолтМ8-6gх30 | Болт М8-6gх30 | |
| 31 | Шайба8Т | Шайба 8Т | |
| 32 | 310150 | Шайба 8.01.08кп.019 ГОСТ 11371-78 | |
| 32 | 310150-20 | Шайба 8.01.08кп.0221 ГОСТ 11371-78 | |
| 33 | МЦ8-9.00.03 | Пластина пружинная МЦ8-9.00.03 | |
| 34 | МЦ8-9.00.04 | Винт МЦ8-9.00.04 | |
| 35 | МЦ8-9.00.02 | Накладка МЦ8-9.00.02 | |
| 36 | БолтМ8-6gх20 | Болт М8-6gх20 | |
| 37 | 2501-59-101 | Ручка | |
| 38 | 2501-59-150 | Кронштейн | |
| 38 | 2501-59-150-20 | Кронштейн | |
| 39 | 401-59-260СП(SP) | Гнездо | |
| 39 | 401-59-260-20СП(SP) | Гнездо | |
| 40 | 400085 | Опора | |
| 41 | 54-00-630 | Хомут крепления термоса 54-00-630 | |
| 42 | ВинтВМ4-6gх16 | Винт ВМ4-6gх16 | |
| 43 | 2501-59-268 | Крючок | |
| 44 | Dinitrol500 | Клей |
Содержащиеся в справочниках-каталогах запасные части и детали не предлагаются к продаже, а носят исключительно информационный характер