Каталог запасных частей к технике: Промтрактор ТГ-302Я. Гидрозамок
1
1
2
2
3
4
5
6
7
8
9
10
11
12
13
13
14
15
16
17
18
19
20
20
21
22
22
23
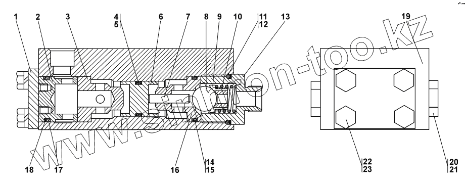
| Позиция на иллюстрации | Заводской номер детали | Название детали | |
|---|---|---|---|
| 1 | 312501-26-181-20 | Крышка | |
| 1 | 312501-26-181 | Крышка | |
| 2 | 312501-26-182 | Втулка | |
| 2 | 312501-26-182-20 | Втулка | |
| 3 | 312501-26-183 | Седло | |
| 4 | 2501-93-581 | Кольцо защитное | |
| 5 | Кольцо032-038-36-2-51-1668 | Кольцо | |
| 6 | 2501-93-573 | Поршень | |
| 7 | 2501-93-577 | Толкатель | |
| 8 | Шарик26,988-40 | Шарик 26,988-40 | |
| 9 | 2501-93-574 | Вкладыш | |
| 10 | 385582 | Пружина | |
| 11 | 2501-26-1158 | Шайба защитная | |
| 12 | Кольцо049-055-36-2-51-1668 | Кольцо | |
| 13 | 011501-93-640 | Штуцер ввертной | |
| 13 | 011501-93-640-20 | Штуцер ввертной | |
| 14 | 46-93-607-02 | Кольцо защитное | |
| 15 | Кольцо040-048-46-2-51-1668 | Кольцо 040-048-46-2-51-1668 | |
| 16 | 2501-93-572-01 | Седло | |
| 17 | Кольцо042-050-46-2-51-1668 | Кольцо 042-050-46-2-51-1668 | |
| 18 | 440005 | Шайба защитная | |
| 19 | 312501-26-129-01 | Корпус | |
| 20 | 375714-03 | Пробка | |
| 20 | 375714-03-20 | Пробка | |
| 21 | Кольцо021-027-36-2-51-1668 | Кольцо 021-027-36-2-51-1668 | |
| 22 | 280544 | Болт М16х1,5-6gх45.109.40Х019 ГОСТ 7796-70 | |
| 22 | 280544-20 | Болт М16х1,5-6gх45.109.40Х029 ГОСТ 7796-70 | |
| 23 | Шайба16-70 | Шайба 16 -70 |
Содержащиеся в справочниках-каталогах запасные части и детали не предлагаются к продаже, а носят исключительно информационный характер