Каталог запасных частей к технике: Промтрактор ТГ-302Я. Фрикцион бортовой и тормоз остановочный
1
2
3
4
5
6
7
8
9
10
11
12
13
14
15
16
17
18
19
20
21
22
23
24
25
26
27
28
29
30
31
32
33
34
35
36
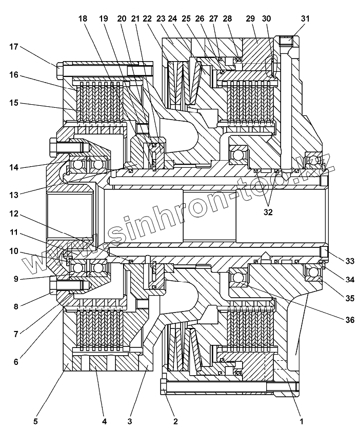
| Позиция на иллюстрации | Заводской номер детали | Название детали | |
|---|---|---|---|
| 1 | 2001-18-33 | Корпус | |
| 2 | 285389 | Болт | |
| 3 | 2001-18-103СП(SP) | Барабан | |
| 4 | 2001-18-8 | Барабан | |
| 5 | 2001-18-14 | Крышка | |
| 6 | 2001-18-9 | Барабан | |
| 7 | 2001-18-15 | Обойма | |
| 8 | 280339 | Болт 3М12-6gх30.109.40Х019 ГОСТ 7796-70 | |
| 9 | 1000920 | Подшипник 1000920 | |
| 10 | 580760 | Кольцо С100 ГОСТ 13940-86 | |
| 11 | 2001-18-31 | Вал | |
| 12 | 2501-12-181-22 | Кольцо уплотнительное | |
| 13 | 2001-18-10 | Поршень | |
| 14 | 2001-18-21 | Кольцо | |
| 15 | 2001-18-7 | Диск | |
| 16 | 2001-18-100СП(SP) | Диск | |
| 17 | 280391 | Болт 3М12х1,25-6gх105 | |
| 18 | 2001-18-12 | Кольцо | |
| 19 | 580814 | Кольцо | |
| 20 | 2501-12-181-01 | Кольцо уплотнительное | |
| 21 | 2001-18-11 | Кольцо | |
| 22 | 312501-90-133 | Тарелка | |
| 23 | 2001-18-6 | Барабан | |
| 24 | 2001-18-5 | Диск нажимной | |
| 25 | 2001-18-4 | Поршень | |
| 26 | 2501-12-181-30 | Кольцо уплотнительное | |
| 27 | 2501-12-181-45 | Кольцо уплотнительное | |
| 28 | Кольцо345-355-58-2-3 | Кольцо 345-355-58-2-3 | |
| 29 | 2001-18-3 | Проставка | |
| 30 | Кольцо016-020-25-2-51-1668 | Кольцо 016-020-25-2-51-1668 | |
| 31 | 700-37-2071 | Пробка | |
| 32 | 2001-18-28 | Кольцо уплотнительное | |
| 33 | 700-32-2074 | Штифт | |
| 34 | 580805 | Кольцо С110 ГОСТ 13940-86 | |
| 35 | 1000922Л | Подшипник 1000922Л | |
| 36 | 1000924 | Подшипник 1000924 |
Содержащиеся в справочниках-каталогах запасные части и детали не предлагаются к продаже, а носят исключительно информационный характер