Каталог запасных частей к технике: Промтрактор ТГ-301Я. 312002-26-1СП Установка гидросистемы
1
1
2
2
3
3
4
4
5
6
6
7
7
8
9
9
10
10
11
12
12
13
14
15
15
16
17
17
18
19
19
20
20
21
21
22
23
23
24
24
25
26
27
28
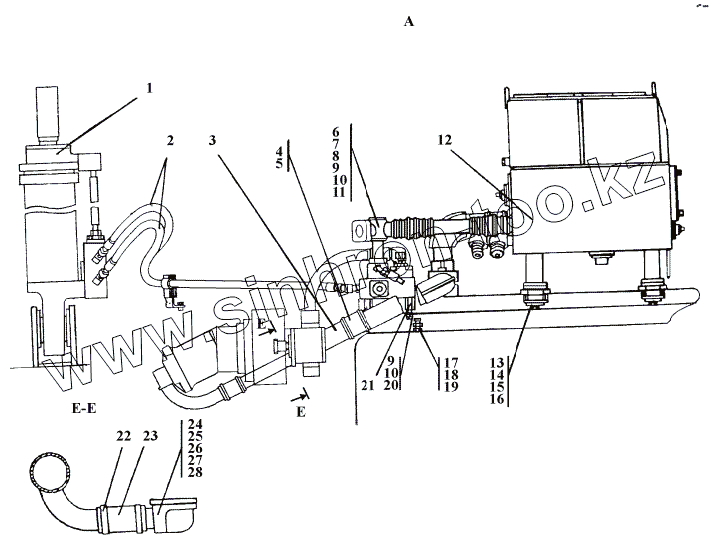
| Позиция на иллюстрации | Заводской номер детали | Название детали | |
|---|---|---|---|
| 1 | 312002-26-80-20СП | Гидроцилиндр диам. 160 | |
| 1 | 312002-26-80СП | Гидроцилиндр диам. 160 | |
| 2 | 46-26-355-12-20СП | Рукав высокого давления d.16 армированный | |
| 2 | 46-26-355-12СП | Рукав высокого давления d.16 армированный | |
| 3 | 312001-26-36СП | Трубопровод | |
| 3 | 312001-26-36-20СП | Трубопровод | |
| 4 | 46 1701-20 | Рукав | |
| 4 | 46 1701 | Рукав | |
| 5 | 1085-У-02 | Хомут стяжной червячный 1085-У-02 | |
| 6 | 312001-26-12-20СП | Трубопровод | |
| 6 | 312001-26-12СП | Трубопровод | |
| 7 | 2501-26-83 | Фланец | |
| 7 | 2501-26-83-20 | Фланец | |
| 8 | 44 0038 | Кольцо защитное | |
| 9 | Болт М12-6gx35 | Болт М12-6gx35 | |
| 10 | Шайба 12.ОТ | Шайба 12.ОТ | |
| 11 | 032-038-36-2-51-1668 | Кольцо ГОСТ 18829-73/ТУ 38.005.204-84 | |
| 12 | 312001-26-30СП | Бак гидросистемы | |
| 12 | 312001-26-30-20СП | Бак гидросистемы | |
| 13 | 2501-25-37СП | Амортизатор | |
| 14 | 2001-26-272 | Шайба | |
| 15 | 28 0570-20 | Болт М16х1,5-6gх105 ГОСТ 7796-70 | |
| 15 | 28 0570 | Болт М16х1,5-6gх105 ГОСТ 7796-70 | |
| 16 | Шайба 16.ОТ | Шайба 16.ОТ | |
| 17 | 5001-26-78 | Штуцер ввертной | |
| 17 | 5001-26-78-20 | Штуцер ввертной | |
| 18 | 018-022-25-2-51-1668 | Кольцо ГОСТ 9833-73/ТУ 38.005.204-84 | |
| 19 | Н.036.23.022-01 | Контргайка | |
| 19 | Н.036.23.022 | Контргайка | |
| 20 | 31 0210 | Шайба 12х2.01.08кп.019 ГОСТ 11371-78 | |
| 20 | 31 0210-20 | Шайба 12х2 ГОСТ 11371-78 | |
| 21 | 312001-26-46 | Опора | |
| 21 | 312001-26-46-20 | Опора | |
| 22 | 1055-У-02 | Хомут стяжной червячный 1055-У-02 | |
| 23 | 46 1401-20 | Рукав | |
| 23 | 46 1401 | Рукав | |
| 24 | 312001-26-11СП | Трубопровод | |
| 24 | 312001-26-11-20СП | Трубопровод | |
| 25 | Болт М10-6gx70 | Болт М10-6gx70 | |
| 26 | Болт М10-6gx30 | Болт М10-6gx30 | |
| 27 | Шайба 10.ОТ | Шайба 10.ОТ | |
| 28 | 042-050-46-2-51-1668 | Кольцо ГОСТ 18829-73/ТУ 38.005.204-84 |
Содержащиеся в справочниках-каталогах запасные части и детали не предлагаются к продаже, а носят исключительно информационный характер