Каталог запасных частей к технике: Промтрактор ТГ-301Я. 1501-15-20СП Блок управления
1
2
3
4
5
5
6
7
7
7
7
8
8
8
8
9
9
9
10
11
11
12
13
14
15
16
17
18
19
20
21
21
22
23
24
25
25
26
27
28
29
30
31
32
33
34
35
36
37
38
39
40
41
42
43
44
45
46
47
48
49
50
50
51
53
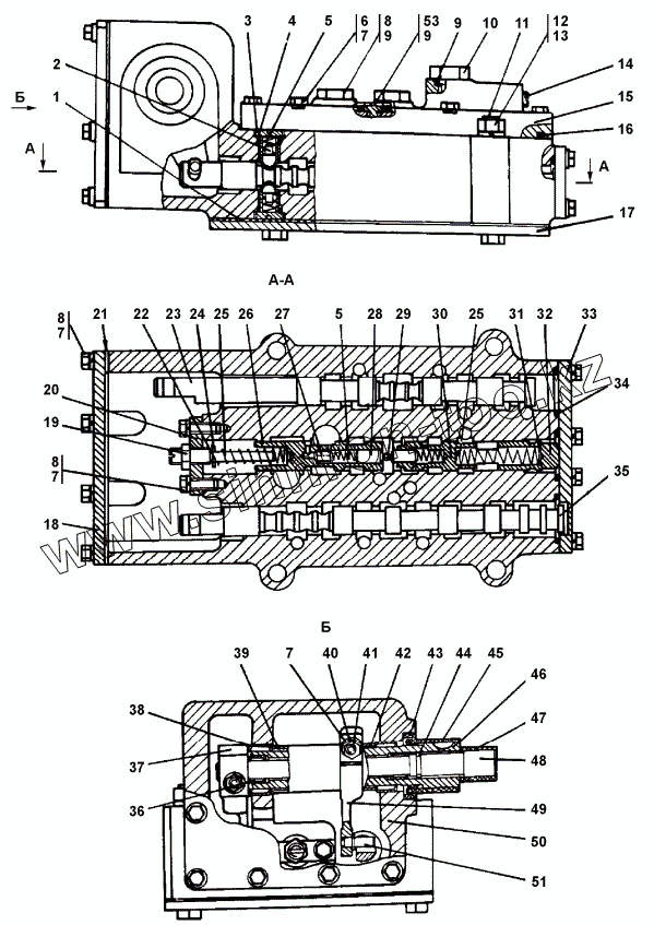
| Позиция на иллюстрации | Заводской номер детали | Название детали | |
|---|---|---|---|
| 1501-15-20-20СП | 1501-15-20-20СП | Блок управления | |
| 1501-15-20СП | 1501-15-20СП | Блок управления | |
| 1 | 45 0291 | Прокладка | |
| 2 | 1501-15-12 | Фиксатор | |
| 3 | 1501-15-11 | Корпус фиксатора | |
| 4 | 014-018-25-2-51-1668 | Кольцо 014-018-25-2-51-1668 | |
| 5 | 38 5092 | Пружина | |
| 6 | Болт М8-6gх30 | Болт М8-6gх30 | |
| 7 | Шайба 8Т | Шайба 8Т | |
| 8 | 37 5330 | Пробка | |
| 8 | Болт М8-6gх25 | Болт М8-6gх25 | |
| 9 | 018-022-25-2-51-1668 | Кольцо ГОСТ 9833-73/ТУ 38.005.204-84 | |
| 10 | 1501-15-130СП | Дроссель | |
| 11 | 28 0388 | Болт М12-6gх90.58.019 ГОСТ 7795-70 | |
| 11 | 28 0388-20 | Болт М12-6gх90.58.029 ГОСТ 7795-70 | |
| 12 | Гайка М12 | Гайка М12 | |
| 13 | Шайба 12 | Шайба 12 | |
| 14 | 37 0140-08 | Пробка КГ1/8” | |
| 15 | 1501-15-2 | Крышка | |
| 16 | 190-195-36-2-51-1668 | Кольцо | |
| 17 | 1501-15-23 | Крышка | |
| 18 | 1501-15-21 | Крышка | |
| 19 | 30 0220 | Гайка М12х1,25-6Н.04.019 ГОСТ 15522-70 | |
| 20 | 1501-15-25 | Планка | |
| 21 | 45 0287 | Прокладка | |
| 21 | 45 0287-20 | Прокладка | |
| 22 | 1501-15-24 | Винт | |
| 23 | 1501-15-4 | Золотник | |
| 24 | 31 0150 | Шайба 8 ГОСТ 11371-78 | |
| 25 | 38 5273 | Пружина | |
| 26 | 1501-15-5 | Золотник | |
| 27 | 1501-15-7 | Клапан | |
| 28 | 1501-15-6 | Плунжер | |
| 29 | 1501-15-14 | Стопор | |
| 30 | 1501-15-9 | Золотник | |
| 31 | 31 0110 | Шайба 6.01.08кп.019 ГОСТ 11371-78 | |
| 32 | 1501-15-65 | Поршень | |
| 33 | 1501-15-20 | Крышка | |
| 34 | 038-046-46-2-51-1668 | Кольцо 038-046-46-2-51-1668 | |
| 35 | 1501-15-3 | Золотник | |
| 36 | 941/15 | Подшипник 941/15 | |
| 37 | 1501-15-19 | Рычаг | |
| 38 | 941/30 | Подшипник 941/30 | |
| 39 | 1501-15-17 | Втулка | |
| 40 | Гайка М8 | Гайка М8 | |
| 41 | 312501-91-157 | Клин | |
| 42 | 1501-15-17-01 | Втулка | |
| 43 | Манжета 2.2-30х52-3 | Манжета 2.2-30х52-3 | |
| 44 | 016-020-25-2-51-1668 | Кольцо ГОСТ 9833-73/ГОСТ 18829-73 | |
| 45 | 2501-15-152 | Труба | |
| 46 | 1501-15-15 | Валик | |
| 47 | 2501-15-152-01 | Труба | |
| 48 | 1501-15-16 | Валик | |
| 49 | 1501-15-18 | Рычаг | |
| 50 | 1501-15-1 | Корпус | |
| 50 | 1501-15-1-20 | Корпус | |
| 51 | 1501-15-22 | Палец | |
| 53 | 23 91722091 | Прокладка регулировочная |
Содержащиеся в справочниках-каталогах запасные части и детали не предлагаются к продаже, а носят исключительно информационный характер