Вернуться на главную
Поиск
Каталоги запчастей к технике
Спецтехника
Промтрактор
ТГ-301К
312001-20-1-01СП Муфта упругая
Каталог запасных частей к технике: Промтрактор ТГ-301К. 312001-20-1-01СП Муфта упругая
zoom-in
zoom-out
enlarge
shrink
circle-right
circle-left
file-text2
info
cart
Тип техники
Не выбрано
Легковые автомобили
Грузовые автомобили и прицепы
Автобусы
Сельхозтехника
Спецтехника
Двигатели
Мототехника
Марка
Не выбрано
Ammann
BOMAG
CARMIX
CASE IH
Changlin
ChengGong
Dimex
Doosan
DYNAPAC
Foton
HAMM
Hidromek
Hitachi
Hyundai
JCB
JLG
John Deere
Komatsu
LIEBHERR
LiuGong
Lonking (LongGong)
Luneng
MANITOU
Mitsuber
New Holland
PENGPU
RM-Terex
SANY
SDLG
SEM
Shantui
Shehwa HBXG
Soosan
TIGARBO
VOGELE
Volvo
WAY
WIRTGEN
XCMG
XGMA
Xiamen
YTO
Yuchai
Zoomlion
Автокран
АЗСМ
Алтайлесмаш
Амкодор
АОМЗ
Атек
АТЗ
Балканкар Рекорд
БелАЗ
Беловеж
Борекс
Брянский Арсенал
Булат
ВЭКС
ГАЗ
Геомаш
Гидромаш
Донекс
Дормаш
Дормашина
Дорэлектромаш
ДЭЗ
ЕлАЗ
ЗЗГТ
Ижнефтемаш
Канаш-электрокар
КЗКТ
ККЗ
Клевер
Клинцовский автокрановый завод
КМЗ
КМЗ 1 Мая
Ковровец
Коммаш
Кранэкс
КЭЗ
КЭМЗ
ЛЗА
МАЗ
МЗИК
МЗКМ
МЗКТ
Михневский РМЗ
МоАЗ
Мозырский МЗ
МТЗ
ОЗП
Онежец
ПАО "ТЗА"
ППС Детва
Промтрактор
ПТЗ
Раскат
СпецАгрегат
ТВЭКС
ТТМ
УВЗ
Угличмаш
УЗТМ
ХТЗ
ЧЗКМ
ЧСДМ
ЧТЗ
ЭКСКО
ЭКСМАШ
ЮрМаш
Модель
Не выбрано
ПК-12.02 (2007)
ПК-12.02К (2007)
ПК-60.01 (2007)
Т-11.01К (2008)
Т-11.01Я
Т-11.02К (2008)
Т-11.02Я (2008)
Т-15.01К (2007)
Т-15.01Я (2000)
Т-15.02K (2009)
Т-15.02Я (2009)
Т-20.01К
Т-20.01Я (2000)
Т-20.01Я (2005) (2005)
Т-20.02К (Четра) (2009)
Т-20.02Я (Четра) (2009)
Т-25.01К1 (2008)
Т-25.01Я (2006)
Т-330 (2006)
Т-35.01К (2007)
Т-35.01Я
Т-40.01К (2008)
Т-50.01 (1998)
Т-500 (1999)
Т-9.01Я (2007)
ТГ-121Я (2004)
ТГ-221КМ (2006)
ТГ-221Я (2004)
ТГ-301К (2006)
ТГ-301Я (2004)
ТГ-302Я (2010)
ТГ-503К (2006)
ТГ-503Я (2006)
ТГ-511 (2008)
Шасси ТП-20.02 (2008)
Схема
>
Не выбрано
312001-111-15СП/16СП Кабина
312001-111-15СП/16СП Кабина
312001-59-1СП Кабина
312001-59-1СП Кабина
312001-59-1СП Кабина
312001-59-1СП Кабина
312001-59-1СП Кабина
312001-89-1СП Обивка кабины
312001-89-1СП Обивка кабины
312001-89-1СП Обивка кабины
312001-13-1-04СП Управление трактором
312001-13-1-04СП Управление трактором
312001-13-50-02СП Привод управления
312001-13-50-02СП Привод управления
312001-13-50-02СП Привод управления
312001-13-50-02СП Привод управления
3501-13-143СП Блок управления
2501-23-1СП Установка сиденья
312001-24-1СП Пол
1101-47-1СП Установка отопителя кабины
312001-53-1СП Установка системы вентиляции и отопления кабины
312001-53-52СП Установка независимого отопителя кабины
312001-57-2СП Установка вентиляторов кабины
312002-55-1-01СП Облицовка
312002-55-1-01СП Облицовка
2006-01-1-04СП/-05СП Установка двигателя М11-С «Cummins»
2006-01-1-04СП/-05СП Установка двигателя М11-С «Cummins»
312006-05-1СП Установка систем воздухоочистки и выпуска
311506-05-13СП Воздухоочиститель
312006-43-1СП Установка системы подогрева
312006-43-1СП Установка системы подогрева
312006-43-1СП Установка системы подогрева
311506-25-1-01СП Установка топливного бака
311506-25-1-01СП Установка топливного бака
312001-25-10-01СП Бак топливный
312006-60-1СП Система охлаждения двигателя и трансмиссии
312006-60-1СП Система охлаждения двигателя и трансмиссии
311502-10-1-04/-05СП Электрооборудование
311502-10-1-13СП/-14СП Электрооборудование
311502-10-11-04СП/05СП Электрооборудование
312001-10-18-02СП Электрооборудование пола кабины
312001-10-18-02СП Электрооборудование пола кабины
312001-10-18-02СП Электрооборудование пола кабины
311502-10-13-04СП/05СП Установка электрооборудования на раме
311502-10-14-01СП/-04СП Электрооборудование стрелы грузовой
311502-10-17-01СП Электрооборудование подогревателя ПЖД30Г
312001-10-125-02СП Блок выключателей
312001-10-125-02СП Блок выключателей
312001-10-116СП Щиток приборов
312001-10-12СП Электрооборудование крыши кабины
312001-10-12СП Электрооборудование крыши кабины
312001-10-12СП Электрооборудование крыши кабины
312001-10-16СП Электрооборудование топливного бака
312001-10-16СП Электрооборудование топливного бака
311502-10-18СП Электрооборудование передней облицовки
2006-10-12-04СП/-12-05СП Электрооборудование двигателя
ТТ2501-10-145СП Электрооборудование гидробака
312001-10-117-01СП Щиток приборов 1
404-10-270СП Установка фары
405-10-133СП Блок выключателей
312002-11-1-01СП Рама
312002-21-1СП Система ходовая
312002-21-1СП Система ходовая
312002-21-3СП/2СП Тележка
2001-21-15СП Каток поддерживающий
1101-21-42-02СП/-42-03СП Механизм натяжения
2001-21-33СП Механизм сдавания
2001-21-40-02СП/-40-03СП Каток опорный
312002-21-41СП Колесо натяжное
312001-22-1-04СП/-1-05СП Гусеница
312001-51-1СП Установка прицепного устройства
312002-64-1-01СП Установка кожухов
312001-16-1-03СП Установка трансмиссии
312001-16-1-03СП Установка трансмиссии
2001-12-13СП Блок трансмиссии
2001-12-12СП Передача главная
2001-12-12СП Передача главная
2001-12-11СП Коробка передач
2001-12-10СП Коробка передач планетарная
2001-12-100СП Бустер
2001-12-102СП Водило
2001-12-103СП Водило
2001-12-118СП Водило
2001-14-1-01СП Гидротрансформатор с редуктором привода насосов
2001-14-1-01СП Гидротрансформатор с редуктором привода насосов
2001-14-1-01СП Гидротрансформатор с редуктором привода насосов
312001-15-9СП Крышка
312001-15-10СП Фильтр
1101-15-15-01СП Делитель потока
1501-15-20СП Блок управления
1501-15-41СП Блок управления
1101-16-112СП Клапан
2001-18-10СП Фрикцион бортовой и тормоз остановочный
312001-19-1СП Передача бортовая, фрикцион и тормоз
312001-19-10СП Передача бортовая
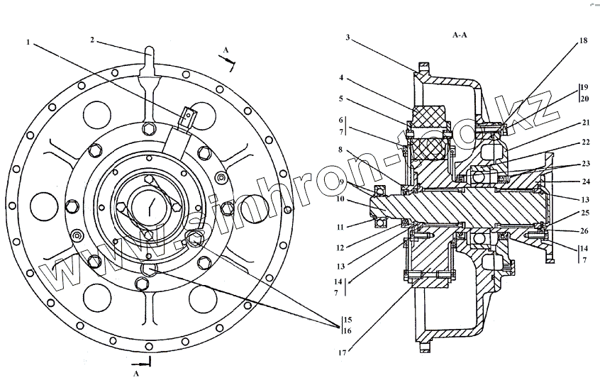
312001-20-1-01СП Муфта упругая
2001-49-1-04 Вал карданный
312002-26-1СП Установка гидросистемы
312002-26-1СП Установка гидросистемы
312002-26-80СП Гидроцилиндр d.160
312501-26-24СП Гидрозамок
312001-26-25СП Распределитель
2601-28-21СП Клапан
312001-26-30СП Бак гидросистемы
312001-90-1-01СП Установка лебедок
312001-90-9СП Лебедка
312001-90-10СП Редуктор
312001-90-12СП Редуктор
312001-90-13СП Фрикцион
312001-90-14СП Бустер тормоза
312001-90-18СП Бустерж
312001-90-19СП Водило
312001-91-1СП Распределитель лебедки
312501-91-10-01СП Распределитель гидромоторов
312501-91-10-01СП Распределитель гидромоторов
312501-91-11СП Клапан
312002-92-1СП Установка стрелы и полиспастов
312002-92-1СП Установка стрелы и полиспастов
312002-92-1СП Установка стрелы и полиспастов
312002-92-16СП/-16-01СП Подвеска крюка
312002-92-17СП Обойма подвесная
31.3502-92-580СП Обойма стреловая
312002-93-1СП Установка противовеса
312002-93-1СП Установка противовеса
312001-94-1-02СП Установка привода лебедки с системой гидроуправления
312001-94-1-02СП Установка привода лебедки с системой гидроуправления
312001-94-1-02СП Установка привода лебедки с системой гидроуправления
312001-94-1-02СП Установка привода лебедки с системой гидроуправления
312002-95-1СП Портал
312002-95-1СП Портал
1
1
2
2
3
3
4
5
6
6
7
7
7
8
9
10
11
12
13
13
14
14
14
15
15
16
17
18
19
20
21
21
22
23
24
25
26
Позиция на иллюстрации
Заводской номер детали
Название детали
312001-20-1-01-20СП(SP)
312001-20-1-01-20СП(SP)
Муфта упругая
312001-20-1-01СП(SP)
312001-20-1-01СП(SP)
Муфта упругая
1
46-14-141СП(SP)
Сапун
1
46-14-141-20СП(SP)
Сапун
2
28 0590-20
Рым-болт М16.029 ГОСТ 4751-73
2
28 0590
Рым-болт М16.05 ГОСТ 4751-73
3
312001-20-4
Корпус
3
312001-20-1-20
Корпус
4
40 0418
Втулка
5
2001-20-102СП(SP)
Шайба
6
28 5330-20
Болт
6
28 5330
Болт
7
Проволока 1,6-О-С
Проволока 1,6-О-С
8
2001-20-8
Крышка
9
58 0404
Кольцо С40
10
312001-20-3
Вал
11
180508
Подшипник 180508
12
Манжета 1,2-45x65-3
Манжета 1,2-45x65-3
13
2001-20-10
Кольцо
14
28 0231
Болт 3М10-6gх25
14
28 0231-20
Болт 3M10-6gx25
15
37 5331-20
Пробка
15
37 5331
Пробка
16
018-022-25-2-51-1668
Кольцо ГОСТ 9833-73/ТУ 38.005.204-84
17
2001-20-100СП(SP)
Ступица
18
260-270-58-2-3
Кольцо 260-270-58-2-3
19
Болт М12-6gx35
Болт М12-6gx35
20
Шайба 12 ОТ
Шайба 12 ОТ
21
2001-20-5
Крышка
21
2001-20-5-20
Крышка
22
315
Подшипник 315
23
Манжета 2,2-95x120-3
Манжета 2,2-95x120-3
24
2001-20-101СП(SP)
Фланец
25
080-090-58-2-51-1668
Кольцо 080-090-58-2-51-1668
26
2001-20-9
Крышка
Содержащиеся в справочниках-каталогах запасные части и детали не предлагаются к продаже, а носят исключительно информационный характер
Дополнительная информация
×
Название:
Номер:
Примечание: