Каталог запасных частей к технике: Промтрактор ТГ-221КМ. Воздухоочиститель
1
1
2
3
3
4
5
5
5
5
6
6
7
7
8
8
9
9
10
10
11
12
13
14
14
15
15
16
16
17
17
18
18
19
19
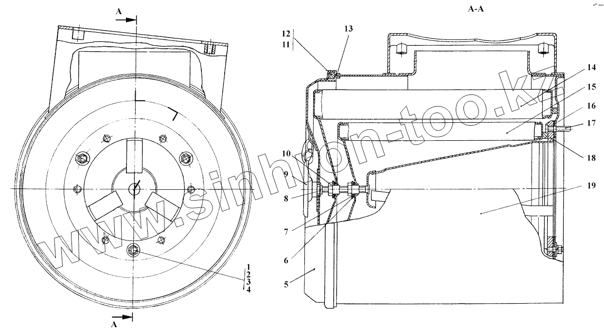
| Позиция на иллюстрации | Заводской номер детали | Название детали | |
|---|---|---|---|
| 1 | 290115-20 | Шпилька М8(3п/6g)х16.66.029 ГОСТ 22034-76 | |
| 1 | 290115 | Шпилька М8(3п/6g)х16.66.013 ГОСТ 22034-76 | |
| 2 | Шайба8Т | Шайба 8Т | |
| 3 | 310150-20 | Шайба 8.01.08кп.0221 ГОСТ 11371-78 | |
| 3 | 310150 | Шайба 8.01.08кп.019 ГОСТ 11371-78 | |
| 4 | ГайкаМ8 | Гайка | |
| 5 | 311506-05-13-20СП | Воздухоочиститель | |
| 5 | 46-05-351СП | Крышка | |
| 5 | 46-05-351-20 | Крышка | |
| 5 | 311506-05-13СП | Воздухоочиститель | |
| 6 | 400222-20 | Прокладка | |
| 6 | 400222 | Прокладка | |
| 7 | 46-05-764-20 | Шайба | |
| 7 | 46-05-764 | Шайба | |
| 8 | 315185 | Шайба | |
| 8 | 315185-20 | Шайба | |
| 9 | 46-05-366-20СП | Ручка | |
| 9 | 46-05-366СП | Ручка | |
| 10 | 46-05-763-20 | Гайка | |
| 10 | 46-05-763 | Гайка | |
| 11 | 400063-02 | Прокладка | |
| 12 | 400034-02 | Прокладка | |
| 13 | 46-05-774 | Кант №27 | |
| 14 | 46-05-342-20 | Фильтр | |
| 14 | 46-05-342СП | Фильтр | |
| 15 | 46-05-343-20СП | Фильтр | |
| 15 | 46-05-343СП | Фильтр | |
| 16 | 450033 | Прокладка | |
| 16 | 450033-20 | Прокладка | |
| 17 | 290130-20 | Шпилька М8(3n/6g)х32.66.023 ГОСТ 22034-76 | |
| 17 | 290130 | Шпилька М8(3n/6g)х32.66.013 ГОСТ 22034-76 | |
| 18 | 46-05-355СП | Центратор | |
| 18 | 46-05-355-20СП | Центратор | |
| 19 | 311506-05-12-20СП | Корпус | |
| 19 | 311506-05-12СП | Корпус |
Содержащиеся в справочниках-каталогах запасные части и детали не предлагаются к продаже, а носят исключительно информационный характер