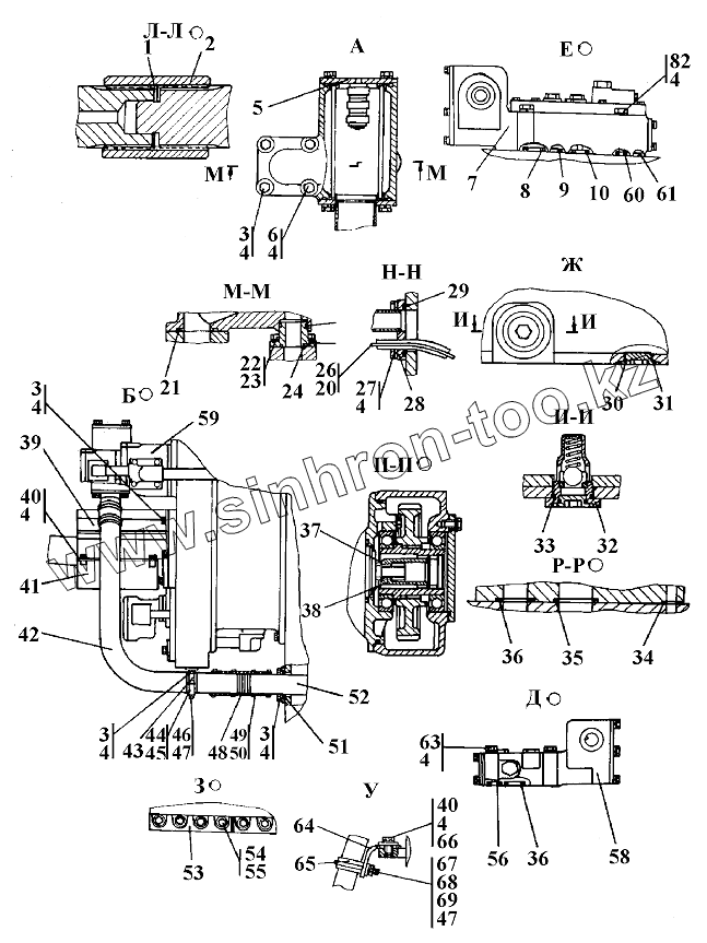
Каталог запасных частей к технике: Промтрактор ТГ-221КМ. Установка трансмиссии
312001-16-1-04-20СП
312001-16-1-04СП
1
2
3
3
3
3
4
4
4
4
4
4
4
4
4
4
5
5
6
6
7
7
8
9
10
20
21
22
22
23
24
26
27
28
28
29
30
30
31
32
32
33
34
35
36
36
37
38
39
39
40
40
41
41
42
42
43
43
44
44
45
46
47
47
47
48
48
49
50
51
52
52
53
54
54
55
56
58
58
59
59
60
61
62
62
63
63
64
64
65
65
66
66
67
67
68
69
| Позиция на иллюстрации | Заводской номер детали | Название детали | |
|---|---|---|---|
| 312001-16-1-04-20СП | 312001-16-1-04-20СП | Установка трансмиссии | |
| 312001-16-1-04СП | 312001-16-1-04СП | Установка трансмиссии | |
| 1 | 580515 | Кольцо С52 ГОСТ 13943-86 | |
| 2 | 2001-16-28 | Муфта | |
| 3 | БолтМ12-6gх30 | Болт М12-6gх30 | |
| 4 | Шайба12.ОТ | Шайба 12.ОТ | |
| 5 | 312001-16-102СП | Заборник | |
| 5 | 312001-16-102-20СП | Заборник | |
| 6 | 280388-20 | Болт М12-6gх90.109.40Х029 ГОСТ 7795-70 | |
| 6 | 280388 | Болт М12-6gх90.109.40Х.019 ГОСТ 7795-70 | |
| 7 | 1501-15-20-01-20СП | Блок управления | |
| 7 | 1501-15-20-01СП | Блок управления | |
| 8 | 034-038-25-2-51-1668 | Кольцо 034-038-25-2-51-1668 | |
| 9 | 049-055-36-2-51-1668 | Кольцо ГОСТ 18829-73/ТУ 38.005.204-84 | |
| 10 | 025-030-30-2-51-1668 | Кольцо ГОСТ 9833-73 | |
| 20 | 700-40-6575 | Прокладка | |
| 21 | 060-070-58-2-51-1668 | Кольцо ГОСТ 18829-73/ТУ 38.005.204-84 | |
| 22 | 280230 | Болт М10-6gх25 | |
| 22 | 280230-20 | Болт М10-6gх25 | |
| 23 | Шайба10.ОТ | Шайба 10.ОТ | |
| 24 | 038-046-46-2-51-1668 | Кольцо 038-046-46-2-51-1668 | |
| 25 | 2001-16-11-20 | Фланец | |
| 25 | 2001-16-11 | Фланец | |
| 26 | 2001-16-106-01СП | Линейка | |
| 27 | БолтМ12-6gх35 | Болт М12-6gх35 | |
| 28 | 2001-16-105-01СП | Горловина | |
| 28 | 2001-16-105-01-20СП | Горловина | |
| 29 | 080-090-58-2-51-1668 | Кольцо 080-090-58-2-51-1668 | |
| 30 | 700-37-2140-20 | Пробка | |
| 30 | 700-37-2140 | Пробка | |
| 31 | 045-050-30-2-51-1668 | Кольцо ГОСТ 9833-73/ГОСТ 18829-73 | |
| 32 | 3501-16-103СП | Клапан | |
| 32 | 3501-16-103СП | Клапан | |
| 33 | 066-070-30-2-51-1668 | Кольцо 066-070-30-2-51-1668 | |
| 34 | 012-016-25-2-51-1668 | Кольцо 012-016-25-2-51-1668 | |
| 35 | 040-048-46-2-51-1668 | Кольцо 040-048-46-2-51-1668 | |
| 36 | 032-038-36-2-51-1668 | Кольцо ГОСТ 18829-73/ТУ 38.005.204-84 | |
| 37 | 580307 | Кольцо С34 ГОСТ 13940-86 | |
| 38 | 2001-16-32 | Муфта | |
| 39 | 2001-16-108СП | Кожух | |
| 39 | 2001-16-108-20СП | Кожух | |
| 40 | БолтМ12х1,25-6gх25 | Болт М12х1,25-6gх25 | |
| 41 | 2001-16-109-20СП | Кожух | |
| 41 | 2001-16-109СП | Кожух | |
| 42 | 2001-16-5-20 | Труба | |
| 42 | 2001-16-5 | Труба | |
| 43 | 2001-16-101-20СП | Опора | |
| 43 | 2001-16-101СП | Опора | |
| 44 | 312501-94-105-20 | Бугель | |
| 44 | 312501-94-105 | Бугель | |
| 45 | 400040 | Уплотнение | |
| 46 | БолтМ8-6gх70 | Болт М8-6gх70 | |
| 47 | 310140-20 | Шайба 8.01.10.0221 ГОСТ 6958-78 | |
| 47 | 310140 | Шайба 8.01.10.019 ГОСТ 6958-78 | |
| 48 | 461701-04 | Рукав | |
| 48 | 461701-04-20 | Рукав | |
| 49 | 5001-26-130СП | Хомут | |
| 50 | 1085-У-02ПО4.435.002ТУ | Хомут стяжной червячный | |
| 51 | 100-110-58-2-ИРП-1314-1 | Кольцо 100-110-58-2-ИРП-1314-1 | |
| 52 | 2001-16-100-01СП | Трубопровод | |
| 52 | 2001-16-100-01-20СП | Трубопровод | |
| 53 | 2001-16-30 | Планка | |
| 54 | 280728-20 | Болт М20-6gх60 | |
| 54 | 280728 | Болт М20-6gх60 | |
| 55 | Шайба20.ОТ | Шайба 20.ОТ | |
| 56 | 022-026-25-2-51-1668 | Кольцо 022-026-25-2-51-1668 | |
| 58 | 1501-15-41СП | Блок управления | |
| 58 | 1501-15-41-20СП | Блок управления | |
| 59 | НШ100-50-3ЛТ | Насос НШ100-50-3ЛТ | |
| 59 | НШ100-50-3ХЛ | Насос НШ100-50-3ХЛ | |
| 60 | 014-018-25-2-51-1668 | Кольцо 014-018-25-2-51-1668 | |
| 61 | 075-081-36-2-51-1668 | Кольцо 075-081-36-2-51-1668 | |
| 62 | 280383 | Болт 3М12х85 ГОСТ 7796-70 | |
| 62 | 280383-20 | Болт 3М12-6gх85 | |
| 63 | 280366 | Болт М12-6gх75 | |
| 63 | 280366-20 | Болт М12-6gх75 | |
| 64 | 2001-16-15-20 | Кронштейн | |
| 64 | 2001-16-15 | Кронштейн | |
| 65 | 400324 | Пластина | |
| 65 | 2501-12-170 | Пластина | |
| 66 | 310230-20 | Шайба 12.01.08кп.0221 ГОСТ 6958-78 | |
| 66 | 310230 | Шайба 12.01.08кп.019 ГОСТ 6958-78 | |
| 67 | 2501-15-107 | Хомут | |
| 67 | 2501-15-107-20 | Хомут | |
| 68 | ГайкаМ8 | Гайка | |
| 69 | Шайба8Т | Шайба 8Т |
Содержащиеся в справочниках-каталогах запасные части и детали не предлагаются к продаже, а носят исключительно информационный характер