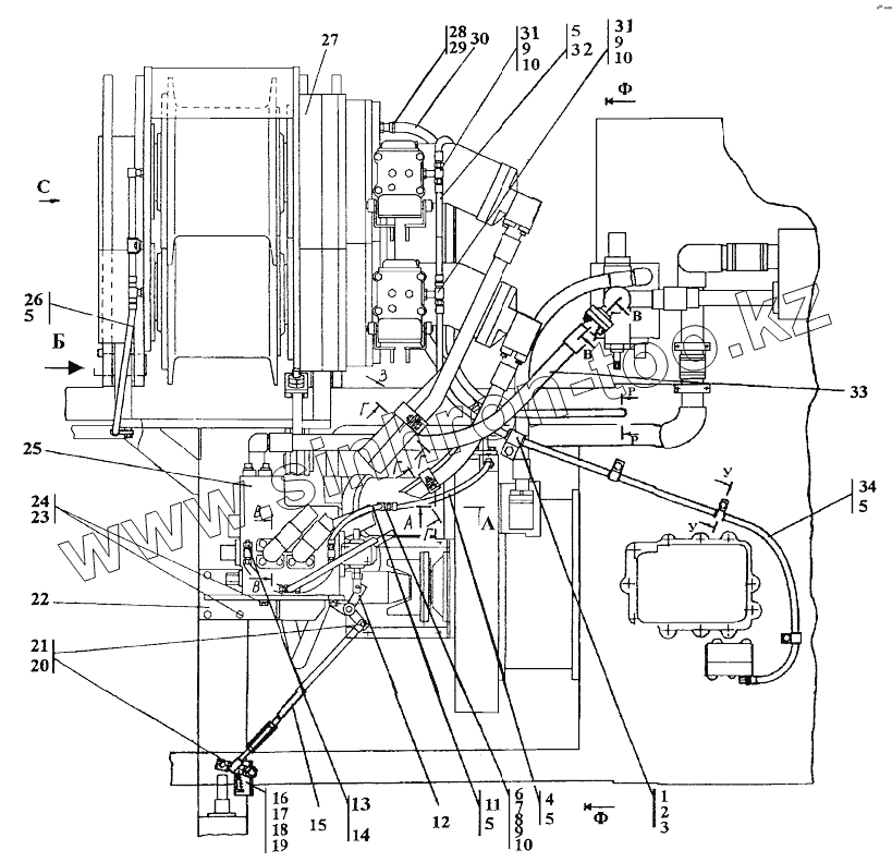
Каталог запасных частей к технике: Промтрактор ТГ-221КМ. Установка привода лебедки с системой гидроуправления
312001-94-1-03-20СП
312001-94-1-03СП
1
1
2
2
3
4
4
5
5
5
5
5
6
6
7
7
8
9
9
9
10
10
10
11
11
12
12
12
12
13
13
14
15
15
16
16
17
18
19
19
20
22
22
23
24
24
25
25
26
26
27
27
28
29
29
30
31
31
31
33
33
34
34
| Позиция на иллюстрации | Заводской номер детали | Название детали | |
|---|---|---|---|
| 312001-94-1-03-20СП | 312001-94-1-03-20СП | Установка привода лебедки с системой гидроуправления | |
| 312001-94-1-03СП | 312001-94-1-03СП | Установка привода лебедки с системой гидроуправления | |
| 1 | 2501-26-216-20 | Скоба | |
| 1 | 2501-26-216 | Скоба | |
| 2 | 2501-26-217-20 | Планка | |
| 2 | 2501-26-217 | Планка | |
| 3 | 400354-05 | Втулка | |
| 4 | 404-26-213-24СП | Рукав диаметр 12 | |
| 4 | 404-26-213-24-20СП | Рукав диаметр 12 | |
| 5 | 012-016-25-2-51-1668 | Кольцо 012-016-25-2-51-1668 | |
| 6 | 312501-90-19СП | Тройник | |
| 6 | 312501-90-19-20СП | Тройник | |
| 7 | 415233 | Штуцер | |
| 7 | 415233-20 | Штуцер | |
| 8 | 019-023-25-2-51-1668 | Кольцо 019-023-25-2-51-1668 | |
| 9 | 018-022-25-2-51-1668 | Кольцо | |
| 10 | Н036.23.022 | Гайка | |
| 11 | 404-26-213-02СП | Рукав d.12 | |
| 11 | 404-26-213-02-20СП | Рукав d.12 | |
| 12 | 404-26-213-12СП | Рукав диаметр 12 | |
| 12 | 404-26-213-12-20СП | Рукав диаметр 12 | |
| 12 | 312001-94-22СП | Мостик | |
| 12 | 312001-94-22-20СП | Мостик | |
| 13 | Н036.01.002-01 | Гайка накидная | |
| 13 | Н036.01.002 | Гайка накидная | |
| 14 | Н036.12.011-04 | Заглушка сферическая | |
| 15 | 312001-94-9-02СП | Тяга | |
| 15 | 312001-94-9-02-20СП | Тяга | |
| 16 | 312001-94-25-20СП | Мостик | |
| 16 | 312001-94-25СП | Мостик | |
| 17 | БолтМ12х1,25-6gх25 | Болт М12х1,25-6gх25 | |
| 18 | Шайба12.ОТ | Шайба 12.ОТ | |
| 19 | 310210-20 | Шайба 12х2.01.10.0221 ГОСТ 11371-78 | |
| 19 | 310210 | Шайба 12х2.01.10.019 ГОСТ 11371-78 | |
| 20 | Шплинт3,2х14 | Шплинт 3,2х14 | |
| 22 | 312001-94-10-20СП | Кронштейн | |
| 22 | 312001-94-10СП | Кронштейн | |
| 23 | Шайба16.ОТ | Шайба | |
| 24 | 280544 | Болт М16х1,5-6gх45.109.40Х019 ГОСТ 7796-70 | |
| 24 | 280544-20 | Болт М16х1,5-6gх45.109.40Х029 ГОСТ 7796-70 | |
| 25 | 312501-90-10-01-20СП | Распределитель гидромоторов | |
| 25 | 312501-91-10-01СП | Распределитель гидромоторов | |
| 26 | 404-26-243-14-20СП | Рукав d.12 | |
| 26 | 404-26-213-14СП | Рукав диаметр 12 | |
| 27 | 312001-90-1-02СП | Установка лебедок | |
| 27 | 312001-90-1-02-20СП | Установка лебедок | |
| 28 | 1028-У-02ПО4.435.002ТУ | Хомут стяжной червячный | |
| 29 | 403-16-109-20СП | Штуцер | |
| 29 | 403-16-109СП | Штуцер | |
| 30 | 460601-32 | Рукав | |
| 31 | 404-26-219-20СП | Тройник | |
| 31 | 404-26-219СП | Тройник | |
| 33 | 3502-26-108-06-20СП | Рукав d.32 | |
| 33 | 3502-26-108-06СП | Рукав d.32 | |
| 34 | 404-26-213-06-20СП | Рукав d.12 | |
| 34 | 404-26-213-06СП | Рукав d.12 |
Содержащиеся в справочниках-каталогах запасные части и детали не предлагаются к продаже, а носят исключительно информационный характер