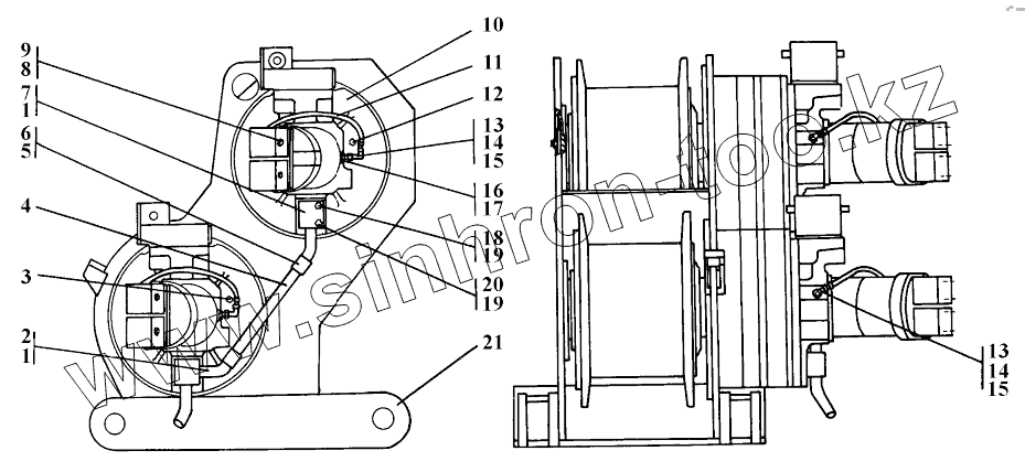
Каталог запасных частей к технике: Промтрактор ТГ-221КМ. Установка лебедок
312001-90-1-02-20СП
312001-90-1-02СП
1
1
2
2
3
3
4
4
5
6
6
7
7
8
9
9
10
10
11
11
12
12
13
13
13
14
14
14
14
15
15
16
16
17
18
19
19
20
21
21
| Позиция на иллюстрации | Заводской номер детали | Название детали | |
|---|---|---|---|
| 312001-90-1-02-20СП | 312001-90-1-02-20СП | Установка лебедок | |
| 312001-90-1-02СП | 312001-90-1-02СП | Установка лебедок | |
| 1 | 039-045-36-2-51-1668 | Кольцо ГОСТ 18829-73/ТУ 38.005.204-84 | |
| 2 | 312001-90-25СП | Фланец | |
| 2 | 312001-90-25-20СП | Фланец | |
| 3 | 700-37-2054 | Пробка 4-КГ 3/4" 20.019 | |
| 3 | 700-37-2054-20 | Пробка 4-КГ 3/4" 20.029 | |
| 4 | 312001-90-60-20 | Труба | |
| 4 | 312001-90-60 | Труба | |
| 5 | 1045-У-02ПО4.435-002ТУ | Хомут стяжной червячный | |
| 6 | 461201-02-20 | Рукав | |
| 6 | 461201-02 | Рукав | |
| 7 | 312001-90-22СП | Фланец | |
| 7 | 312001-90-22-20СП | Фланец | |
| 8 | 007-011-25-2-51-1668 | Кольцо ГОСТ 18829-73/ТУ 38.005.204-84 | |
| 9 | 375245 | Пробка | |
| 9 | 375245-20 | Пробка | |
| 10 | 312001-90-9СП | Лебедка | |
| 10 | 312001-90-9-20СП | Лебедка | |
| 11 | 404-26-213-02СП | Рукав d.12 | |
| 11 | 404-26-213-02-20СП | Рукав d.12 | |
| 12 | 403-16-109-20СП | Штуцер | |
| 12 | 403-16-109СП | Штуцер | |
| 13 | 50.01-26-77 | Угольник поворотный | |
| 13 | 50.01-26-77-20 | Угольник поворотный | |
| 14 | 700-37-2054 | Пробка 4-КГ 3/4" 20.019 | |
| 14 | Н.036.23.022-20 | Контргайка | |
| 14 | Н.036.23.022 | Контргайка | |
| 15 | 018-022-25-2-51-1668 | Кольцо | |
| 16 | 415233 | Штуцер | |
| 16 | 415233-20 | Штуцер | |
| 17 | 019-023-25-2-51-1668 | Кольцо 019-023-25-2-51-1668 | |
| 18 | БолтМ10-6gх30 | Болт М10-6gх30 | |
| 19 | Шайба10.ОТ | Шайба 10.ОТ | |
| 20 | БолтМ10-6gх60 | Болт М10-6gх60 | |
| 21 | 312001-90-28СП | Корпус | |
| 21 | 312001-90-28-20СП | Корпус |
Содержащиеся в справочниках-каталогах запасные части и детали не предлагаются к продаже, а носят исключительно информационный характер