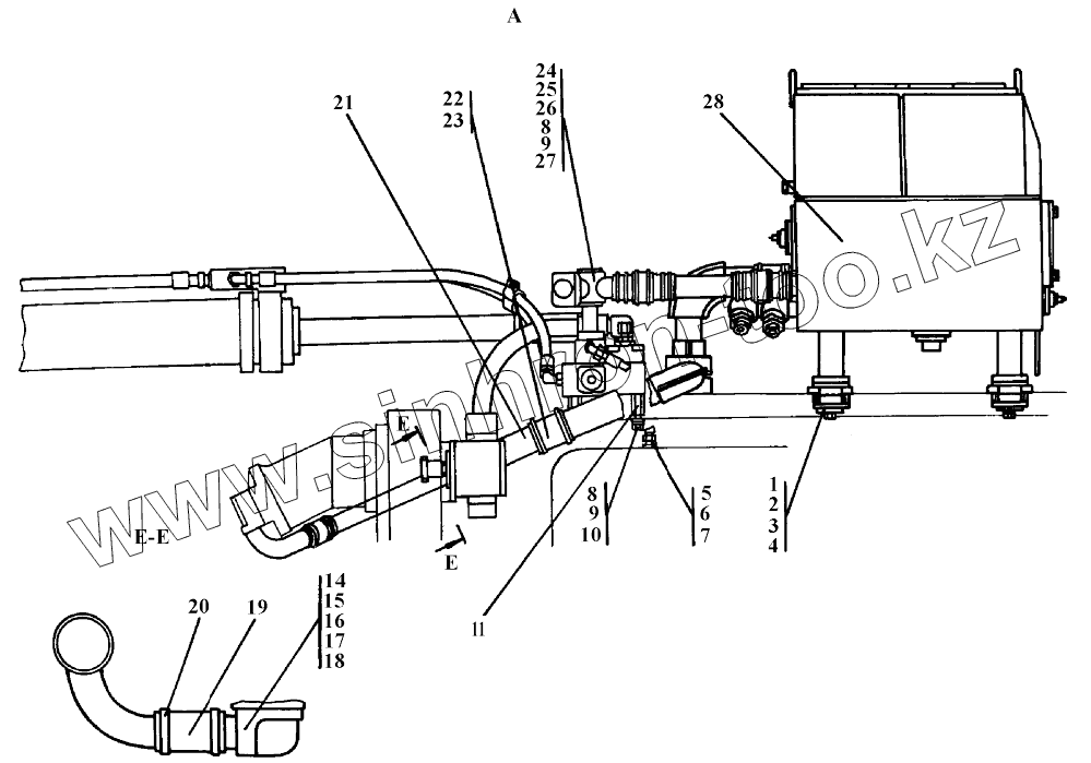
Каталог запасных частей к технике: Промтрактор ТГ-221КМ. Установка гидросистемы
312001-26-1-01-20СП
312001-26-1-01СП
1
2
3
3
4
5
5
6
7
7
8
8
9
9
10
10
11
11
14
14
15
16
17
18
19
20
21
21
22
22
23
24
24
25
25
26
27
28
28
| Позиция на иллюстрации | Заводской номер детали | Название детали | |
|---|---|---|---|
| 312001-26-1-01-20СП | 312001-26-1-01-20СП | Установка гидросистемы | |
| 312001-26-1-01СП | 312001-26-1-01СП | Установка гидросистемы | |
| 1 | 2501-25-37СП | Амортизатор | |
| 2 | 2001-26-272 | Шайба | |
| 3 | 280570-20 | Болт М16х1,5-6gх105.88.40Х029 ГОСТ 7795-70 | |
| 3 | 280570 | Болт М16х1,5-6gх105.88.40Х019 ГОСТ 7795-70 | |
| 4 | Шайба16.ОТ | Шайба | |
| 5 | 5001-26-78-20 | Штуцер ввертной | |
| 5 | 5001-26-78 | Штуцер ввертной | |
| 6 | 018-022-25-2-51-1668 | Кольцо | |
| 7 | Н.036.23.022-20 | Контргайка | |
| 7 | Н.036.23.022 | Контргайка | |
| 8 | БолтМ12-6gх35 | Болт М12-6gх35 | |
| 9 | Шайба12.ОТ | Шайба 12.ОТ | |
| 10 | 310210 | Шайба 12х2.01.10.019 ГОСТ 11371-78 | |
| 10 | 310210-20 | Шайба 12х2.01.10.0221 ГОСТ 11371-78 | |
| 11 | 312001-26-46 | Опора | |
| 11 | 312001-26-46-20 | Опора | |
| 14 | 312001-26-11-20СП | Трубопровод | |
| 14 | 312001-26-11СП | Трубопровод | |
| 15 | БолтМ10-6gх70 | Болт М10-6gх70 | |
| 16 | БолтМ10-6gх30 | Болт М10-6gх30 | |
| 17 | Шайба10.ОТ | Шайба 10.ОТ | |
| 18 | 042-050-46-2-51-1668 | Кольцо ГОСТ 18829-73/ТУ 38.005.204-84 | |
| 19 | 461401 | Рукав | |
| 20 | 1055-У-02 | Хомут стяжной червячный 1055-У-02 | |
| 21 | 312001-26-36-20СП | Трубопровод | |
| 21 | 312001-26-36СП | Трубопровод | |
| 22 | 461701-20 | Рукав | |
| 22 | 461701 | Рукав | |
| 23 | 1085-У-02 | Хомут стяжной червячный 1085-У-02 | |
| 24 | 312001-26-12-20СП | Трубопровод | |
| 24 | 312001-26-12СП | Трубопровод | |
| 25 | 2501-26-83-20 | Фланец | |
| 25 | 2501-26-83 | Фланец | |
| 26 | 440038 | Кольцо защитное | |
| 27 | 032-038-36-2-51-1668 | Кольцо ГОСТ 18829-73/ТУ 38.005.204-84 | |
| 28 | 312001-26-30-20СП | Бак гидросистемы | |
| 28 | 312001-26-30СП | Бак гидросистемы |
Содержащиеся в справочниках-каталогах запасные части и детали не предлагаются к продаже, а носят исключительно информационный характер