Каталог запасных частей к технике: Промтрактор ТГ-221КМ. Распределитель гидромоторов
1
2
2
3
3
4
5
6
7
8
9
10
11
11
12
13
14
15
16
17
18
19
20
21
21
21
21
22
22
22
22
23
24
25
25
25
26
27
28
29
29
31
32
32
33
33
34
34
36
37
38
38
39
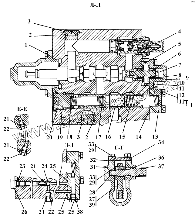
| Позиция на иллюстрации | Заводской номер детали | Название детали | |
|---|---|---|---|
| 1 | 080-085-30-2-51-1668 | Кольцо 080-085-30-2-51-1668 | |
| 2 | 032-038-36-2-51-1668 | Кольцо ГОСТ 18829-73/ТУ 38.005.204-84 | |
| 3 | 312501-91-141 | Пробка | |
| 4 | 312501-91-11СП | Клапан | |
| 5 | 066-071-30-2--51-1668 | Кольцо 066-071-30-2--51-1668 | |
| 6 | 38327 | Пружина | |
| 7 | 312501-91-140 | Болт | |
| 8 | 3501-26-143 | Тарелка | |
| 9 | 312501-91-133 | Крышка | |
| 10 | БолтМ12х35 | Болт М12х35 | |
| 11 | Шайба12.ОТ | Шайба 12.ОТ | |
| 12 | БолтМ12х60 | Болт М12х60 | |
| 13 | 312501-91-166 | Крышка | |
| 14 | 049-055-36-2-51-1668 | Кольцо ГОСТ 18829-73/ТУ 38.005.204-84 | |
| 15 | 385659 | Пружина | |
| 16 | 312501-91-167 | Золотник | |
| 17 | 312501-91-135 | Золотник | |
| 18 | 385290 | Пружина | |
| 19 | 312501-91-138 | Пробка | |
| 20 | 045-050-30-2-51-1668 | Кольцо ГОСТ 9833-73/ГОСТ 18829-73 | |
| 21 | 007-011-25-2-51-1668 | Кольцо ГОСТ 18829-73/ТУ 38.005.204-84 | |
| 22 | 375245 | Пробка | |
| 22 | 375245-20 | Пробка | |
| 23 | 014-018-25-2-51-1668 | Кольцо 014-018-25-2-51-1668 | |
| 24 | ШарикБ10-100 | Шарик Б10-100 | |
| 25 | 012-016-25-2-51-1668 | Кольцо 012-016-25-2-51-1668 | |
| 26 | 3501-26-135 | Направляющая | |
| 27 | 312501-91-162 | Рычаг | |
| 28 | 312501-91-161 | Валик | |
| 29 | Шайба8Т | Шайба 8Т | |
| 31 | 312501-91-160 | Крышка | |
| 32 | 450198-20 | Прокладка | |
| 32 | 450198 | Прокладка | |
| 33 | БолтМ8х30 | Болт М8х30 | |
| 34 | 3501-26-146-20 | Крышка | |
| 34 | 3501-26-146 | Крышка | |
| 36 | 022-026-25-2-51-1668 | Кольцо 022-026-25-2-51-1668 | |
| 37 | 2501-15-152-01 | Труба | |
| 38 | 375516-20 | Пробка | |
| 38 | 375516 | Пробка | |
| 39 | 340350 | Шпонка 5х7,5 ГОСТ 24071-80 |
Содержащиеся в справочниках-каталогах запасные части и детали не предлагаются к продаже, а носят исключительно информационный характер