Каталог запасных частей к технике: Промтрактор ТГ-221КМ. Коробка передач
2001-12-11-20СП
2001-12-11СП
1
2
3
4
6
6
7
8
8
9
9
9
10
10
10
11
11
12
12
13
13
14
14
15
16
17
17
18
19
19
20
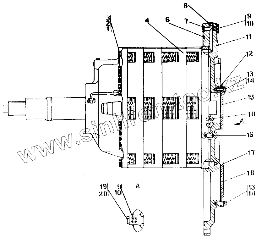
| Позиция на иллюстрации | Заводской номер детали | Название детали | |
|---|---|---|---|
| 2001-12-11-20СП | 2001-12-11-20СП | Коробка передач | |
| 2001-12-11СП | 2001-12-11СП | Коробка передач | |
| 1 | ПроволокаКС-1 | Проволока | |
| 2 | 315220 | Шайба | |
| 3 | 2001-12-38-01 | Болт специальный | |
| 4 | 2001-12-10СП | Коробка передач планетарная | |
| 6 | 400319-05-20 | Кольцо | |
| 6 | 400319-05 | Кольцо | |
| 7 | 030-035-30-2ИРП1314-1 | Кольцо 030-035-30-2 ИРП 1314-1 | |
| 8 | 370260-20 | Пробка 3-КГ 1/4" | |
| 8 | 370260 | Пробка 3-КГ 1/4" 20.019 ТУ 23.1.506-91 | |
| 9 | 375330 | Пробка | |
| 9 | 375330-20 | Пробка | |
| 10 | 018-022-25-2-51-1668 | Кольцо | |
| 11 | 2001-12-52 | Корпус | |
| 11 | 2001-12-52-20 | Корпус | |
| 12 | 450272 | Прокладка | |
| 12 | 450272-20 | Прокладка | |
| 13 | БолтМ12-6gх30 | Болт М12-6gх30 | |
| 14 | Шайба12.ОТ | Шайба 12.ОТ | |
| 15 | 2001-12-74 | Крышка | |
| 16 | 325383 | Штифт | |
| 17 | 450271-20 | Прокладка | |
| 17 | 450271 | Прокладка | |
| 18 | 2001-12-75 | Крышка | |
| 19 | 375625-20 | Пробка | |
| 19 | 375625 | Пробка | |
| 20 | 016-020-25-2-51–1668 | Кольцо 016-020-25-2-51–1668 |
Содержащиеся в справочниках-каталогах запасные части и детали не предлагаются к продаже, а носят исключительно информационный характер