Вернуться на главную
Поиск
Каталоги запчастей к технике
Спецтехника
Промтрактор
ТГ-221КМ
Клапан
Каталог запасных частей к технике: Промтрактор ТГ-221КМ. Клапан
zoom-in
zoom-out
enlarge
shrink
circle-right
circle-left
file-text2
info
cart
Тип техники
Не выбрано
Легковые автомобили
Грузовые автомобили и прицепы
Автобусы
Сельхозтехника
Спецтехника
Двигатели
Мототехника
Марка
Не выбрано
Ammann
BOMAG
CARMIX
CASE IH
Changlin
ChengGong
Dimex
Doosan
DYNAPAC
Foton
HAMM
Hidromek
Hitachi
Hyundai
JCB
JLG
John Deere
Komatsu
LIEBHERR
LiuGong
Lonking (LongGong)
Luneng
MANITOU
Mitsuber
New Holland
PENGPU
RM-Terex
SANY
SDLG
SEM
Shantui
Shehwa HBXG
Soosan
TIGARBO
VOGELE
Volvo
WAY
WIRTGEN
XCMG
XGMA
Xiamen
YTO
Yuchai
Zoomlion
Автокран
АЗСМ
Алтайлесмаш
Амкодор
АОМЗ
Атек
АТЗ
Балканкар Рекорд
БелАЗ
Беловеж
Борекс
Брянский Арсенал
Булат
ВЭКС
ГАЗ
Геомаш
Гидромаш
Донекс
Дормаш
Дормашина
Дорэлектромаш
ДЭЗ
ЕлАЗ
ЗЗГТ
Ижнефтемаш
Канаш-электрокар
КЗКТ
ККЗ
Клевер
Клинцовский автокрановый завод
КМЗ
КМЗ 1 Мая
Ковровец
Коммаш
Кранэкс
КЭЗ
КЭМЗ
ЛЗА
МАЗ
МЗИК
МЗКМ
МЗКТ
Михневский РМЗ
МоАЗ
Мозырский МЗ
МТЗ
ОЗП
Онежец
ПАО "ТЗА"
ППС Детва
Промтрактор
ПТЗ
Раскат
СпецАгрегат
ТВЭКС
ТТМ
УВЗ
Угличмаш
УЗТМ
ХТЗ
ЧЗКМ
ЧСДМ
ЧТЗ
ЭКСКО
ЭКСМАШ
ЮрМаш
Модель
Не выбрано
ПК-12.02 (2007)
ПК-12.02К (2007)
ПК-60.01 (2007)
Т-11.01К (2008)
Т-11.01Я
Т-11.02К (2008)
Т-11.02Я (2008)
Т-15.01К (2007)
Т-15.01Я (2000)
Т-15.02K (2009)
Т-15.02Я (2009)
Т-20.01К
Т-20.01Я (2000)
Т-20.01Я (2005) (2005)
Т-20.02К (Четра) (2009)
Т-20.02Я (Четра) (2009)
Т-25.01К1 (2008)
Т-25.01Я (2006)
Т-330 (2006)
Т-35.01К (2007)
Т-35.01Я
Т-40.01К (2008)
Т-50.01 (1998)
Т-500 (1999)
Т-9.01Я (2007)
ТГ-121Я (2004)
ТГ-221КМ (2006)
ТГ-221Я (2004)
ТГ-301К (2006)
ТГ-301Я (2004)
ТГ-302Я (2010)
ТГ-503К (2006)
ТГ-503Я (2006)
ТГ-511 (2008)
Шасси ТП-20.02 (2008)
Схема
>
Не выбрано
Установка двигателя М11-С “Cummins”
Установка двигателя М11-С “Cummins”
Установка систем воздухоочистки и выпуска
Установка систем воздухоочистки и выпуска
Воздухоочиститель
Система охлаждения двигателя и трансмиссии
Система охлаждения двигателя и трансмиссии
Система охлаждения двигателя и трансмиссии
Блок радиаторов
Установка топливного бака
Установка топливного бака
Бак топливный
Электрооборудование
Электрооборудование
Установка электрооборудования на раме
Электрооборудование стрелы грузовой
Электрооборудование подогревателя ПЖД30Г
Электрооборудование передней облицовки
Электрооборудование двигателя
Электрооборудование крыши кабины
Электрооборудование крыши кабины
Электрооборудование крыши кабины
Электрооборудование топливного бака
Электрооборудование топливного бака
Электрооборудование пола кабины
Электрооборудование пола кабины
Электрооборудование пола кабины
Щиток приборов
Щиток приборов
Блок выключателей
Блок выключателей
Установка фары
Рама
Установка трансмиссии
Установка трансмиссии
Блок трансмиссии
Передача главная
Передача главная
Коробка передач
Коробка передач планетарная
Бустер
Водило
Водило
Водило
Гидротрансформатор с редуктором привода насосов
Гидротрансформатор с редуктором привода насосов
Гидротрансформатор с редуктором привода насосов
Крышка
Фильтр
Делитель потока
Блок управления
Блок управления
Клапан
Фрикцион бортовой и тормоз остановочный
Управление трактором
Управление трактором
Привод управления
Привод управления
Привод управления
Привод управления
Блок управления
Передача бортовая, фрикцион и тормоз
Передача бортовая
Передача бортовая
Муфта упругая
Система ходовая
Тележка
Колесо натяжное
Каток опорный
Каток поддерживающий
Механизм сдавания
Механизм натяжения
Гусеница
Пол
Установка гидросистемы
Установка гидросистемы
Распределитель
Бак гидросистемы
Гидроцилиндр
Гидрозамок
Клапан
Установка системы подогрева
Установка системы подогрева
Установка отопителя кабины
Установка отопителя кабины
Вал карданный
Установка прицепного устройства
Установка системы вентиляции и отопления кабины
Установка независимого отопителя кабины
Установка вентиляторов кабины
Облицовка
Облицовка
Облицовка
Кабина
Кабина
Кабина
Кабина
Кабина
Установка сиденья
Установка кожухов
Обивка кабины
Обивка кабины
Обивка кабины
Установка лебедок
Лебедка
Редуктор
Редуктор
Фрикцион
Бустер тормоза
Бустер
Водило
Распределитель лебедки
Распределитель гидромоторов
Распределитель гидромоторов
Установка стрелы и полиспастов
Установка стрелы и полиспастов
Подвеска крюка
Обойма подвесная
Обойма стреловая
Установка противовеса
Установка противовеса
Установка привода лебедки с системой гидроуправления
Установка привода лебедки с системой гидроуправления
Установка привода лебедки с системой гидроуправления
Установка привода лебедки с системой гидроуправления
Портал
Портал
Портал
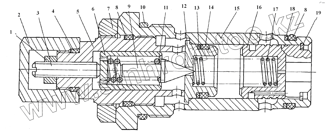
2601-28-21СП
1
2
3
4
5
6
7
8
8
9
10
11
12
13
14
15
16
17
18
19
Позиция на иллюстрации
Заводской номер детали
Название детали
2601-28-21СП
2601-28-21СП
Клапан
1
ГайкаМ8-7Н
Гайка М8-7Н
2
2601-28-209
Заглушка
3
2601-28-212
Винт
4
018-022-25-2-51-1668
Кольцо
5
312501-91-147
Штуцер
6
2601-28-210
Стакан
7
305430
Гайка
8
032-038-36-2-51-1668
Кольцо ГОСТ 18829-73/ТУ 38.005.204-84
9
2601-28-211-01
Клапан предохранительный
10
045-050-30-2-51-1668
Кольцо ГОСТ 9833-73/ГОСТ 18829-73
11
385420
Пружина
12
2601-28-207
Поршень
13
2601-28-214
Шайба защитная
14
022-028-36-2-3
Кольцо 022-028-36-2-3
15
2601-28-205
Корпус
16
2601-28-208
Клапан
17
700-38-2517
Пружина
18
440038
Кольцо защитное
19
580272
Кольцо С28 ГОСТ 13941-86
Содержащиеся в справочниках-каталогах запасные части и детали не предлагаются к продаже, а носят исключительно информационный характер
Дополнительная информация
×
Название:
Номер:
Примечание: