Каталог запасных частей к технике: Промтрактор ТГ-221КМ. Электрооборудование пола кабины
312001-10-18-02-20СП
312001-10-18-02СП
1
2
3
3
3
3
3
4
4
4
4
5
5
6
6
7
7
8
8
8
9
10
11
12
13
14
14
15
15
16
16
16
17
17
18
18
19
19
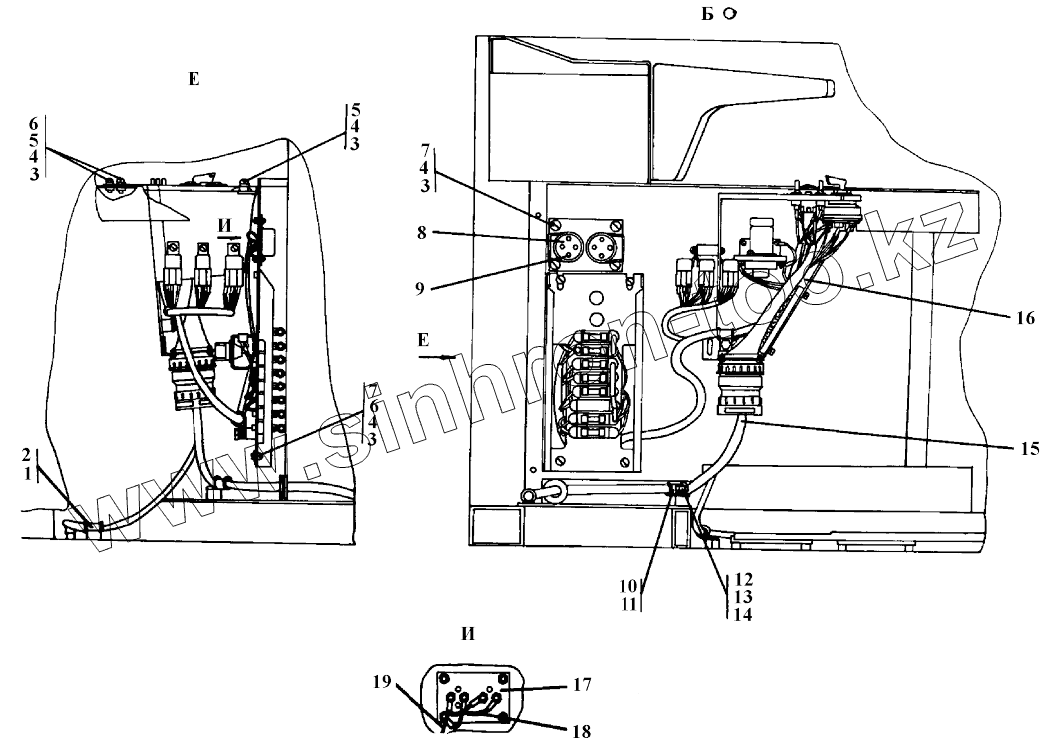
| Позиция на иллюстрации | Заводской номер детали | Название детали | |
|---|---|---|---|
| 312001-10-18-02-20СП | 312001-10-18-02-20СП | Электрооборудование пола кабины | |
| 312001-10-18-02СП | 312001-10-18-02СП | Электрооборудование пола кабины | |
| 1 | 700-41-2866 | Хомут | |
| 2 | 700-40-6684-05 | Прокладка | |
| 3 | 310110-20 | Шайба 6.01.08кп.0221 ГОСТ 11371-78 | |
| 3 | 310110 | Шайба 6.01.08кп.019 ГОСТ 11371-78 | |
| 4 | Шайба6Т | Шайба 6Т | |
| 5 | ВинтВ.М6-6gх16 | Винт В.М6-6gх16 | |
| 6 | 2501-89-123СП | Клипса | |
| 7 | ВинтВ.М6-6gх12 | Винт В.М6-6gх12 | |
| 8 | Розетка47КТ2 | Розетка 47К Т2 | |
| 8 | Розетка47КУ2 | Розетка 47К У2 | |
| 8 | Розетка47КУХЛ2 | Розетка 47К УХЛ2 | |
| 9 | ВинтВ.М3-6gх25 | Винт В.М3-6gх25 | |
| 10 | 700-40-6684-04 | Прокладка | |
| 11 | 700-41-3179 | Хомутик | |
| 12 | БолтМ8-6gх16 | Болт М8-6gх16 | |
| 13 | Шайба8Т | Шайба 8Т | |
| 14 | 310150 | Шайба 8.01.08кп.019 ГОСТ 11371-78 | |
| 14 | 310150-20 | Шайба 8.01.08кп.0221 ГОСТ 11371-78 | |
| 15 | 312001-10-140-20СП | Жгут | |
| 15 | 312001-10-140СП | Жгут | |
| 16 | 312001-10-125СП | Блок выключателей | |
| 16 | 312001-10-125-20СП | Блок выключателей | |
| 16 | 312001-10-125-10СП | Блок выключателей | |
| 17 | 312001-10-10-20 | Панель | |
| 17 | 312001-10-10 | Панель | |
| 18 | 312001-10-155-20СП | Жгут | |
| 18 | 312001-10-155СП | Жгут | |
| 19 | 312001-10-156-20СП | Провод | |
| 19 | 312001-10-156СП | Провод |
Содержащиеся в справочниках-каталогах запасные части и детали не предлагаются к продаже, а носят исключительно информационный характер