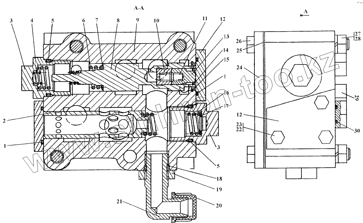
Каталог запасных частей к технике: Промтрактор ТГ-221КМ. Делитель потока
1101-15-15-01-20СП
1101-15-15-01СП
1
1
2
3
3
3
4
5
5
5
6
7
8
9
9
10
11
12
12
13
14
15
16
17
18
19
21
21
22
24
25
25
25
26
26
27
28
29
29
30
| Позиция на иллюстрации | Заводской номер детали | Название детали | |
|---|---|---|---|
| 1101-15-15-01-20СП | 1101-15-15-01-20СП | Делитель потока | |
| 1101-15-15-01СП | 1101-15-15-01СП | Делитель потока | |
| 1 | 034-038-25-2-3 | Кольцо 034-038-25-2-3 | |
| 2 | 1101-15-47 | Золотник | |
| 3 | 1101-15-51-20 | Пробка | |
| 3 | 1101-15-51 | Пробка | |
| 4 | 385274 | Пружина | |
| 5 | 039-045-36-2-51-1668 | Кольцо ГОСТ 18829-73/ТУ 38.005.204-84 | |
| 5 | 032-038-36-2-51-1668 | Кольцо ГОСТ 18829-73/ТУ 38.005.204-84 | |
| 6 | 385578 | Пружина | |
| 7 | 310280 | Шайба 16х1.01.10.019 ГОСТ 10450-78 | |
| 8 | 1101-15-46 | Золотник | |
| 9 | 1101-15-45-20 | Корпус | |
| 9 | 1101-15-45 | Корпус | |
| 10 | 1101-15-49 | Клапан | |
| 11 | 700-38-2556 | Пружина | |
| 12 | 1101-15-50 | Крышка | |
| 13 | 1101-15-48 | Плунжер | |
| 14 | 580160 | Кольцо С16 ГОСТ 13941-86 | |
| 15 | 580272 | Кольцо С28 ГОСТ 13941-86 | |
| 16 | 385438 | Пружина | |
| 17 | 310210 | Шайба 12х2.01.10.019 ГОСТ 11371-78 | |
| 18 | 021-027-36-2-51-1668 | Кольцо 021-027-36-2-51-1668 | |
| 19 | Н.036.23.072 | Контргайка | |
| 21 | 415235-20 | Угольник ввертный | |
| 21 | 415235 | Угольник ввертный | |
| 22 | Шайба10 | Шайба 10 | |
| 24 | 312001-15-11 | Крышка | |
| 25 | 450281-20 | Прокладка | |
| 25 | БолтМ10-6gх25 | Болт М10-6gх25 | |
| 25 | 450281 | Прокладка | |
| 26 | 281389-20 | Болт М12-6gх100 | |
| 26 | 281389 | Болт М12-6gх100 | |
| 27 | ГайкаМ12 | Гайка М12 | |
| 28 | Шайба12 | Шайба 12 | |
| 29 | 375331-20 | Пробка | |
| 29 | 375331 | Пробка | |
| 30 | 018-022-25-2-51-1668 | Кольцо |
Содержащиеся в справочниках-каталогах запасные части и детали не предлагаются к продаже, а носят исключительно информационный характер