Каталог запасных частей к технике: Промтрактор Т-9.01Я. Установка трансмиссии
1
1
2
3
3
4
4
4
4
4
5
6
7
8
9
9
10
11
11
12
12
13
13
14
14
15
15
16
16
17
17
18
18
19
19
20
20
21
22
23
23
24
24
25
25
26
26
27
28
28
29
30
31
31
32
33
34
34
35
36
36
36
37
37
38
38
39
40
41
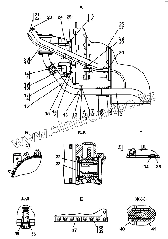
| Позиция на иллюстрации | Заводской номер детали | Название детали | |
|---|---|---|---|
| 1 | 1101-16-100СП(SP) | Трубопровод | |
| 1 | 1101-16-100-20СП(SP) | Трубопровод | |
| 2 | Кольцо 075-081-36-2-ИРП1314-1 | Кольцо 075-081-36-2-ИРП1314-1 | |
| 3 | Болт M12-6gx25 | Болт M12-6gx25 | |
| 4 | Шайба 12 ОТ | Шайба 12 ОТ | |
| 5 | 46 1602 | Рукав | |
| 6 | Хомут стяжной червячный 1070-У-02 ПО4.435.002ТУ | Хомут стяжной червячный 1070-У-02 ПО4.435.002ТУ | |
| 7 | Болт M10-6gx20 | Болт M10-6gx20 | |
| 8 | Шайба 10 ОТ | Шайба 10 ОТ | |
| 9 | 28 0150 | Болт М8-6gх55 | |
| 9 | 28 0150-20 | Болт М8-6gх55 | |
| 10 | Шайба 8Т | Шайба 8Т | |
| 11 | 31 0150-20 | Шайба 8.01.08кп.0221 ГОСТ 11371-78 | |
| 11 | 31 0150 | Шайба 8 ГОСТ 11371-78 | |
| 12 | 1101-16-3-20 | Бугель | |
| 12 | 1101-16-3 | Бугель | |
| 13 | 1101-16-101СП(SP) | Опора | |
| 13 | 1101-16-101-20СП(SP) | Опора | |
| 14 | Болт M12-6gx30 | Болт M12-6gx30 | |
| 15 | 2501-26-83 | Фланец | |
| 15 | 2501-26-83-20 | Фланец | |
| 16 | 1101-16-5 | Труба | |
| 16 | 1101-16-5-20 | Труба | |
| 17 | 28 1391-20 | Болт M12-6gx110 | |
| 17 | 28 1391 | Болт 3М 12-6х110 ГОСТ 7796-70 | |
| 18 | Кольцо 060-070-58-2-51-1668 | Кольцо 060-070-58-2-51-1668 | |
| 19 | 1101-16-2-20 | Фланец | |
| 19 | 1101-16-2 | Фланец | |
| 20 | 1101-16-103СП(SP) | Заборник | |
| 20 | 1101-16-103-20СП(SP) | Заборник | |
| 21 | 3501-16-102-05СП(SP) | Линейка | |
| 22 | 700-40-6575 | Прокладка | |
| 23 | 2501-15-124СП(SP) | Пробка | |
| 23 | 2501-15-124-20СП(SP) | Пробка | |
| 24 | Насос НШ 100А-3Т | Насос НШ 100А-3Т | |
| 24 | Насос НШ 100А-3 | Насос НШ 100А-3 | |
| 25 | 1101-16-115-20СП(SP) | Кожух | |
| 25 | 1101-16-115СП(SP) | Кожух | |
| 26 | 28 0500 | Болт 3М14х1,5-6gx35 | |
| 26 | 28 0500-20 | Болт 3М14х1,5-6gх35 | |
| 27 | Шайба 14 ОТ | Шайба 14 ОТ | |
| 28 | 1101-16-104СП(SP) | Труба | |
| 28 | 1101-16-104-20СП(SP) | Труба | |
| 29 | Кольцо 032-038-36-2-51-1668 | Кольцо 032-038-36-2-51-1668 | |
| 30 | Кольцо 039-045-36-2-51-1668 | Кольцо 039-045-36-2-51-1668 | |
| 31 | 400-10-8 | Планка | |
| 31 | 400-10-8-20 | Планка | |
| 32 | 2501-15-103 | Муфта | |
| 33 | 58 0307 | Кольцо С34 ГОСТ 13940-86 | |
| 34 | 37 5969-20 | Пробка | |
| 34 | 37 5969 | Пробка | |
| 35 | Кольцо 040-045-30-2-3 | Кольцо 040-045-30-2-3 | |
| 36 | 1101-16-112-20СП(SP) | Клапан | |
| 36 | 1101-16-112СП(SP) | Клапан | |
| 37 | 1101-16-42 | Планка | |
| 37 | 1101-16-42-20 | Планка | |
| 38 | 28 0551-02-20 | Болт M16-6gx75 | |
| 38 | 28 0551-02 | Болт M16-6gx75 | |
| 39 | Шайба 16 ОТ | Шайба 16 ОТ | |
| 40 | 1101-16-41 | Муфта | |
| 41 | 58 0405 | Кольцо С40 |
Содержащиеся в справочниках-каталогах запасные части и детали не предлагаются к продаже, а носят исключительно информационный характер