Каталог запасных частей к технике: Промтрактор Т-9.01Я. Установка двигателя$Engine mounting
1
1
2
2
3
3
4
4
5
5
6
6
7
8
8
9
10
10
11
11
12
12
13
13
14
15
16
16
17
18
18
19
19
20
21
21
22
22
23
23
23
24
25
25
25
26
26
27
27
28
28
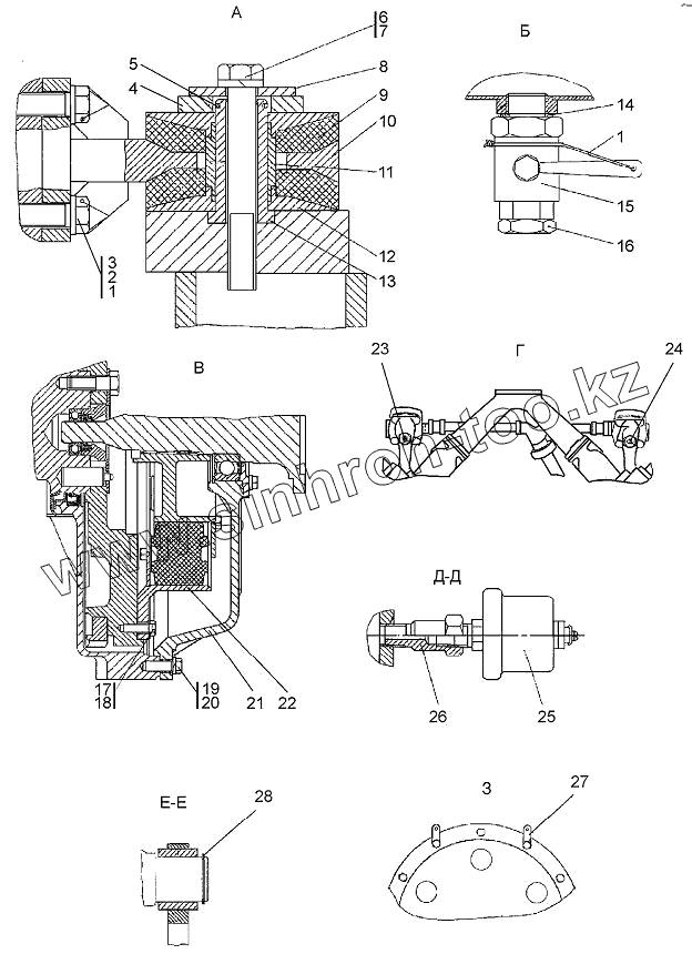
| Позиция на иллюстрации | Заводской номер детали | Название детали | |
|---|---|---|---|
| 1 | Проволока 1,6-О-С | Проволока 1,6-О-С | |
| 2 | 28 0516-20 | Болт 3M14-6gx40 | |
| 2 | 28 0516 | Болт 3M14-6gx40 | |
| 3 | 31 5220 | Шайба | |
| 3 | 31 5220-20 | Шайба | |
| 4 | 0602-24-86-20 | Проставка | |
| 4 | 0602-24-86 | Проставка | |
| 5 | 0602-24-88-20 | Кольцо | |
| 5 | 0602-24-88 | Кольцо | |
| 6 | 28 0575-20 | Болт М16х1,5-6gх120 ГОСТ 7795-70 | |
| 6 | 28 0575 | Болт М16х1,5-6gх120 ГОСТ 7795-70 | |
| 7 | Шайба 16 ОТ | Шайба 16 ОТ | |
| 8 | 0602-01-29 | Шайба специальная | |
| 8 | 0602-01-29-20 | Шайба специальная | |
| 9 | 40 0449 | Амортизатор | |
| 10 | 2002-01-102-20СП(SP) | Опора задняя | |
| 10 | 2002-01-102СП(SP) | Опора задняя | |
| 11 | 0602-24-49 | Втулка | |
| 11 | 0602-24-49-20 | Втулка | |
| 12 | 0602-24-48-20 | Прижим | |
| 12 | 0602-24-48 | Прижим | |
| 13 | 0602-24-90-01 | Палец | |
| 13 | 0602-24-90-01-20 | Палец | |
| 14 | Кольцо 24x30 МН 4152-62 | Кольцо 24x30 МН 4152-62 | |
| 15 | Кран шаровой 0,63/15 | Кран шаровой 0,63/15 | |
| 16 | 1102-01-7 | Заглушка | |
| 16 | 1102-01-7-20 | Заглушка | |
| 17 | 1102-01-4 | Пластина стопорная | |
| 18 | 28 0240 | Болт 3M10-6gx30 | |
| 18 | 28 0240-20 | Болт 3M10-6gx30 | |
| 19 | 28 0359-01 | Болт 3М12-6gх35 ГОСТ 7796-70 | |
| 19 | 28 0359-01-20 | Болт 3M12-6gx35 | |
| 20 | Шайба 12 ОТ | Шайба 12 ОТ | |
| 21 | 0902-20-10СП(SP) | Корпус муфты | |
| 21 | 0902-20-10-20СП(SP) | Корпус муфты | |
| 22 | 0902-20-100CП(SP) | Муфта упругая | |
| 22 | 0902-20-100-20СП(SP) | Муфта упругая | |
| 23 | 45 7382 5054 | Датчик ТМ100-В | |
| 23 | 45 7382 5089 | Датчик ТМ100-ВЭ | |
| 23 | 45 7382 5055 | Датчик ТМ100-ВТ | |
| 24 | 45 7382 5164-05 | Датчик сигнализатора температуры ТМ111-01 | |
| 25 | 45 7382 6081 | Датчик ММ355 | |
| 25 | 45 7382 6082 | Датчик ММ355-Э | |
| 25 | 45 7382 6083 | Датчик ММ355-Т | |
| 26 | 2002-01-7 | Переходник | |
| 26 | 2002-01-7-20 | Переходник | |
| 27 | 2501-10-10-20 | Планка | |
| 27 | 2501-10-10 | Планка | |
| 28 | 58 0510 | Кольцо С50 | |
| 28 | 58 0510-20 | Кольцо С50 Ц9хр |
Содержащиеся в справочниках-каталогах запасные части и детали не предлагаются к продаже, а носят исключительно информационный характер