Каталог запасных частей к технике: Промтрактор Т-9.01Я. Тележка
1
2
2
2
3
3
3
4
4
5
5
5
5
6
7
7
7
7
8
8
9
9
9
10
10
10
10
11
11
12
12
13
13
13
14
14
14
15
15
15
15
16
16
16
16
17
18
18
19
20
20
21
22
22
23
23
24
25
26
27
28
28
29
29
30
31
31
34
34
35
36
37
38
38
39
40
41
42
43
44
45
45
46
46
47
48
48
49
50
50
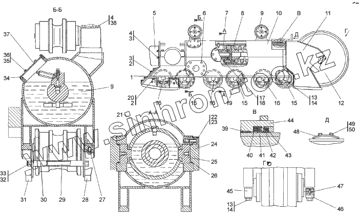
| Позиция на иллюстрации | Заводской номер детали | Название детали | |
|---|---|---|---|
| 1 | 0901-21-91 | Лист | |
| 2 | 700-31-2209 | Шайба ГОСТ 11371-78 | |
| 2 | 700-31-2209-20 | Шайба ГОСТ 11371-78 | |
| 3 | 28 0521-20 | Болт M16-6gx30 | |
| 3 | 28 0521 | Болт М16-6gх30 | |
| 4 | Шайба 16 ОТ | Шайба 16 ОТ | |
| 5 | 1101-21-30СП(SP) | Отбойник | |
| 5 | 1101-21-30-20СП(SP) | Отбойник | |
| 5 | 1101-21-30-01СП(SP) | Отбойник | |
| 5 | 1101-21-30-01-20СП -20(SP) | Отбойник | |
| 6 | 7879-4201-04 | Пробка | |
| 7 | 0901-21-117СП(SP) | Механизм натяжения | |
| 7 | 0901-21-117-20СП(SP) | Механизм натяжения | |
| 7 | 0901-21-117-01СП(SP) | Механизм натяжения | |
| 7 | 0901-21-117-01 -20СП(SP) | Механизм натяжения | |
| 8 | 0901-21-116-20СП(SP) | Механизм сдавания | |
| 8 | 0901-21-116СП(SP) | Механизм сдавания | |
| 9 | 0901-21-115-20СП(SP) | Каток поддерживающий | |
| 9 | 0901-21-115СП(SP) | Каток поддерживающий | |
| 10 | 0901-21-112-20СП(SP) | Рама тележки | |
| 10 | 0901-21-112СП(SP) | Рама тележки | |
| 10 | 0901-21-111-01-20СП -20SP | Рама тележки | |
| 10 | 0901-21-111-01СП(SP) | Рама тележки | |
| 11 | 0901-21-109-20СП(SP) | Рама тележки передняя | |
| 11 | 0901-21-109СП(SP) | Рама тележки передняя | |
| 12 | 0901-21-141-20СП(SP) | Колесо натяжное | |
| 12 | 0901-21-141CП(SP) | Колесо натяжное | |
| 13 | 28 0742-20 | Болт M20-6gx85 | |
| 13 | 28 0742 | Болт M20-6gx85 | |
| 14 | 315317 | Шайба | |
| 14 | 315317-20 | Шайба | |
| 15 | 0901-21-140СП(SP) | Каток опорный | |
| 15 | 0901-21-140-20СП(SP) | Каток опорный | |
| 16 | 0901-21-140-01СП(SP) | Каток опорный | |
| 16 | 0901-21-140-01 -20СП(SP) | Каток опорный | |
| 17 | Шайба 20 ОТ | Шайба 20 ОТ | |
| 18 | 28 0750 | Болт M20x1,5-6gx120 | |
| 18 | 28 0750-20 | Болт M20x1,5-6gx120 | |
| 19 | 1101-21-109 | Крышка | |
| 20 | 28 0543 | Болт 3M16-6gx45 | |
| 20 | 28 0543-20 | Болт 3M16-6gx45 | |
| 21 | 1501-21-227 | Стопор | |
| 22 | 28 0535 | Болт М16х1,25-6gх38.109.40Х.019 ГОСТ 7796-70 | |
| 22 | 28 0535-20 | Болт М16х1,25-6gх38.109.40Х.029 ГОСТ 7796-70 | |
| 23 | 315271-20 | Шайба | |
| 23 | 315271 | Шайба | |
| 24 | 1501-21-65 | Крышка | |
| 25 | 1101-21-65-01 | Вкладыш | |
| 26 | 088-095-46-2-51-1668 | Кольцо | |
| 27 | 32 5381 | Штифт | |
| 28 | 0901-21-132СП(SP) | Щиток | |
| 28 | 0901-21-132-20СП(SP) | Щиток | |
| 29 | 1101-21-190-02-20 | Стяжка | |
| 29 | 1101-21-190-02 | Стяжка | |
| 30 | 0901-21-95 | Труба | |
| 31 | 0901-21-132-01 -20СП(SP) | Щиток | |
| 31 | 0901-21-132-01СП(SP) | Щиток | |
| 32 | 30 0310 | Гайка М20х1,5-6Н.12.40Х.019 ГОСТ 5915-70 | |
| 32 | 30 0310-20 | Гайка М20х1,5 | |
| 33 | 310310-20 | Шайба 20х4.01.10.0221 ГОСТ 11371-78 | |
| 33 | 310310 | Шайба 20х4.01.10.019 ГОСТ 11371-78 | |
| 34 | 45 0337-20 | Прокладка | |
| 34 | 45 0337 | Прокладка | |
| 35 | Болт M8-6gx16 | Болт M8-6gx16 | |
| 36 | Шайба 8Т | Шайба 8Т | |
| 37 | 0901-21-71 | Крышка | |
| 38 | 28 5582 | Болт | |
| 38 | 28 5582-20 | Болт | |
| 39 | 0901-21-99 | Втулка | |
| 40 | 40 0483 | Кольцо упругое | |
| 41 | 0901-21-63 | Манжета | |
| 42 | 0901-21-62 | Манжета | |
| 43 | 40 0481 | Кольцо упругое | |
| 44 | 0901-21-74 | Каркас | |
| 45 | 1101-21-110 | Крышка | |
| 45 | 1101-21-110-20 | Крышка | |
| 46 | 1101-21-111 | Крышка | |
| 46 | 1101-21-111-20 | Крышка | |
| 47 | 32 0260 | Штифт | |
| 48 | 0901-21-73 | Кожух | |
| 48 | 0901-21-73-20 | Кожух | |
| 49 | Болт M12-6gx20 | Болт M12-6gx20 | |
| 50 | 310225 | Шайба | |
| 50 | 310225-20 | Шайба |
Содержащиеся в справочниках-каталогах запасные части и детали не предлагаются к продаже, а носят исключительно информационный характер