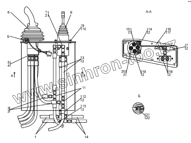
Каталог запасных частей к технике: Промтрактор Т-9.01Я. Пульт управления
0901-26-20-20СП(SP)
0901-26-20СП(SP)
1
1
2
2
2
2
2
2
2
2
2
2
2
3
3
3
4
5
5
6
6
7
7
7
8
9
10
11
11
12
12
13
13
14
14
14
15
15
16
16
17
18
18
19
19
20
20
21
22
| Позиция на иллюстрации | Заводской номер детали | Название детали | |
|---|---|---|---|
| 0901-26-20-20СП(SP) | 0901-26-20-20СП(SP) | Пульт управления | |
| 0901-26-20СП(SP) | 0901-26-20СП(SP) | Пульт управления | |
| 1 | 311102-26-517-04СП(SP) | Рукав | |
| 1 | 311102-26-517-04-20СП -20(SP) | Рукав | |
| 2 | Кольцо 008-010-14-2-3 | Кольцо 008-010-14-2-3 | |
| 3 | 311102-26-517-22-20СП -20(SP) | Рукав | |
| 3 | 311102-26-517-22СП(SP) | Рукав | |
| 4 | 0602-28-136 | Шайба специальная | |
| 5 | 0901-26-24-20 | Штуцер ввертной | |
| 5 | 0901-26-24 | Штуцер ввертной | |
| 6 | 1106-10-146-20СП(SP) | Блок управления | |
| 6 | 1106-10-146СП(SP) | Блок управления | |
| 7 | 311102-26-514-02СП(SP) | Угольник | |
| 7 | 311102-26-514-02-20СП -20(SP) | Угольник | |
| 8 | Клапан В-2ТН6L06-10/МО1 | Клапан В-2ТН6L06-10/МО1 | |
| 9 | Винт ВМ8-6х18 | Винт ВМ8-6х18 | |
| 10 | Шайба 8Т | Шайба 8Т | |
| 11 | 311102-26-509СП(SP) | Тройник | |
| 11 | 311102-26-509-20СП -20(SP) | Тройник | |
| 12 | 311102-26-517-40-20СП -20(SP) | Рукав | |
| 12 | 311102-26-517-40СП(SP) | Рукав | |
| 13 | 311102-26-517-14СП(SP) | Рукав | |
| 13 | 311102-26-517-14-20СП -20(SP) | Рукав | |
| 14 | 311102-26-517-01-20СП -20(SP) | Рукав | |
| 14 | 311102-26-517-01СП(SP) | Рукав | |
| 15 | 311102-26-517-39-20СП -20(SP) | Рукав | |
| 15 | 311102-26-517-39СП(SP) | Рукав | |
| 16 | 0901-24-60 | Основание | |
| 16 | 0901-24-60-20 | Основание | |
| 17 | Винт ВМ6-6х16 | Винт ВМ6-6х16 | |
| 18 | 311102-26-517-03-20СП -20(SP) | Рукав | |
| 18 | 311102-26-517-03СП(SP) | Рукав | |
| 19 | 311102-26-517-37-20СП -20(SP) | Рукав | |
| 19 | 311102-26-517-37СП(SP) | Рукав | |
| 20 | 311102-26-517-12СП(SP) | Рукав | |
| 20 | 311102-26-517-12-20СП -20(SP) | Рукав | |
| 21 | Винт ВМ6-6gх12 | Винт ВМ6-6gх12 | |
| 22 | Шайба 6Т | Шайба 6Т |
Содержащиеся в справочниках-каталогах запасные части и детали не предлагаются к продаже, а носят исключительно информационный характер