Каталог запасных частей к технике: Промтрактор Т-9.01Я. Оборудование бульдозерное полусферическое
010901-93-3-20СП-20(SP)
010901-93-3СП(SP)
1
1
2
3
3
3
3
4
4
4
4
4
5
5
5
5
5
6
7
7
7
8
8
8
9
9
10
11
11
11
11
12
12
13
13
14
14
15
16
16
17
17
18
19
19
20
20
21
21
22
22
23
24
25
25
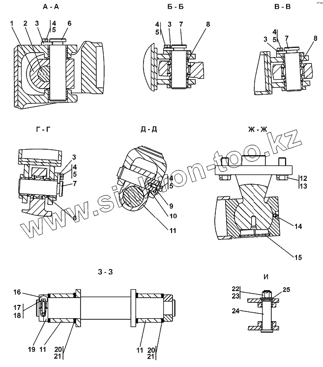
| Позиция на иллюстрации | Заводской номер детали | Название детали | |
|---|---|---|---|
| 010901-93-3-20СП-20(SP) | 010901-93-3-20СП-20(SP) | Оборудование бульдозерное полусферическое | |
| 010901-93-3СП(SP) | 010901-93-3СП(SP) | Оборудование бульдозерное полусферическое | |
| 1 | 211112-93-3-20 | Крестовина | |
| 1 | 211112-93-3 | Крестовина | |
| 2 | 211112-93-2 | Ось | |
| 3 | 011501-93-5 | Ригель | |
| 4 | Болт М12-6gх30 | Болт М12-6gх30 | |
| 5 | Шайба 12 ОТ | Шайба 12 ОТ | |
| 6 | 211112-93-1 | Палец | |
| 7 | 010901-93-12 | Палец | |
| 8 | 010901-93-17 | Кольцо дистанционное | |
| 9 | 010901-93-9 | Шайба | |
| 9 | 010901-93-9-20 | Шайба | |
| 10 | 010901-93-8 | Палец | |
| 11 | 010901-93-7-20 | Крестовина | |
| 11 | 010901-93-7 | Крестовина | |
| 12 | 28 0823-20 | Болт 3М24х2-6gх60 | |
| 12 | 28 0823 | Болт 3М24х2-6gх60 | |
| 13 | 31 5355-20 | Шайба | |
| 13 | 31 5355 | Шайба | |
| 14 | Масленка 1.2Кд6хр | Масленка 1.2Кд6хр | |
| 14 | Масленка 1.2Ц6хр | Масленка 1.2Ц6хр | |
| 15 | 010901-93-1 | Заглушка | |
| 16 | 010901-93-5-20 | Сухарь | |
| 16 | 010901-93-5 | Сухарь | |
| 17 | 28 0250 | Болт М10-6gх40 ГОСТ 7796-70 | |
| 17 | 28 0250-20 | Болт М10-6gх40 ГОСТ 7796-70 | |
| 18 | Шайба 10 ОТ | Шайба 10 ОТ | |
| 19 | 010901-93-6 | Сухарь | |
| 19 | 010901-93-6-20 | Сухарь | |
| 20 | 010901-93-14 | Прокладка | |
| 21 | 010901-93-14-01 | Прокладка | |
| 22 | 30 0335 | Гайка М20х1,5 | |
| 22 | 30 0335-20 | Гайка М20х1,5 | |
| 23 | Шплинт 3,2x25 | Шплинт 3,2x25 | |
| 24 | 0901-26-520 | Палец | |
| 25 | 010901-93-13-20 | Шайба | |
| 25 | 010901-93-13 | Шайба |
Содержащиеся в справочниках-каталогах запасные части и детали не предлагаются к продаже, а носят исключительно информационный характер