Каталог запасных частей к технике: Промтрактор Т-50.01. Установка трансмиссии
1
2
2
3
3
4
5
6
6
7
7
8
9
10
11
12
13
14
14
14
14
14
14
15
15
15
15
15
15
15
16
17
18
19
19
19
20
21
21
22
23
24
25
26
27
28
29
30
31
32
33
34
35
36
37
38
39
40
41
41
42
43
44
45
46
47
48
49
50
51
52
53
54
55
56
57
58
59
60
61
62
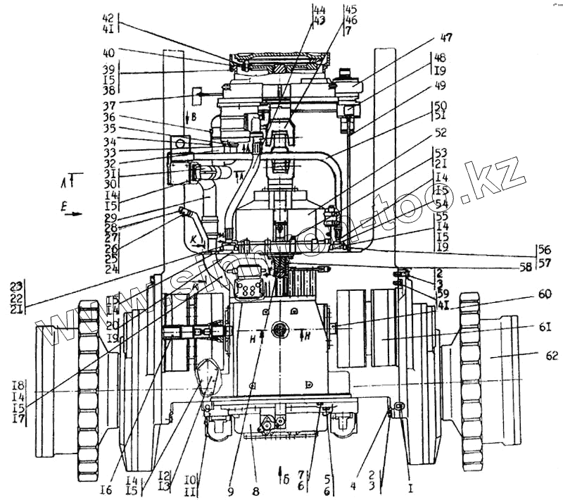
| Позиция на иллюстрации | Заводской номер детали | Название детали | |
|---|---|---|---|
| 5001-16-1СП | 5001-16-1СП | Установка трансмиссии | |
| 1 | 5001-16-34 | Штифт | |
| 2 | 280945-01 | Болт М30х2-6gх100.109.40Х019 ГОСТ 7796-70 | |
| 3 | Шайба 30.65Г.06 ГОСТ 6402-70 | Шайба 30.65Г.06 ГОСТ 6402-70 | |
| 4 | 5001-16-45 | Планка | |
| 5 | 280746 | Болт М20х1,5-6gх90.109.40Х019 ГОСТ 7796-70 | |
| 6 | Шайба 20.ОТ.65Г.019 ГОСТ 6402-70 | Шайба 20.ОТ.65Г.019 ГОСТ 6402-70 | |
| 7 | 280725 | Болт М20х1,5-6gх50.109.40Х.019 ГОСТ 7796-70 | |
| 8 | 5001-12-12СП | Трансмиссия | |
| 9 | 580673 | Кольцо С75 ГОСТ 13941-86 | |
| 10 | 700-40-5336 | Прокладка | |
| 11 | 46-15-138-ХЛ | Клапан ТУ 23.1.248-85 | |
| 12 | 2501-15-105СП | Крышка | |
| 13 | 450155 | Прокладка | |
| 14 | Болт М12-6gх40.40.88. 35.019 ГОСТ 7796-70 | Болт М12-6gх40.40.88. 35.019 ГОСТ 7796-70 | |
| 15 | Шайба 12.ОТ.65Г.019 ГОСТ 6402-70 | Шайба 12.ОТ.65Г.019 ГОСТ 6402-70 | |
| 16 | 5001-16-113СП | Торсион | |
| 17 | Кольцо 120-130-58-2-3 ГОСТ 18829-73 | Кольцо 120-130-58-2-3 ГОСТ 18829-73 | |
| 18 | 5001-16-119СП | Трубопровод | |
| 19 | Кольцо 050-055-30-2-3 ГОСТ 18829-73 | Кольцо 050-055-30-2-3 ГОСТ 18829-73 | |
| 20 | 5001-16-32 | Коллектор | |
| 21 | Шайба 16.ОТ.65Г.019 ГОСТ 6402-70 | Шайба 16.ОТ.65Г.019 ГОСТ 6402-70 | |
| 22 | 46-26-574 | Упор | |
| 23 | 46-26-280 | Фланец | |
| 24 | 310150 | Шайба 8.01.08кп.019 ГОСТ 11371-78 | |
| 25 | Гайка М8-7Н.6.019 ГОСТ 5915-70 | Гайка М8-7Н.6.019 ГОСТ 5915-70 | |
| 26 | 400324 | Пластина | |
| 27 | 2501-15-107 | Хомут | |
| 28 | 2501-15-124СП | Пробка | |
| 29 | 5001-16-121СП | Трубопровод | |
| 30 | Кольцо 100-110-58-2-ИРП1314-1 ГОСТ 18829-73/ТУ 38.005.204-84 | Кольцо 100-110-58-2-ИРП1314-1 ГОСТ 18829-73/ТУ 38.005.204-84 | |
| 31 | 5001-16-104СП | Фланец | |
| 32 | 5001-16-120СП | Трубопровод | |
| 33 | 461501-01 | Рукав | |
| 34 | 25-05-152СП | Хомут | |
| 35 | 415190-08СП | Хомут | |
| 36 | 700-46-2097 | Рукав | |
| 37 | 5001-16-109СП | Рукав | |
| 38 | 290326 | Шпилька М12х(1,75-3n)/(1,25-6g)х32.66.013 ГОСТ 22034-76 | |
| 39 | Гайка М12х1,25-6Н.6.019 ГОСТ 5915-70 | Гайка М12х1,25-6Н.6.019 ГОСТ 5915-70 | |
| 40 | 5001-20-32 | Муфта | |
| 41 | КС1,6 | Проволока ГОСТ 792-67 | |
| 42 | 281391 | Болт 3М12-6gх110.109.40Х.019 ГОСТ 7796-70 | |
| 43 | 042-050-46-2-51-1668 | Кольцо ГОСТ 18829-73/ТУ 38.005.204-84 | |
| 44 | 5001-16-115СП | Рукав | |
| 45 | 2601-49-4СП | Передача карданная | |
| 46 | 315317 | Шайба | |
| 47 | 5001-20-11СП | Редуктор привода насосов УХЛ | |
| 48 | 5001-16-106СП | Горловина | |
| 49 | 5001-16-109-01СП | Рукав | |
| 50 | 5001-16-114-01СП | Рукав | |
| 51 | 032-038-36-2-51-1668 | Кольцо ГОСТ 18829-73/ТУ 38.005.204-84 | |
| 52 | 5001-14-10СП | Гидротрансформатор | |
| 53 | 280575 | Болт М16х1,5-6gх120.109.40Х019 ГОСТ 7795-70 | |
| 54 | 2501-26-83 | Фланец | |
| 55 | 5001-16-31 | Коллектор | |
| 56 | 5001-20-9 | Штуцер | |
| 57 | Кольцо 025-030-30-2-3 ГОСТ 18829-73 | Кольцо 025-030-30-2-3 ГОСТ 18829-73 | |
| 58 | 5001-16-33 | Муфта | |
| 59 | 280731 | Болт 3М20х1,5-6gх60.109.40Х.019 ГОСТ 7796-70 | |
| 60 | 5001-16-113-01СП | Торсион | |
| 61 | 5001-18-10СП | Фрикцион бортовой и тормоз остановочный | |
| 62 | 5001-19-10СП | Передача бортовая |
Содержащиеся в справочниках-каталогах запасные части и детали не предлагаются к продаже, а носят исключительно информационный характер