Каталог запасных частей к технике: Промтрактор Т-50.01. Установка электрооборудования на раме
1
2
2
3
4
5
6
7
7
8
8
9
9
10
11
11
11
12
12
12
12
12
12
13
14
14
14
14
15
16
16
16
17
17
18
18
19
19
20
20
21
23
23
24
25
25
26
26
27
27
28
28
29
30
30
31
32
33
33
35
36
36
36
36
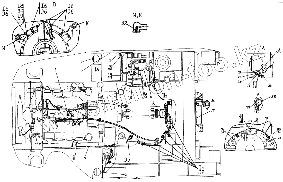
| Позиция на иллюстрации | Заводской номер детали | Название детали | |
|---|---|---|---|
| 5001-10-15СП | 5001-10-15СП | Установка электрооборудования на раме | |
| 5001-10-15-20СП | 5001-10-15-20СП | Установка электрооборудования на раме Т | |
| 1 | 5001-10-127СП | Провод 52 | |
| 2 | 700-40-6695 | Кольцо | |
| 3 | 5001-10-121СП | Провод | |
| 4 | 700-40-6684-04 | Прокладка | |
| 5 | 700-41-2866 | Хомут | |
| 6 | 5001-10-16СП | Электрооборудование двигателя | |
| 7 | 2501-10-119СП | Провод | |
| 7 | 2501-10-119-20СП | Провод | |
| 8 | 3131.3711010 | Фара ГОСТ 3544-75 | |
| 8 | 3131.3711010 | Фара ГОСТ 3544-75 | |
| 9 | 700-40-6884-07 | Прокладка | |
| 10 | 700-41-3310 | Хомутик | |
| 11 | 415119 | Хомутик | |
| 12 | 700-40-6684-06 | Прокладка | |
| 13 | 700-40-6662 | Чехол | |
| 14 | 415090 | Хомутик | |
| 15 | 5001-10-118СП | Жгут | |
| 16 | 415045 | Хомутик | |
| 17 | 5001-10-18СП | Электрооборудование топливного бака | |
| 17 | 5001-10-18-20СП | Электрооборудование топливного бака | |
| 18 | Болт М8-6gх16.88.35.019 ГОСТ 7796-70 | Болт М8-6gх16.88.35.019 ГОСТ 7796-70 | |
| 18 | Болт М8-6gх16.88.35.029 ГОСТ 7796-70 | Болт М8-6gх16.88.35.029 ГОСТ 7796-70 | |
| 19 | Шайба 8Т.65Г.019 ГОСТ 6402-70 | Шайба 8Т.65Г.019 ГОСТ 6402-70 | |
| 19 | Шайба 8Т.65Г.0221 ГОСТ 6402-70 | Шайба 8Т.65Г.0221 ГОСТ 6402-70 | |
| 20 | 310150 | Шайба 8.01.08кп.019 ГОСТ 11371-78 | |
| 20 | 310150-20 | Шайба 8.01.08кп.0221 ГОСТ 11371-78 | |
| 21 | 700-40-6018 | Опора | |
| 23 | 46-10-85 | Опора | |
| 23 | 46-10-85-20 | Опора | |
| 24 | Кольцо 14х12х4-6а ОСТ 38.05156-78 | Кольцо 14х12х4-6а ОСТ 38.05156-78 | |
| 25 | Гайка М12х 1,25-6Н.6.029 ГОСТ 5915-70 | Гайка М12х 1,25-6Н.6.029 ГОСТ 5915-70 | |
| 25 | Гайка М12х1,25-6Н.6.019 ГОСТ 5915-70 | Гайка М12х1,25-6Н.6.019 ГОСТ 5915-70 | |
| 26 | Шайба 12Т.65Г.019 ГОСТ 6402-70 | Шайба 12Т.65Г.019 ГОСТ 6402-70 | |
| 26 | Шайба 12Т.65Г.0221 ГОСТ 6402-70 | Шайба 12Т.65Г.0221 ГОСТ 6402-70 | |
| 27 | 310210-20 | Шайба 12х2.01.10.0221 ГОСТ 11371-78 | |
| 27 | 310210 | Шайба 12х2.01.10.019 ГОСТ 11371-78 | |
| 28 | 46-10-637СП | Провод | |
| 28 | 46-10-637-20СП | Провод | |
| 29 | 602602 | Колодка гнездовая ОСТ 37.003.032-88 | |
| 30 | Гайка М8-7Н.6.019 ГОСТ 5915-70 | Гайка М8-7Н.6.019 ГОСТ 5915-70 | |
| 30 | Гайка М8-7Н.6.029 ГОСТ 5915-70 | Гайка М8-7Н.6.029 ГОСТ 5915-70 | |
| 31 | 5001-10-122СП | Провод | |
| 32 | 700-40-5606 | Наконечник | |
| 33 | 700-40-5607 | Наконечник | |
| 34 | 5001-10-120СП | Жгут | |
| 35 | 5001-10-124СП | Жгут | |
| 36 | 700-40-6684-08 | Прокладка |
Содержащиеся в справочниках-каталогах запасные части и детали не предлагаются к продаже, а носят исключительно информационный характер