Каталог запасных частей к технике: Промтрактор Т-50.01. Трансмиссия
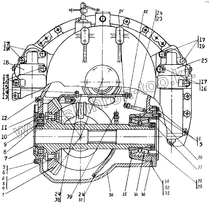
1
2
3
4
5
5
6
6
7
8
9
10
11
12
13
14
15
16
16
17
17
17
17
18
18
19
19
21
22
23
24
24
24
25
25
26
27
28
29
30
31
32
33
34
35
36
36
37
38
39
| Позиция на иллюстрации | Заводской номер детали | Название детали | |
|---|---|---|---|
| 5001-12-12СП | 5001-12-12СП | Трансмиссия | |
| 5001-12-12-20СП | 5001-12-12-20СП | Трансмиссия Т | |
| 1 | 5001-12-69 | Шестерня | |
| 2 | 300350-01 | Гайка М24х2-6Н.12.019 ГОСТ 15521-70 | |
| 3 | 315355 | Шайба | |
| 4 | 5001-12-82 | Болт специальный | |
| 5 | 280544 | Болт М16х1,5-6gх45.109.40Х019 ГОСТ 7796-70 | |
| 6 | 315271 | Шайба | |
| 7 | 5001-12-70 | Ступица | |
| 8 | 580814 | Кольцо | |
| 9 | 5001-12-108 | Подшипник | |
| 10 | 5001-12-84 | Стопор | |
| 11 | 5001-12-64 | Стакан | |
| 12 | 370250-08 | Пробка КГ 1/4" 40х.089 ОСТ 23.1.117-83 | |
| 13 | 285120 | Болт (476715722810) | |
| 14 | 415090 | Хомутик | |
| 15 | КС1,6 | Проволока ГОСТ 792-67 | |
| 16 | 281393 | Болт М12-6gх140.109.40Х.019 ГОСТ 7796-70 | |
| 16 | 281393-20 | Болт М12-6gх140.109.40Х029 ГОСТ 7795-70 | |
| 17 | Шайба 12.ОТ.65Г.019 ГОСТ 6402-70 | Шайба 12.ОТ.65Г.019 ГОСТ 6402-70 | |
| 17 | Шайба 12.ОТ.65Г.0221 ГОСТ 6402-70 | Шайба 12.ОТ.65Г.0221 ГОСТ 6402-70 | |
| 18 | Э46-15-10-01СП | Фильтр | |
| 18 | Э46-15-10-01-20СП | Фильтр | |
| 19 | Болт М12-6gх80.88.35.019 ГОСТ 7795-70 | Болт М12-6gх80.88.35.019 ГОСТ 7795-70 | |
| 19 | Болт М12-6gх80.88.35.029 ГОСТ 7795-70 | Болт М12-6gх80.88.35.029 ГОСТ 7795-70 | |
| 21 | 2501-12-123 | Штуцер (476719253105) | |
| 22 | 2501-12-124 | Угольник концевой (476719253204) | |
| 23 | 5001-12-113СП | Труба | |
| 24 | КС1 | Проволока ГОСТ 792-67 | |
| 25 | Э46-15-10СП | Фильтр | |
| 25 | Э46-15-10-20СП | Фильтр | |
| 26 | 5001-12-74 | Крышка | |
| 27 | 47-59-86 | Фиксатор | |
| 28 | 5001-12-77 | Гайка | |
| 29 | 5001-12-76 | Пластина | |
| 30 | 5001-12-75 | Втулка | |
| 31 | 5001-12-81 | Прокладка | |
| 32 | 5001-12-81-01 | Прокладка | |
| 33 | 5001-12-81-02 | Прокладка | |
| 34 | 97526М | Подшипник ГОСТ 6364-78 (462454510108) | |
| 35 | 5001-12-65 | Стакан | |
| 36 | 5001-12-60 | Корпус | |
| 36 | 5001-12-60-20 | Корпус | |
| 37 | 5001-12-111СП | Труба | |
| 38 | 5001-12-112СП | Труба | |
| 39 | 5001-12-83 | Угольник концевой |
Содержащиеся в справочниках-каталогах запасные части и детали не предлагаются к продаже, а носят исключительно информационный характер