Вернуться на главную
Поиск
Каталоги запчастей к технике
Спецтехника
Промтрактор
Т-50.01
Механизм сдавания
Каталог запасных частей к технике: Промтрактор Т-50.01. Механизм сдавания
zoom-in
zoom-out
enlarge
shrink
circle-right
circle-left
file-text2
info
cart
Тип техники
Не выбрано
Легковые автомобили
Грузовые автомобили и прицепы
Автобусы
Сельхозтехника
Спецтехника
Двигатели
Мототехника
Марка
Не выбрано
Ammann
BOMAG
CARMIX
CASE IH
Changlin
ChengGong
Dimex
Doosan
DYNAPAC
Foton
HAMM
Hidromek
Hitachi
Hyundai
JCB
JLG
John Deere
Komatsu
LIEBHERR
LiuGong
Lonking (LongGong)
Luneng
MANITOU
Mitsuber
New Holland
PENGPU
RM-Terex
SANY
SDLG
SEM
Shantui
Shehwa HBXG
Soosan
TIGARBO
VOGELE
Volvo
WAY
WIRTGEN
XCMG
XGMA
Xiamen
YTO
Yuchai
Zoomlion
Автокран
АЗСМ
Алтайлесмаш
Амкодор
АОМЗ
Атек
АТЗ
Балканкар Рекорд
БелАЗ
Беловеж
Борекс
Брянский Арсенал
Булат
ВЭКС
ГАЗ
Геомаш
Гидромаш
Донекс
Дормаш
Дормашина
Дорэлектромаш
ДЭЗ
ЕлАЗ
ЗЗГТ
Ижнефтемаш
Канаш-электрокар
КЗКТ
ККЗ
Клевер
Клинцовский автокрановый завод
КМЗ
КМЗ 1 Мая
Ковровец
Коммаш
Кранэкс
КЭЗ
КЭМЗ
ЛЗА
МАЗ
МЗИК
МЗКМ
МЗКТ
Михневский РМЗ
МоАЗ
Мозырский МЗ
МТЗ
ОЗП
Онежец
ПАО "ТЗА"
ППС Детва
Промтрактор
ПТЗ
Раскат
СпецАгрегат
ТВЭКС
ТТМ
УВЗ
Угличмаш
УЗТМ
ХТЗ
ЧЗКМ
ЧСДМ
ЧТЗ
ЭКСКО
ЭКСМАШ
ЮрМаш
Модель
Не выбрано
ПК-12.02 (2007)
ПК-12.02К (2007)
ПК-60.01 (2007)
Т-11.01К (2008)
Т-11.01Я
Т-11.02К (2008)
Т-11.02Я (2008)
Т-15.01К (2007)
Т-15.01Я (2000)
Т-15.02K (2009)
Т-15.02Я (2009)
Т-20.01К
Т-20.01Я (2000)
Т-20.01Я (2005) (2005)
Т-20.02К (Четра) (2009)
Т-20.02Я (Четра) (2009)
Т-25.01К1 (2008)
Т-25.01Я (2006)
Т-330 (2006)
Т-35.01К (2007)
Т-35.01Я
Т-40.01К (2008)
Т-50.01 (1998)
Т-500 (1999)
Т-9.01Я (2007)
ТГ-121Я (2004)
ТГ-221КМ (2006)
ТГ-221Я (2004)
ТГ-301К (2006)
ТГ-301Я (2004)
ТГ-302Я (2010)
ТГ-503К (2006)
ТГ-503Я (2006)
ТГ-511 (2008)
Шасси ТП-20.02 (2008)
Схема
>
Не выбрано
Кабина
Кабина
Кабина
Пол
Установка защиты кабины
Сиденье
Установка вентиляторов кабины
Вентилятор
Установка кожухов
Установка двигателя
Установка топливного бака
Система охлаждения двигателя и трансмиссии
Система охлаждения двигателя и трансмиссии
Блок радиаторов
Установка систем воздухоочистки и выпуска
Установка систем воздухоочистки и выпуска
Воздухоочиститель
Установка трансмиссии
Установка трансмиссии
Гидротрансформатор
Редуктор привода насосов
Коробка передач планетарная
Коробка передач с системой гидроуправления
Коробка передач с системой гидроуправления
Трансмиссия
Трансмиссия
Водило. Бустер
Передача карданная
Фрикцион бортовой и тормоз остановочный
Передача бортовая
Рама
Балка
Тележка
Тележка
Колесо натяжное
Каток опорный
Каток поддерживающий
Гусеница
Механизм сдавания
Управление трактором
Управление трактором
Электрооборудование
Установка электрооборудования на раме
Электрооборудование двигателя
Электрооборудование двигателя
Электрооборудование передней облицовки
Электрооборудование топливного бака
Электрооборудование топливного бака
Электрооборудование крыши кабины
Электрооборудование пола кабины
Электрооборудование пола кабины
Электрооборудование пола кабины
Установка фары
Блок выключателей
Блок выключателей
Блок выключателей
Щиток приборов
Установка гидросистемы
Установка гидросистемы
Установка гидроцилиндров
Установка гидроцилиндров
Гидроцилиндр
Распределитель секционный 5001-26-69СП
Распределитель секционный 5001-26-70СП
Устройство перепускное
Бак гидросистемы
Распределитель 3501-26-64СП
Распределитель 2701-26-40
Распределитель 2701-26-40
Гидросистема бульдозерного оборудования
Гидрозамок
Гидрораскос
Гидросистема рыхлительного оборудования
Гидросистема рыхлительного оборудования
Гидроцилиндр 46-98-510/46-98-510-01СП
Гидроцилиндр 46-98-511-01СП/46-98-511-02СП
Оборудование бульдозерное
Оборудование бульдозерное
Отвал
Раскос
Тяга поперечная
Оборудование рыхлительное
Оборудование рыхлительное
Механизм изменения вылета зуба
Зуб
Промышленный трактор Т-50.01
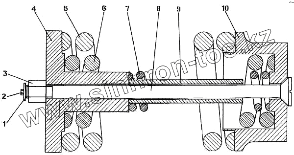
1
2
3
4
5
6
7
8
9
10
Позиция на иллюстрации
Заводской номер детали
Название детали
5001-21-83СП
5001-21-83СП
Фланец
1
5001-21-211
Шайба
2
Болт М12-6gх30.88.35.019 ГОСТ 7796-70
Болт М12-6gх30.88.35.019 ГОСТ 7796-70
3
300490
Гайка М4х3-6Н.12.40Х019 ГОСТ 15523-70
4
5001-21-83СП
Фланец
5
198-30-14110
Пружина
6
198-30-14120
Пружина
7
198-30-14130
Пружина
8
5001-21-210
Стяжка
9
5001-21-213
Труба
10
5001-21-84СП
Стакан
Содержащиеся в справочниках-каталогах запасные части и детали не предлагаются к продаже, а носят исключительно информационный характер
Дополнительная информация
×
Название:
Номер:
Примечание: