Каталог запасных частей к технике: Промтрактор Т-500. Системе охлаждения двигателя и трансмиссии
1
1
2
2
2
2
2
2
3
3
3
3
4
4
4
4
5
6
6
7
8
8
9
9
10
10
11
11
12
12
13
13
13
14
14
15
15
16
16
17
17
18
19
19
20
20
21
21
22
22
23
23
24
24
25
25
26
26
27
27
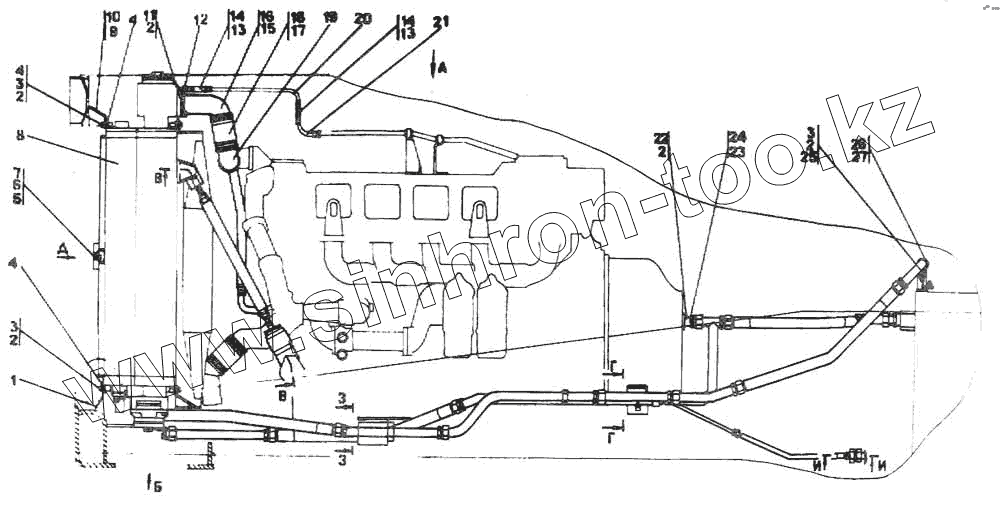
| Позиция на иллюстрации | Заводской номер детали | Название детали | |
|---|---|---|---|
| 404-60-7-20СП | 404-60-7-20СП | Система охлаждения двигателя и трансмиссии | |
| 404-60-7СП | 404-60-7СП | Система охлаждения двигателя и трансмиссии | |
| 1 | 2501-60-168-20 | Щиток | |
| 1 | 2501-60-168 | Щиток | |
| 2 | Шайба 12.0Т.65Г.019 ГОСТ 6402-70 | Шайба 12.0Т.65Г.019 ГОСТ 6402-70 | |
| 2 | Шайба 12.0Т.65Г.0221 ГОСТ 6402-70 | Шайба 12.0Т.65Г.0221 ГОСТ 6402-70 | |
| 3 | Болт М12х1,25-6gх30.88.35.019 ГОСТ 7796-70 | Болт М12х1,25-6gх30.88.35.019 ГОСТ 7796-70 | |
| 3 | Болт М12х1,25-6gх30.88.35.029 ГОСТ 7796-70 | Болт М12х1,25-6gх30.88.35.029 ГОСТ 7796-70 | |
| 4 | 46-11-476 | Шайба | |
| 4 | 46-11-476-20 | Шайба | |
| 5 | 310140 | Шайба 8.01.10.019 ГОСТ 6958-78 | |
| 6 | Шайба 8Т.65Г.019 ГОСТ 6402-70 | Шайба 8Т.65Г.019 ГОСТ 6402-70 | |
| 6 | Шайба 8Т.65Г.029 ГОСТ 6402-70 | Шайба 8Т.65Г.029 ГОСТ 6402-70 | |
| 7 | Болт М8-6gх30.30.88.35.019 ГОСТ 7796-70 | Болт М8-6gх30.30.88.35.019 ГОСТ 7796-70 | |
| 8 | 3501-60-107СП | Блок радиаторов | |
| 8 | 3501-60-107-20СП | Блок радиаторов | |
| 9 | 404-60-491-01 | Щиток | |
| 9 | 404-60-491-01-20 | Щиток | |
| 10 | 404-60-491 | Щиток | |
| 10 | 404-60-491-20 | Щиток | |
| 11 | 280348-20 | Болт М12х1,25-6gх35.88.45.029 ГОСТ 7796-70 | |
| 11 | 280348 | Болт М12х1,25-6gх35.88.45.019 ГОСТ 7796-70 | |
| 12 | 2501-60-214 | Штуцер | |
| 12 | 2501-60-214-20 | Штуцер | |
| 13 | 460501-01 | Рукав | |
| 13 | 460501-01-20 | Рукав | |
| 14 | Хомут стяжной червячный 1028-2-У-01-П04.435.001ТУ | Хомут стяжной червячный 1028-2-У-01-П04.435.001ТУ | |
| 15 | 450132-20 | Прокладка | |
| 15 | 450132 | Прокладка | |
| 16 | 404-60-346СП | Патрубок | |
| 16 | 404-60-346-20СП | Патрубок | |
| 17 | 461901-09 | Рукав | |
| 17 | 461901-09-20 | Рукав | |
| 18 | Хомут стяжной червячный 1115-2-У-01 П04.435.001ТУ | Хомут стяжной червячный 1115-2-У-01 П04.435.001ТУ | |
| 19 | 404-60-210СП | Трубопровод | |
| 19 | 404-60-210-20СП | Трубопровод | |
| 20 | 404-60-349СП | Трубопровод | |
| 20 | 404-60-349-20СП | Трубопровод | |
| 21 | 404-60-348-20СП | Трубопровод | |
| 21 | 404-60-348СП | Трубопровод | |
| 22 | Гайка М12х1,25-6Н.6.019 ГОСТ 5915-70 | Гайка М12х1,25-6Н.6.019 ГОСТ 5915-70 | |
| 22 | Гайка М12х1,25-6Н.6.029 ГОСТ 5915-70 | Гайка М12х1,25-6Н.6.029 ГОСТ 5915-70 | |
| 23 | 700-40-6618 | Прокладка | |
| 23 | 700-40-6618-20 | Прокладка | |
| 24 | 404-60-228СП | Патрубок | |
| 24 | 404-60-228-20СП | Патрубок | |
| 25 | 310210 | Шайба 12х2.01.10.019 ГОСТ 11371-78 | |
| 25 | 310210-20 | Шайба 12х2.01.10.0221 ГОСТ 11371-78 | |
| 26 | 404-60-202СП | Кронштейн | |
| 26 | 404-60-202-20СП | Кронштейн | |
| 27 | 404-60-234 | Прижим | |
| 27 | 404-60-234-20 | Прижим |
Содержащиеся в справочниках-каталогах запасные части и детали не предлагаются к продаже, а носят исключительно информационный характер