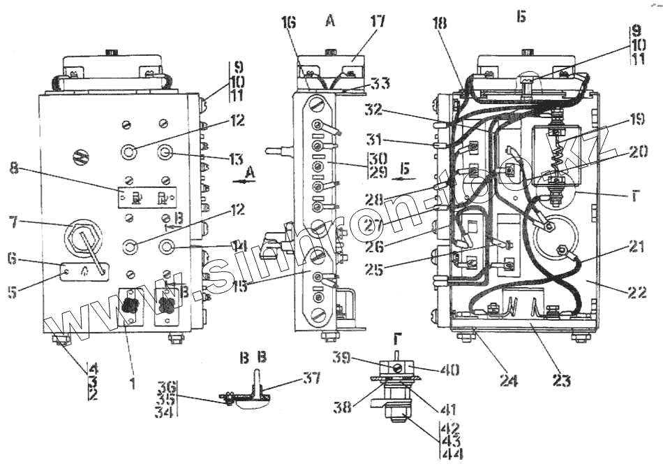
Каталог запасных частей к технике: Промтрактор Т-500. Щиток управления
1
2
3
4
5
6
7
7
8
9
9
10
10
11
11
12
12
12
13
13
14
14
15
15
16
16
17
17
18
19
20
21
22
23
23
24
25
26
27
28
29
30
30
31
32
33
34
35
36
37
38
39
40
41
42
43
44
| Позиция на иллюстрации | Заводской номер детали | Название детали | |
|---|---|---|---|
| 404-43-290СП | 404-43-290СП | Щиток управления | |
| 1 | 404-43-272 | Табличка | |
| 2 | Шайба 8Т.65Г.019 ГОСТ 6402-70 | Шайба 8Т.65Г.019 ГОСТ 6402-70 | |
| 3 | Гайка М8.7Н.6.019 ГОСТ 5915-70 | Гайка М8.7Н.6.019 ГОСТ 5915-70 | |
| 4 | Болт М8-6gх25.58.019 ГОСТ 7796-70 | Болт М8-6gх25.58.019 ГОСТ 7796-70 | |
| 5 | Заклепка 3х6.37 ГОСТ 10290-80 | Заклепка 3х6.37 ГОСТ 10290-80 | |
| 6 | 420071 | Табличка 40х20 ГОСТ 12971-67 | |
| 7 | ВК317-3710100-05 | Выключатель ТУ 37.003.698-75 | |
| 7 | ВК317-3710100-05 | Выключатель ТУ 37.005.698-75 | |
| 8 | 46-43-386 | Табличка 50х16 ГОСТ 12971-67 | |
| 9 | Винт ВМ5-6gх22.58.016 ГОСТ 17473-80 | Винт ВМ5-6gх22.58.016 ГОСТ 17473-80 | |
| 10 | Гайка М5.7Н.6.016 ГОСТ 5927-70 | Гайка М5.7Н.6.016 ГОСТ 5927-70 | |
| 11 | Шайба 5.65Г.019 ГОСТ 6402-70 | Шайба 5.65Г.019 ГОСТ 6402-70 | |
| 12 | Переключатель В-45М ТУ 16-526.016-73 | Переключатель В-45М ТУ 16-526.016-73 | |
| 12 | Переключатель В-45М ТУ 16-526.016-73 | Переключатель В-45М ТУ 16-526.016-73 | |
| 13 | Переключатель ВН-45М ТУ 16-526.016-73 | Переключатель ВН-45М ТУ 16-526.016-73 | |
| 13 | Переключатель ВН-45М ТУ 16.526.016-73 | Переключатель ВН-45М ТУ 16.526.016-73 | |
| 14 | Переключатель ППН-45 ТУ 16-526.016-73 | Переключатель ППН-45 ТУ 16-526.016-73 | |
| 14 | Переключатель ППН-45 ТУ 16-526.016-73 | Переключатель ППН-45 ТУ 16-526.016-73 | |
| 15 | ПС4-А2-Э | Панель соединительная ТУ 37.003.419-76 | |
| 15 | ПС4-А2 | Панель соединительная ТУ 37.003.419-76 | |
| 16 | 46-43-345 | Пластина | |
| 16 | 46-43-345-10 | Пластина | |
| 17 | 111.3722 | Блок предохранителей ТУ 37.003.754-76 | |
| 17 | 111.3722-Э | Блок предохранителей ТУ 37.003.754-76 | |
| 18 | 700-40-6695 | Кольцо | |
| 19 | 404-43-274 | Спираль контрольная | |
| 20 | 46-43-218-СП | Провод 331 | |
| 21 | 46-43-212-СП | Провод 325 | |
| 22 | 404-43-215СП | Панель | |
| 23 | 404-43-228СП | Панель | |
| 23 | 404-43-228-10СП | Панель | |
| 24 | 310150 | Шайба 8.01.08кп.019 ГОСТ 11371-78 | |
| 25 | 404-43-200СП | Провод 324 | |
| 26 | 46-43-219-СП | Провод 332 | |
| 27 | 46-43-216-СП | Провод 329 | |
| 28 | 46-43-215-СП | Провод 328 | |
| 29 | Панель соединительная 17.3723 000 ТУ 37.003.1358-88 | Панель соединительная 17.3723 000 ТУ 37.003.1358-88 | |
| 30 | ПС-5 | Панель соединительная ТУ 37.003.419-76 | |
| 30 | ПС5-Э | Панель соединительная экспортное исполнение ТУ 37.003.419-76 | |
| 31 | 46-43-213-СП | Провод 326 | |
| 32 | 404-43-219СП | Провод 333 | |
| 33 | 46-43-214-СП | Провод 327 | |
| 34 | Шайба 4.65Г.019 ГОСТ 6402-70 | Шайба 4.65Г.019 ГОСТ 6402-70 | |
| 35 | Гайка М4.7Н.6.016 ГОСТ 5927-70 | Гайка М4.7Н.6.016 ГОСТ 5927-70 | |
| 36 | Винт ВМ4-6gх10.58С.016 ГОСТ 17473-80 | Винт ВМ4-6gх10.58С.016 ГОСТ 17473-80 | |
| 37 | 700-40-6508 | Колпачок | |
| 38 | 700-40-6936 | Шайба изоляционная | |
| 39 | Винт ВМ4-6gх16.58С.016 ГОСТ 17473-80 | Винт ВМ4-6gх16.58С.016 ГОСТ 17473-80 | |
| 40 | 25.01-43-142 | Клемма | |
| 41 | 700-40-6937 | Шайба изоляционная | |
| 42 | Гайка М6.7Н.6.019 ГОСТ 5915-70 | Гайка М6.7Н.6.019 ГОСТ 5915-70 | |
| 43 | Шайба 6Т.65Г.019 ГОСТ 6402-70 | Шайба 6Т.65Г.019 ГОСТ 6402-70 | |
| 44 | 310110 | Шайба 6.01.08кп.019 ГОСТ 11371-78 |
Содержащиеся в справочниках-каталогах запасные части и детали не предлагаются к продаже, а носят исключительно информационный характер